ReCloud台湾Hinet国际优化版VPS方案:ReCloud台湾Hinet国际优化版,联通移动可拉,1000Mbps峰值带宽,2c2g ¥449.00CNY/月,4c4g ¥499.00CNY/月,老刘之前也有对该款套餐进行过性能测评:ReCloud台湾 | Hinet 1G款 4c4g 1000M国际优化版(联通移动可拉)VPS测评:*载下**速度、速度延迟、路由丢包、性能测评、流媒体解锁等,不过为了考察ReCloud商家有没有对这款VPS线路进行过调整,站长这里时隔近1年又入手了一台2c2g 1000M国际优化版(联通移动可拉)套餐进行了简单测评,机器仍为台湾原生IP VPS(台北机房),解锁奈菲/TikTokden流媒体。

ReCloud官网:https://oneprovide.net ,Recloud TG群连接:t.me/Recloud888
ReCloud台湾Hinet国际优化版套餐(台湾 | Hinet 1G款)方案:
|
2c2g 1000M国际优化版(联通移动可拉)本文测评机器 |
4c4g 1000M国际优化版(联通移动可拉) |
|
2 vCPU |
4 vCPU |
|
2048M DDR3 RAM |
4096M DDR3 RAM |
|
15GB RAID 5 |
10GB RAID 5 |
|
1000Mbps 峰值带宽 |
1000Mbps 峰值带宽 |
|
1 IPv4 |
1 IPv4 |
|
联系tg:@oneprovide 开通和补货 |
联系tg:@oneprovide 开通和补货 |
|
¥449.00CNY/月 |
¥499.00CNY/月 |
|
立即订购 |
立即订购 |
ReCloud台湾Hinet国际优化版VPS测评分析
CPU是Intel(R) Xeon(R) CPU E5-2696 v2 @ 2.50GHz,2c2g,IO磁盘在314.0 MB/s左右,解锁奈菲视频,数据比上一次测评结果更好!

再次通过FIO测试硬盘读写情况

102个节点的网络延迟情况,平均延迟118.7ms

VPS丢包率测试

BGP.HE.NET测试机器是台湾原生IP VPS,HINET-NET的IP

iperf3针对欧美的节点的数据测试

Speedtest.net国内外节点测试

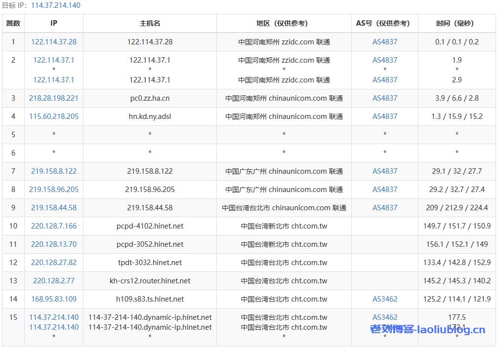
路由去程追踪测试
湖北十堰电信去程,走上海电信AS4134,再到台北电信AS4134,再到台北中华电信网

河南郑州联通去程,走广州联通AS4837,再到台北中华电信网

上海移动去程,走香港移动AS9808,再到台北中华电信网

路由回程追踪测试
三网回程路由,北京/上海/广州电信回程均走电信163,北京/上海/广州联通回程均走联通4837,北京/上海/广州移动回程均走移动CMI

回程具体路由信息
Traceroute to China, Guangzhou CT (TCP Mode, Max 30 Hop)
============================================================
traceroute to 113.108.209.1 (113.108.209.1), 30 hops max, 32 byte packets
1 *
2 10.231.230.6 0.37 ms * LAN Address
3 10.231.231.3 0.67 ms * LAN Address
4 *
5 168.95.83.62 4.31 ms AS3462 China, Taiwan, Taipei City, cht.com.tw
6 220.128.3.238 3.34 ms * China, Taiwan, cht.com.tw
7 220.128.26.5 2.21 ms * China, Taiwan, Taipei City, cht.com.tw
8 220.128.11.5 1.87 ms * China, Taiwan, cht.com.tw
9 220.128.6.125 94.47 ms * China, Taiwan, Taipei City, cht.com.tw
10 183.91.34.121 132.78 ms * China, Hong Kong, ChinaTelecom
11 202.97.95.173 31.80 ms AS4134 China, Guangdong, Guangzhou, ChinaTelecom
12 202.97.94.113 38.90 ms AS4134 China, Guangdong, Guangzhou, ChinaTelecom
13 *
14 113.96.5.70 75.41 ms AS4134 China, Guangdong, Guangzhou, ChinaTelecom
15 113.108.209.1 76.06 ms AS4134 China, Guangdong, Guangzhou, ChinaTelecom
Traceroute to China, Shanghai CT (TCP Mode, Max 30 Hop)
============================================================
traceroute to 180.153.28.5 (180.153.28.5), 30 hops max, 32 byte packets
1 *
2 10.231.230.6 0.40 ms * LAN Address
3 10.231.231.3 0.73 ms * LAN Address
4 *
5 168.95.82.62 10.98 ms AS3462 China, Taiwan, Taipei City, cht.com.tw
6 220.128.4.234 2.30 ms * China, Taiwan, cht.com.tw
7 220.128.24.181 3.48 ms * China, Taiwan, Taipei City, cht.com.tw
8 220.128.10.209 1.94 ms * China, Taiwan, Taipei City, cht.com.tw
9 220.128.6.253 3.82 ms * China, Taiwan, Taipei City, cht.com.tw
10 *
11 *
12 *
13 101.95.120.49 144.45 ms AS4812 China, Shanghai, ChinaTelecom
14 *
15 124.74.232.62 123.46 ms AS4811 China, Shanghai, ChinaTelecom
16 101.227.255.34 54.71 ms AS4812 China, Shanghai, ChinaTelecom
17 *
18 *
19 *
20 *
21 *
22 *
23 *
24 *
25 *
26 *
27 *
28 *
29 *
30 *
Traceroute to China, Beijing CT (TCP Mode, Max 30 Hop)
============================================================
traceroute to 180.149.128.9 (180.149.128.9), 30 hops max, 32 byte packets
1 *
2 10.231.230.6 0.39 ms * LAN Address
3 10.231.231.3 1.46 ms * LAN Address
4 *
5 168.95.82.58 5.16 ms AS3462 China, Taiwan, Taipei City, cht.com.tw
6 220.128.4.90 5.48 ms * China, Taiwan, cht.com.tw
7 220.128.24.101 4.57 ms * China, Taiwan, Taipei City, cht.com.tw
8 220.128.11.177 3.55 ms * China, Taiwan, Taipei City, cht.com.tw
9 220.128.6.125 2.61 ms * China, Taiwan, Taipei City, cht.com.tw
10 202.97.93.29 38.59 ms AS4134 China, Guangdong, Guangzhou, ChinaTelecom
11 *
12 *
13 *
14 36.110.246.142 66.57 ms AS23724 China, Beijing, ChinaTelecom
15 36.110.246.202 87.88 ms AS23724 China, Beijing, ChinaTelecom
16 *
17 *
18 *
19 *
20 *
21 *
22 *
23 *
24 *
25 *
26 *
27 *
28 *
29 *
30 *
Traceroute to China, Guangzhou CU (TCP Mode, Max 30 Hop)
============================================================
traceroute to 210.21.4.130 (210.21.4.130), 30 hops max, 32 byte packets
1 *
2 10.231.230.6 0.24 ms * LAN Address
3 10.231.231.3 0.72 ms * LAN Address
4 *
5 168.95.82.106 5.65 ms AS3462 China, Taiwan, Taipei City, cht.com.tw
6 220.128.3.234 2.21 ms * China, Taiwan, cht.com.tw
7 220.128.25.137 3.53 ms * China, Taiwan, Taipei City, cht.com.tw
8 220.128.11.189 2.85 ms * China, Taiwan, Taipei City, cht.com.tw
9 220.128.6.125 6.45 ms * China, Taiwan, Taipei City, cht.com.tw
10 219.158.44.61 134.30 ms AS4837 China, Guangdong, Guangzhou, ChinaUnicom
11 219.158.98.93 121.59 ms AS4837 China, Guangdong, Guangzhou, ChinaUnicom
12 219.158.24.125 118.04 ms AS4837 China, Guangdong, Guangzhou, ChinaUnicom
13 112.91.0.254 133.10 ms AS17816 China, Guangdong, Guangzhou, ChinaUnicom
14 120.80.170.250 124.57 ms AS17622 China, Guangdong, Guangzhou, ChinaUnicom
15 *
16 *
17 *
18 *
19 *
20 *
21 *
22 *
23 *
24 *
25 *
26 *
27 *
28 *
29 *
30 *
Traceroute to China, Shanghai CU (TCP Mode, Max 30 Hop)
============================================================
traceroute to 58.247.8.158 (58.247.8.158), 30 hops max, 32 byte packets
1 *
2 10.231.230.6 0.25 ms * LAN Address
3 10.231.231.3 0.59 ms * LAN Address
4 *
5 168.95.83.58 2.43 ms AS3462 China, Taiwan, Taipei City, cht.com.tw
6 220.128.4.238 6.73 ms * China, Taiwan, cht.com.tw
7 220.128.25.181 3.66 ms * China, Taiwan, Taipei City, cht.com.tw
8 220.128.10.33 3.18 ms * China, Taiwan, cht.com.tw
9 220.128.6.125 1.83 ms * China, Taiwan, Taipei City, cht.com.tw
10 219.158.44.61 104.23 ms AS4837 China, Guangdong, Guangzhou, ChinaUnicom
11 219.158.4.133 135.34 ms AS4837 China, Guangdong, Guangzhou, ChinaUnicom
12 *
13 *
14 58.247.221.178 160.92 ms AS17621 China, Shanghai, ChinaUnicom
15 139.226.228.46 140.73 ms AS17621 China, Shanghai, ChinaUnicom
16 58.247.8.153 147.22 ms AS17621 China, Shanghai, ChinaUnicom
17 *
18 *
19 *
20 *
21 *
22 *
23 *
24 *
25 *
26 *
27 *
28 *
29 *
30 *
Traceroute to China, Beijing CU (TCP Mode, Max 30 Hop)
============================================================
traceroute to 123.125.99.1 (123.125.99.1), 30 hops max, 32 byte packets
1 *
2 10.231.230.6 0.24 ms * LAN Address
3 10.231.231.3 1.25 ms * LAN Address
4 *
5 168.95.82.58 4.15 ms AS3462 China, Taiwan, Taipei City, cht.com.tw
6 220.128.4.234 3.45 ms * China, Taiwan, cht.com.tw
7 220.128.24.101 5.09 ms * China, Taiwan, Taipei City, cht.com.tw
8 220.128.10.5 3.74 ms * China, Taiwan, Taipei City, cht.com.tw
9 220.128.6.125 3.80 ms * China, Taiwan, Taipei City, cht.com.tw
10 *
11 219.158.113.142 117.10 ms AS4837 China, Shanghai, ChinaUnicom
12 219.158.113.101 147.51 ms AS4837 China, Shanghai, ChinaUnicom
13 219.158.6.197 156.02 ms AS4837 China, Beijing, ChinaUnicom
14 125.33.186.174 143.15 ms AS4808 China, Beijing, ChinaUnicom
15 219.232.11.206 155.60 ms AS4808 China, Beijing, ChinaUnicom
16 *
17 *
18 *
19 *
20 *
21 *
22 *
23 *
24 *
25 *
26 *
27 *
28 *
29 *
30 *
Traceroute to China, Guangzhou CM (TCP Mode, Max 30 Hop)
============================================================
traceroute to 120.196.212.25 (120.196.212.25), 30 hops max, 32 byte packets
1 *
2 10.231.230.6 0.22 ms * LAN Address
3 10.231.231.3 0.64 ms * LAN Address
4 *
5 168.95.83.110 7.43 ms AS3462 China, Taiwan, Taipei City, cht.com.tw
6 220.128.2.78 2.84 ms * China, Taiwan, cht.com.tw
7 220.128.1.41 4.15 ms * China, Taiwan, Taipei City, cht.com.tw
8 220.128.6.225 3.01 ms * China, Taiwan, cht.com.tw
9 211.22.33.237 26.77 ms AS3462 China, Hong Kong, cht.com.tw
10 *
11 *
12 221.183.55.74 35.07 ms AS9808 China, Guangdong, Guangzhou, ChinaMobile
13 221.183.25.122 31.08 ms AS9808 China, Guangdong, Guangzhou, ChinaMobile
14 221.183.68.146 32.25 ms AS9808 China, Guangdong, Guangzhou, ChinaMobile
15 111.24.14.149 34.69 ms AS9808 China, Guangdong, Guangzhou, ChinaMobile
16 111.24.5.210 38.79 ms AS9808 China, Guangdong, Guangzhou, ChinaMobile
17 183.235.226.17 37.95 ms AS56040 China, Guangdong, Guangzhou, ChinaMobile
18 211.139.180.106 36.88 ms AS56040 China, Guangdong, Guangzhou, ChinaMobile
19 211.136.203.6 37.88 ms AS56040 China, Guangdong, Guangzhou, ChinaMobile
20 *
21 *
22 *
23 120.196.212.25 35.41 ms AS56040 China, Guangdong, Guangzhou, ChinaMobile
Traceroute to China, Shanghai CM (TCP Mode, Max 30 Hop)
============================================================
traceroute to 221.183.55.22 (221.183.55.22), 30 hops max, 32 byte packets
1 *
2 10.231.230.6 0.27 ms * LAN Address
3 10.231.231.3 1.86 ms * LAN Address
4 *
5 168.95.83.110 3.23 ms AS3462 China, Taiwan, Taipei City, cht.com.tw
6 220.128.1.30 2.31 ms * China, Taiwan, Taipei City, cht.com.tw
7 220.128.1.13 2.86 ms * China, Taiwan, Taipei City, cht.com.tw
8 220.128.6.249 1.93 ms * China, Taiwan, cht.com.tw
9 *
10 *
11 223.120.22.110 51.05 ms AS58453 China, Shanghai, ChinaMobile
12 221.183.89.174 51.38 ms AS9808 China, Shanghai, ChinaMobile
13 *
14 *
15 *
16 *
17 *
18 *
19 *
20 *
21 *
22 *
23 *
24 *
25 *
26 *
27 *
28 *
29 *
30 *
Traceroute to China, Beijing CM (TCP Mode, Max 30 Hop)
============================================================
traceroute to 211.136.25.153 (211.136.25.153), 30 hops max, 32 byte packets
1 *
2 10.231.230.6 0.19 ms * LAN Address
3 10.231.231.3 0.65 ms * LAN Address
4 *
5 168.95.83.110 8.14 ms AS3462 China, Taiwan, Taipei City, cht.com.tw
6 220.128.2.62 8.20 ms * China, Taiwan, Taipei City, cht.com.tw
7 220.128.25.137 4.86 ms * China, Taiwan, Taipei City, cht.com.tw
8 220.128.11.177 2.53 ms * China, Taiwan, Taipei City, cht.com.tw
9 220.128.6.253 8.13 ms * China, Taiwan, Taipei City, cht.com.tw
10 *
11 *
12 223.120.3.202 52.25 ms AS58453 China, Shanghai, ChinaMobile
13 221.183.89.178 53.91 ms AS9808 China, Shanghai, ChinaMobile
14 *
15 *
16 *
17 *
18 211.136.67.106 71.47 ms AS56048 China, Beijing, ChinaMobile
19 *
20 211.136.63.66 72.48 ms AS56048 China, Beijing, ChinaMobile
21 211.136.95.226 71.62 ms AS56048 China, Beijing, ChinaMobile
22 *
23 *
24 211.136.25.153 72.30 ms AS56048 China, Beijing, ChinaMobile
Traceroute to China, Beijing Dr.Peng Network IDC Network (TCP Mode, Max 30 Hop)
============================================================
traceroute to 211.167.230.100 (211.167.230.100), 30 hops max, 32 byte packets
1 *
2 10.231.230.6 0.27 ms * LAN Address
3 10.231.231.3 2.14 ms * LAN Address
4 *
5 168.95.82.106 4.63 ms AS3462 China, Taiwan, Taipei City, cht.com.tw
6 220.128.1.2 3.00 ms * China, Taiwan, cht.com.tw
7 220.128.25.89 12.03 ms * China, Taiwan, Taipei City, cht.com.tw
8 220.128.11.33 5.41 ms * China, Taiwan, New Taipei City, cht.com.tw
9 220.128.6.125 5.85 ms * China, Taiwan, Taipei City, cht.com.tw
10 219.158.44.49 113.21 ms AS4837 China, Shanghai, ChinaUnicom
11 219.158.19.78 139.96 ms AS4837 China, Shanghai, ChinaUnicom
12 *
13 219.158.8.241 157.15 ms AS4837 China, Beijing, ChinaUnicom
14 *
15 202.106.192.94 153.19 ms AS4808 China, Beijing, ChinaUnicom
16 *
17 *
18 *
19 218.241.253.134 136.65 ms AS4808 China, Beijing, DRPENG
20 211.167.230.100 169.96 ms AS17964 China, Beijing, DRPENG
----------------------------------------------------------------------------------
流媒体解锁测试

TikTok流媒体解锁测试,支持解锁台湾区Tiktok
(114.37.*.*)
******************************************
Tiktok Region: 【TW】(可能为IDC IP)
******************************************
更多性能参数信息
