7.15日讯,近日国家矿山安全监察局山东局发布2022年第6批行政处罚信息公告,关于单县丰源实业有限公司处罚信息。

处罚依据:《煤矿安全培训规定》第四十七条第二项,《中华人民共和国矿山安全法实施条例》第五十四条,《中华人民共和国矿山安全法实施条例》第五十二条第二项,《中华人民共和国安全生产法》第九十九条第二项,《中华人民共和国安全生产法》第九十九条第三项,《中华人民共和国安全生产法》第一百零二条,《山东省安全生产条例》第七十六条第一款,《山东省煤矿冲击地压防治办法》第五十四条第二项。违法事实:矿井从事掘进工作的1名班组长未参加所在煤矿上级煤矿企业组织实施的班组长安全培训,不符合《煤矿安全培训规定》第三十五条第一款的规定,1306综放工作面轨道顺槽距切眼10m附近有3根π型钢梁与顶板之间的空隙未塞紧、背实;1306轨道顺槽距开口段10-17m棚梁变形严重,未进一步加强支护,不符合《煤矿安全规程》第一百零三条的规定,1301综放工作面第102#、77#、3#液压支架前柱初撑力分别为22.5MPa、0MPa、23.6MPa,第98#、97#、96#、78#液压支架后柱初撑力分别为16.8MPa、11.6MPa、0MPa、2.3MPa,不符合《1301综放工作面作业规程》中“液压支架初撑力不得小于24MPa”的规定。1301综放工作面轨道顺槽D导线点前20m处3条断层(落差分别为3.5m、3.2m、1.1m),断层前后10m范围内未设置顶板离层仪;M3和M4,M5和M6号顶板离层仪间距大于100m,不符合《1301综放工作面作业规程》中“断层前后10m范围内要安装一组顶板离层仪,两顺槽每隔100m安装一组顶板离层仪”的规定,1301综放工作面轨道顺槽D导线点外53.7m处非生产帮侧菱形网开裂,煤壁片帮严重,未及时维修,不符合《煤矿安全规程》第一百二十五条的规定,2022年6月21日现场检查时,1309补充轨道顺槽掘进工作面迎头右帮共有7个锚杆托盘不紧贴岩面,不符合《73上09轨道巷掘进工作面作业规程》中“锚杆托盘必须紧贴岩面”规定;1306轨道顺槽开门点处JSDB-30双速绞车使用直径为36mm的钢丝绳且缠绕2层以上。绞车卷筒边缘高出最外层钢丝绳的高度约为70mm,不到钢丝绳直径的2.5倍,不符合《煤矿安全规程》第四百一十九条第一项规定;1309补充轨道顺槽胶带输送机内侧未安设防护栏及警示牌,胶带输送机机尾防护栏未固定,未安设警示牌,不符合《煤矿安全规程》第三百七十四条第九项的规定。违反《中华人民共和国安全生产法》第三十六条第一款的规定。
现场检查时-600水仓图像监视传输信号中断,维护不及时,不符合《中华人民共和国安全生产法》第三十六条第二款的规定,1301综放工作面轨道顺槽超前支护范围内的应力在线监测子站显示屏幕损坏,不能正常读数;1301综放工作面轨道顺槽第129#应力在线监测系统传感器损坏,未及时维修更换,不符合《中华人民共和国安全生产法》第三十六条第二款的规定,1301综放工作面共有104个液压支架,均安装了电液控装置,工作面于2022年6月3日开始生产,2022年6月21日现场检查时发现工作面有60个液压支架的电液控装置存在部分不显示支架工作阻力数据、液压支架立柱行程,部分工作阻力数据显示错误等情况,不符合《煤矿安全规程》第四条第五款的规定,1306综放工作面(回撤)甲烷传感器(T1)2022年6月21-22日显示值为0.16%,瓦斯对照日报表记录该地点甲烷浓度为0,两者读数差大于允许误差,未在8小时内对该甲烷传感器进行调校,不符合《煤矿安全规程》第四百九十三条的规定。
煤矿未开展现开采的3煤层顶底板岩层物理力学参数测试工作,不符合《国家矿山安全监察局山东局 山东省能源局关于开展煤矿顶板管理专项整治的通知》(矿安鲁〔2022〕31号)“(二)地质保障和矿井支护设计方面”第“2”条的规定,1301综放工作面在用的sos微震监测系统拾震器在两顺槽各布置2个,均布置在停采线以内,不符合《1301综放工作面冲击危险性评价与防冲设计》中“回采段两顺槽内各布置1个,停采线外侧顺槽内各布置1个”的规定,一采区胶带暗斜井和-950m胶带大巷采用架空乘人装置运送人员,巷道中有两处突出部分距架空乘人装置吊椅中心不足0.7m,不符合《煤矿安全规程》第三百八十三条第二项的规定。
1306综放工作面轨道顺槽吊装作业现场,起吊锚索与起吊用具的连接采用将起吊锚索弯曲后用钢丝绳套与起吊用具连接的方式,不符合《1306综放工作面回撤作业规程》“起吊锚索与葫芦使用锁具与矿用圆环链连接”的要求,1309补充轨道顺槽胶带输送机机尾底皮带下浮煤多,磨底皮带,不符合《1309补充轨道顺槽掘进工作面作业规程》中“皮带底下不准有浮煤”的规定,1301综放工作面开采冲击地压煤层,轨道顺槽JD16点前50m(距工作面65m左右)过断层留有最大厚度1.5m,长20m左右的底煤,底煤没采取底板预卸压等专项治理措施,不符合《防治煤矿冲击地压细则》第二十九条的规定。
1301综放工作面2022年5月16日-30日在胶带顺槽距工作面300m以外进行了*破爆**断顶卸压,卸压后仅采用了微震监测一种效果检验方法,不符合《山东省煤矿冲击地压防治办法》第三十五条的规定。
处罚金额合计27万元,处罚日期2022年7月6日。

据公开信息显示:单县丰源实业有限公司注册地址为山东省菏泽市单县某镇,法人代表张某明,经营范围煤炭开采;煤炭销售;精煤加工;矿山机械配件加工(依法须经批准的项目,经相关部门批准后方可开展经营活动)。

据多方查证获悉,该企业动产抵押2处信息,其一登记编号37172019015060,抵押人 单县丰源实业有限公司 ,抵押权人 河北省金融租赁有限公司 ,所有权或使用权归属 单县丰源实业有限公司 ,债务人履行债务的期限2019-11-18至2022-11-18,被担保主债权数额8000万人民币,登记日期2019-10-28。其一登记编37172019015059,抵押人 单县丰源实业有限公司 ,抵押权人 河北省金融租赁有限公司 ,所有权或使用权归属 单县丰源实业有限公司 ,债务人履行债务的期限2019-11-18至2022-11-18,被担保主债权数额7000万人民币,登记日期2019-10-28。
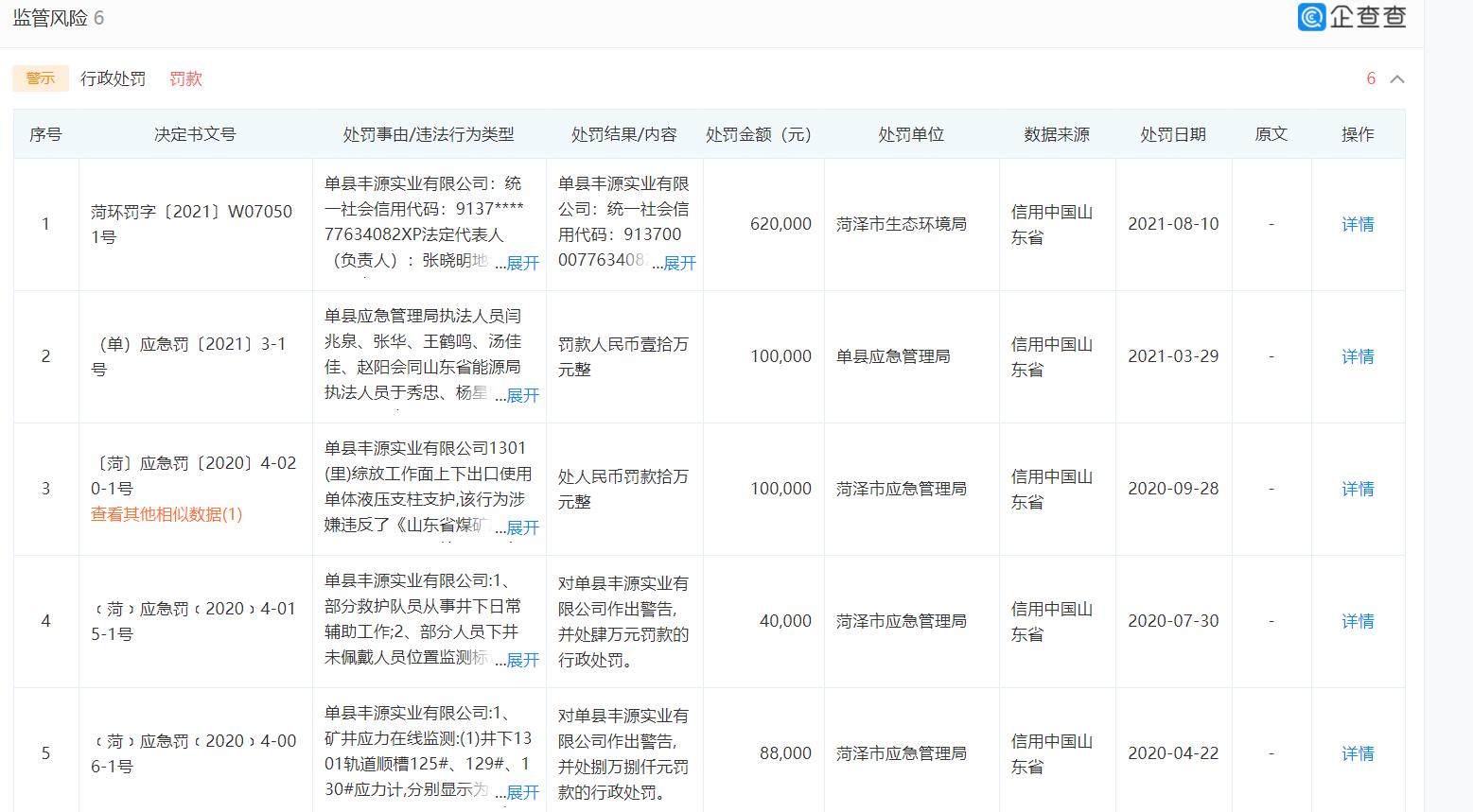
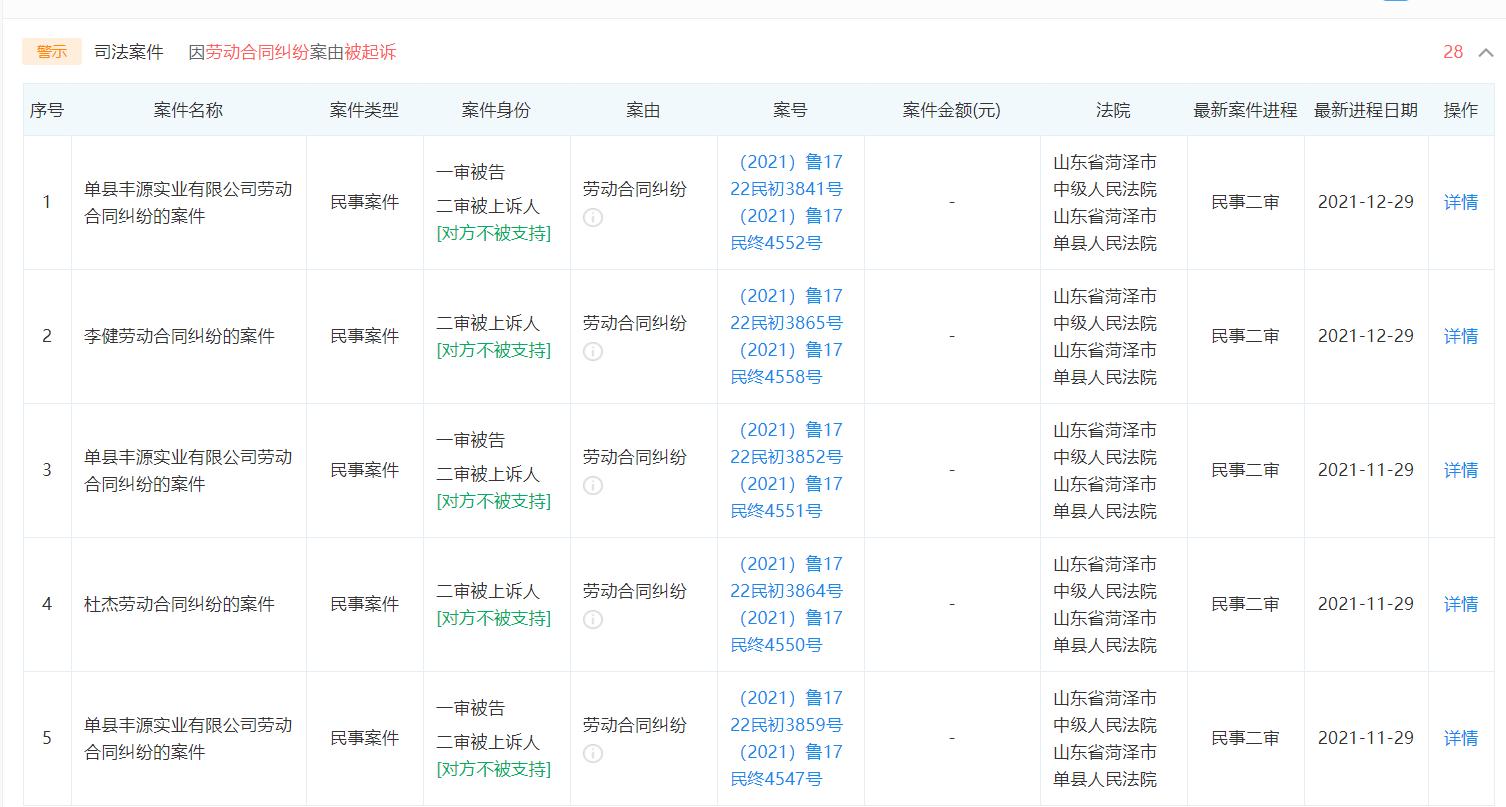
据官方显示,该企业行政处罚罚款信息6起,司法案件 因 劳动合同纠纷 案由 被起诉28起, 司法案件 因 劳动争议 案由 被起诉6起,司法案件因 提供劳务者受害责任纠纷 案由 被起诉1起, 司法案件 因 行政征收 案由 被起诉1起。




据敏感舆情报道,与该企业相关的舆情信息, 关联对象: 山东丰源远航煤业有限公司 (股东,持股:80.00%),新浪财经以标题为《 国家矿山安监局山东局:让资料“造假”煤矿企业无处遁形 》进行了报道,具体内容 近日,国家矿山安监局山东局在对山东丰源远航煤业公司进行安全监察时,通过抽丝剥茧,刨根问底,锁定证据,查实该企业提供虚假资料的违法行为,给予远航煤业公司警告,行政处罚10万元的罚款。
“请按照这个清单,提供你们企业2021年以来贯彻落实国务院安委会、国家矿山安监局有关文件和会议精神的资料,明天上午收齐。”3月18日下午,在将要结束一天的工作时,国家矿山安监局山东局监察人员对远航煤业公司的陪检人员说道。
腾讯报道的另一负面资讯,标题为《省厅通报11人“挂证”!撤销/拟撤销二级建造师注册、3年内不得再次申请!》

信息来源:国家矿山安监局山东局、企查查
声明:转载发布此文目的是传递更多信息,如若有来源标注错误或侵犯您的合法权益,请作者持有权属证明与本网联系,我们会第一时间处理、反馈、回复,谢谢。邮箱地址:newmedia@xycj.net