下图中橙色曲线是等比缩放的沪深300指数。

6年4倍策略
蓝色曲线 是一个择时策略的资金曲线。该策略对沪深300进行择时,即明确选择出针对大盘的买、卖时机。

策略信号
比如上图中,8月25至8月28日策略是 看涨 的,那此时就 买入 指数,同期指数上涨9.84%,获得相应收益(已扣除手续费)。
随后,8月31至9月8日策略 看跌 指数,此时就 卖出 指数。同期指数下跌0.97%,而策略因为 卖出避免了亏损 。
上述买卖信号都是策略 自动产生 的。如严格按策略操作,假设初始投入1元,扣除手续费,从2015年至今会变成3.90元。
即 6年翻4倍 , 年化收益 高达24.73%。总体表现还行,远远跑赢大盘。

那这个策略的原理是什么?看涨和看跌的信号是如何产生的?用到了哪些数据、数据又是如何获取的?本文将会就此进行详细讲解。

01 什么是北向资金?
这个策略是基于「北向资金」数据开发的 择时策略 。
关于北向资金有一定交易经验的朋友多少都会有所耳闻,这里做简单的说明。

北向资金图解
如上图所示,在香港的 港交所 ,投资者可以使用港币交易其上市股票;在大陆的 深交所 和 上交所 ,可以使用人民币交易在A股上市的股票。
从2014年起,A股和港交所开始尝试部分互通。 全世界投资者 可以用港币在港交所通过 沪股通及深股通 直接购买A股。
而因为上交所和深交所都 在香港的北边 ,所以这些来自香港的投资被形象的称为 北向资金 。
1 北向资金特征


北向资金交易限制
随着越来越多的北向资金正在购买A股,其成交额占A股总成交额的比例,已经稳定维持在 10% 以上, 影响力逐渐扩大 。

北向资金影响力日益扩大
2 北向资金数据获取
而对于我们量化投资者非常友好的是,在香港交易所官网上会每日披露北向资金的交易明细数据。

港交所公布每日北向数据
例如上图中,2021年6月18日当天北向资金总共买入291亿、卖出309亿,总成交额为600亿,净流入负18亿(291-309)。
我们收集了这些数据,每日实时更新。

有了这些数据过后,我们就可以对北向资金进行 深入研究 ,看看对投资是否有帮助。
3 北向资金的市场研究

如上图中研究展示的,北向资金单日净流入大于0的情况下,未来1、3、5日沪深300的平均涨跌幅都为正,同时上涨的概率也都大于50%。
千万不要小看这个数据,要知道在X场*家庄**的胜率可能也就只有51%+,但这已经能让他赚的盆满钵满了。

再看我去年发在PYQ的一张图:

上方的深色曲线, 代表北向为主的外资持股比例最高的100支A股等权重指数,它的涨幅远超代表剩余所有A股的下方浅色曲线。
4 学会抄北向作业
以上的初步研究,都很好的证明了北向资金作为整体的投资能力。
投资最幸福的事情,就是在这个市场上有个人一直对,你照着抄就可以。
虽然北向资金不是每次都赚钱,但的确是「聪明钱」,跟着买成功率较高。

做量化,就图一个懒字
当然,市场上也不止北向一个学霸,我们还有其它资金的作业可以抄:如公募基金、产业资金、国家队......
如果文章阅读数超过1000的话,之后会再讲一下如何抄其它资金的作业。

插个题外话。刚刚说了第一幸福的事,那么第二幸福的事是什么呢?聪明的朋友已经想到了:
有人一直错,那我反着抄就可以了。
他卖我买他买我卖。那么是哪股资金一直错呢?这说出来就有点伤人了,咱们之后再说,之后再说。
02 如何抄北向作业?
前面我们已经看到,北向资金有很强的择时和选股能力,那该如何通过北向资金来开发出文章开头的择时策略呢?

1 数据整理
首先获取北向资金数据(2014年11月17日至今):

再将数据再按照净流入从大到小排列,如下图:

将数据按净流入从大到小排序
可以看出最大的一天(2021.05.25)净流入247亿;最小的一天(2020.07.14)净流出150亿。
2 情绪划分
将排序后的数据平均分为三份:

划分市场情绪
如头部的509天(乐观情绪),北向资金一直净流入总体较大,可以认为市场情绪比较乐观。
中间的509天(中性情绪),北向资金净流入在2.95到20.41亿之间,没有明确的看好或看跌。
最后的509天(悲观情绪),数据显示北向资金大部分处于净流出的状态,可以认为这些天是比较悲观的。
3 策略构建
划分好市场情绪过后,再根据三等分数据的阈值( 2.95与20.41 ),构建我们的投资策略:

将沪深300作为投资对象,构建策略
每日收盘后计算当天北向资金的净流入值。再与阈值(20.41、2.95)比较,进行不同的选择:
①净流入值 ≥ 20.41亿(乐观情绪),则次日开盘买入沪深300的ETF。
②净流入值 ≤ 2.95亿(悲观情绪),次日开盘卖出沪深300的ETF。
③2.95亿 ≤ 净流入值 ≤ 20.41亿(中性情绪),次日开盘保持原有仓位不操作。
4 举例说明
举个例子来详细说明下。

比如2017年6月6日这天,净流入为21.26,大于阈值20.41,属于乐观情绪则次日买入。6月7日净流入仍大于20.41,但之前已经买过了,继续持有。
到了6月9日,属于中性情绪。我们不进行任何操作,即继续持有。
等到12日,北向资金净流入为负,小于阈值2.95。属于悲观情绪,则于次日卖出。
5 策略表现
那这个策略的表现到底如何?我们通过Python用数据和代码来验证。

代码运行结果
具体得到上图,代表策略的蓝色曲线远远跑赢了代表沪深300的橙色曲线。北向资金择时策略的确效果斐然。
但你以为到这里就结束了吗?

真正重要的硬核内容还没开始呢!
不知道敏感的小伙伴们有没有看出来,其实我们这个策略的设计存在一个错误。
03 正确抄作业操作
1 策略陷阱
这个错误主要是两个阈值(2.95、20.41)的选择造成的。

我们基于2014年至2021年整段的数据,计算出参数2.95、20.41,并在整个策略回测过程中使用。这就有问题了。
假设现在时间回到2018年,我们使用该参数进行策略交易。但仔细想想,在2018年我们是无法获得后续数据来计算出该参数的。
使用该参数就相当于开了上帝视角。我们在设计策略的时候不自觉的使用了未来函数。
未来函数:回测中使用了该时点无法得到的未来的数据。
未来函数就等于一个人带着现有的数据穿越回了过去。如果此时你还不能乱杀,就有点说不过去了。
2 新策略构建
那怎么修改策略才能避免使用未来函数呢?
在计算阈值的时候,我们只能使用过去的数据。
比如现在是2020年12月31日,此时计算阈值只能使用这一天之前的所有数据。
同样三等分后,得到和之前不同的阈值(2.33、18.88)。

同样的,我们可以得到在2018年、2016年、2015年随意选取的时间点的结果,如下图所示:



可以发现因为每一天都只使用截至当日的历史数据,所以每次得到的阈值都不同。
这就避免了未来函数的使用,这样开发出来的策略才是 可靠可信 的。
最后,重新修改我们的原策略:

完善后策略
每日收盘后,使用当日北向资金的最新数据和之前所有的历史数据,通过三等分的方法计算出每天的阈值a和b。其他步骤不变。
那么改进后的策略效果如何呢?我们用数据和代码来验证一下。

策略所需代码
我们可以发现,修正后策略所代表的橙色曲线 仍是大幅跑赢代表沪深300的 绿色曲线 ,且比使用了未来函数的 蓝色曲线 走势更好(这并不常见)。
在正确的策略中,净值从1涨到了3.9,6年大概翻了4倍;最大回撤20.35%,收益回撤比(年化收益/最大回撤)1.22。
只要收益回撤比大于1,就是值得进一步研究的策略。你也可以拿到代码和数据后进一步优化,形成自己的策略。
04 策略查看方法
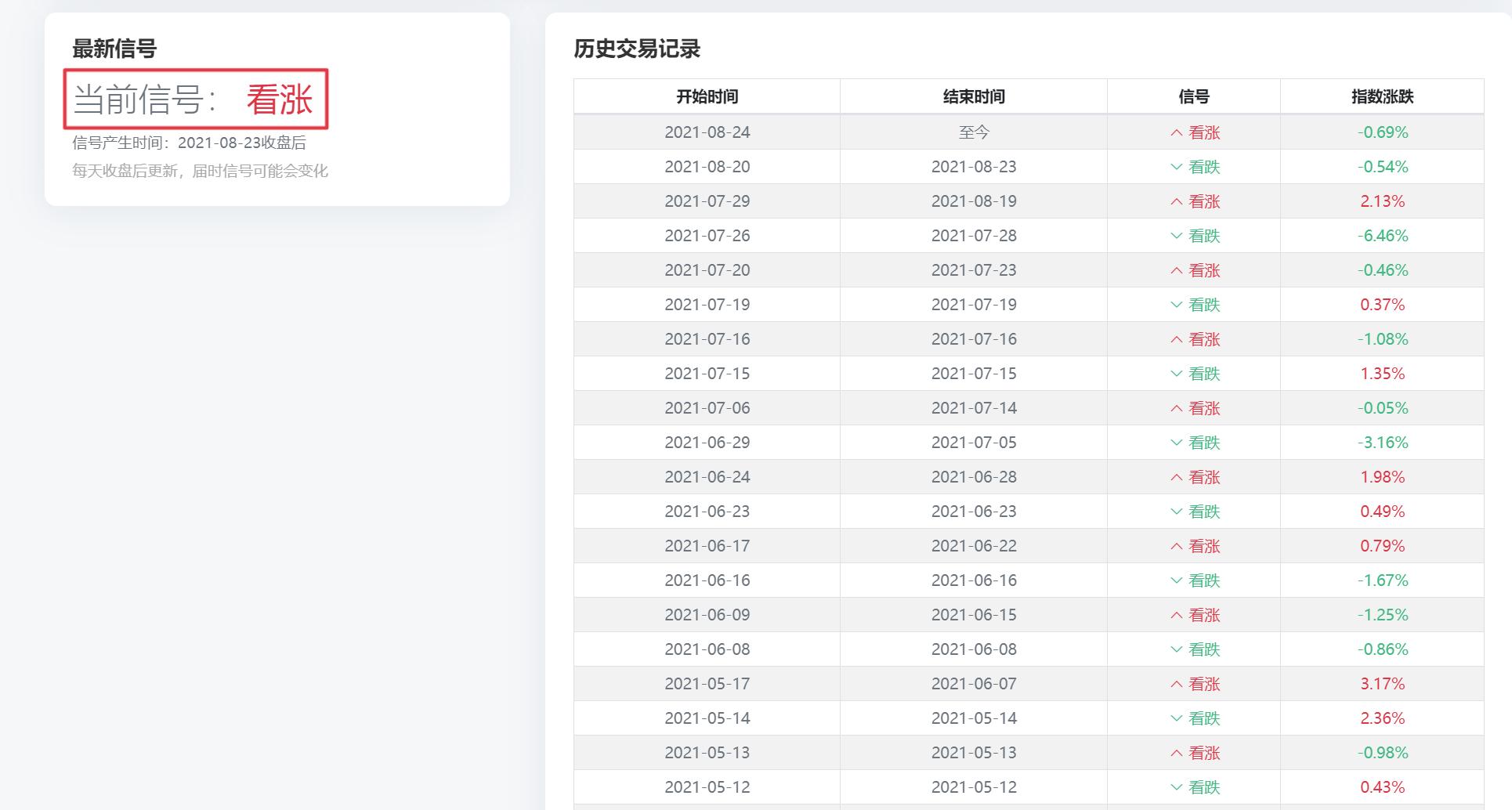
我们也上线了上述的北向资金择时策略以便查阅。

页面左侧是实时更新的资金曲线,且每日资金曲线数据的完整Excel也可供*载下**。
页面最下方是2015年至今每笔交易的详细历史记录。如果想要完全熟悉策略,强烈推荐你对照着行情软件揣摩每一笔交易。

策略历史信号
另外页面也展示了策略及同期大盘每年的收益对比。

策略历年收益
我们可以发现这个策略并不是每年都赚钱。
2017年的时候它并没有跑赢大盘,当年沪深300涨了22%,这个策略却只涨了16%。
所以说, 量化交易策略从来不是稳赚不赔的。

策略风险分析
再看上图的策略风险分析,它不仅可以给出最大回撤、胜率,还包括最大连续看错(8次)/看对(9次)次数等。
这个数据更多的告诉我们策略是有风险的,量化投资是追求大概率上的胜率。
归根结底一句话,我们用数据说话。