安装工程的基本要求:
1、工程必须安全、适用、美观
(1)各项技术指标均符合或严于国家标准、规范、规程和“工程建设标准强制性条文”的要求。
(2)安装工程设计先进合理,功能齐全,满足使用要求。
(3)设备安装规范,安全可靠,管线布置合理美观,系统运行正常。
(4)工程资料内容齐全、真实有效、具有可追溯性、编目规范查找方便。
从行业角度来看,主要有以下几个方面的问题:
1、安装专业人员缺乏,安装人员整体素质不高;
2、缺少系统性、持续性培训;
3、操作人员责任性不强;
4、市场上材料、设备本身的质量问题;
5、施工人员对规范理解的偏差,主观愿望与实际施工存在差异。
安装质量控制要点及通病的防治:
1)屋面通气管安装的质量控制要点:
通气管不得与风道或烟道连接不上人屋面,通气管应高出屋面300mm,但必须大于最大积雪厚度。
在经常有人停留的平屋顶上,通气管应高出屋面2m,装有支架确保稳定牢固,如为金属制成的通气管及支架应设置防雷装置。
如通气管出口4m 以内有门、窗时,通气管应高出门、窗顶600mm ,应尽量将通气管设置在建筑物无门、窗一侧。
屋面排气孔、透气管可考虑采用新颖别致的造型,艺术化加工,在满足使用功能前提下,增加美感。
上人屋面,通气管应高出成品地面2m,高度统一间距均匀。套管要求高出成品屋面800mm(注:起到保护通气管及不安装支架要求)。


2)屋面落水口
屋面雨水立管根部水处理有条件尽量做到精细化,如在排出口部位设置成簸箕形状。
屋面外露竖向落水管每节不少于一个管卡,且安装牢固;落水管内径应不小于75mm,距墙应不小于20mm,排水口距水簸箕宜为150-200mm;管卡应设在靠近水落管接头处、弯头处。
水簸箕可以采用石材边角料加工制作;也可以按照传统做法采用砂浆制品。

3)套管的设置
套管间隙均匀,穿楼板套管上端应高出地面20mm,厨房及厕浴间套管应高出地面50mm,下端与楼板面平;穿墙套管两端与墙饰面平。
管道穿过建筑物的变形缝时,应采取抗变形措施。管道穿过墙壁和楼板,应设置金属套管。安装在楼板内的套管,其顶部高出装饰地面20mm;安装在卫生间及厨房内的套管,其顶部应高出装饰地面50mm,底部应与楼板底面相平;安装在墙壁内的套管其两端与饰面相平。穿过楼板的套管与管道之间缝隙宜用阻燃密实材料填实,且端面应光滑。管道的接口不得设在套管内。暖通南社

管道穿楼板安装示例:

管道穿墙套管实例图:

管道穿楼板根部处理示例:

4)管道连接
管道螺纹连接
套丝采用自动套丝机,套丝机使用前应用润滑油润滑,加工次数为2~4次不等:管径DN15~32mm,套2次;管径DN40~50mm,套3次;管径DN70mm以上,套3~4次。套丝完成后管丝扣应采用标准丝扣规范检验。丝扣连接的密封填料应均匀附着在管道的螺纹部分;拧紧螺纹时,不得将填料挤入管道内;连接后,应将连接处外部清理干净。
螺纹连接的管道,螺纹应清洁、规整;接口处无外填料;镀锌管道的镀锌层应注意保护,对局部的破损处,应做防腐处理。

5)管道沟槽连接
沟槽式卡箍管件安装前,检查卡箍的规格和胶圈的规格标识是否一致,不得采用含有石棉的胶圈;检查被连接的管道端部,不允许有裂纹、轴向皱纹和毛刺,以保证安装质量;安装胶圈前,还应除去管端密封处的泥沙和污物;沟槽件边缘150~300mm范围内应设置支吊架。
沟槽配件连接的管道,应采用专用滚槽机和开孔机加工,并做防腐处理;连接前应检查沟槽和孔洞尺寸,加工质量应符合技术要求;沟槽、孔洞处不得有毛刺、破损性裂纹和脏物。沟槽式管件的凸边应卡进沟槽后再紧固螺栓,两边应同时紧固,紧固时发现橡胶圈起皱应更换新橡胶圈。
管道沟槽连接示例:


管道支架设置示例:


沟槽式(卡箍、卡套式)管道支架正确设置示例:在相邻两个接口间设置支架架。避免沟槽式配件卡箍连接处受力。

管架的构造应正确,不得做成使管子固定为侧抱或倒抱型式;不得做成角钢或槽钢内侧朝上的型式。

正确的管道支架安装示例:

支吊架制作时,严禁用电气焊切割,如需要电气焊切割时,必须用手砂轮机把毛刺焊瘤清理干净。
6)消防水力警铃的安装
水力警铃应安装在公共通道或值班室附近的外墙上,且应安装检修、测试用的阀门。水力警铃和报警的连接应采用的镀锌钢管,当镀锌钢管的公称直径为15mm时,其长度不应大于6m;当镀锌钢管的公称直径为20mm时,其长度不应大于20m,而且安装后的水力警铃启动压力不应小于0.05Mpa。

7)管道综合布置
各类管道综合布置经过精心策划,分层排列布置、层次分明,排列整齐。走廊吊顶内各类管道应暗管明做,管件连接处处理细致;支吊架形式一致,设置合理,喷淋管道安装应接口严密,横平竖直,支架牢固。在同一区域的管道应综合布置,合理交错。
管道综合布置安装示例:

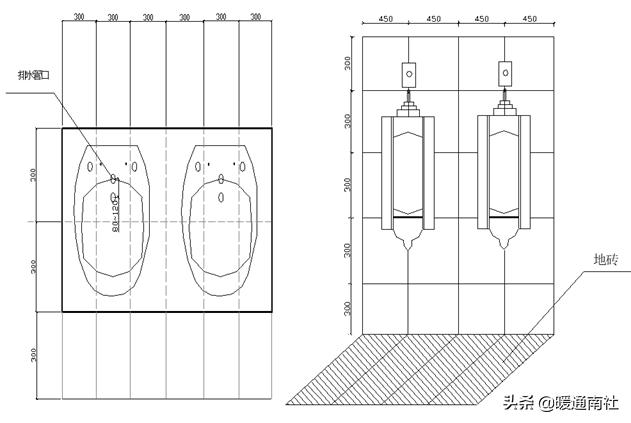
8)卫生器具安装
卫生间是给排水专业检查的重点,各类管线的末端大部分集中在此处,管线和卫生洁具安装时需与土建装修配合,做好机电与土建装修布置详图。
卫生器具安装应遵循“居中”、“对称”、“成线”、“协调”的八字方针。
卫生器具排布示意图:

台盆及挂式小便器排布示意图:

卫生器具:洁具居中布置,关键要与装饰风格融合,整体美观、大方、实用。
洗脸盆:洗手间台面安装正确,标高800mm,台盆间距合理,水嘴位置准确,落水式弯头排列整齐,标高一致。
浴盆:有饰面的浴盆应在排水连接处设置检修门便于维修,检修门的下沿应与卫生间完成地面一平,带有裙板的浴盆,裙板应能拆卸。下沿与卫生间完成地面应有一定排水间隙。
卫生器具布置实例图(器具布置整齐具中美观):


9)地漏安装
地漏的安装应平正、牢固,低于排水表面,周边无渗漏,地漏水封高度不得小于50mm。
地漏布局及放坡:地漏的安装要配合土建装修,与地面砖一起设计,地漏可设计在一块地砖中心或地砖缝处,地漏形状根据整体布局设计,美观实用;卫生间必须有放坡(土建施工,利于排水),地漏500mm内设计放坡,更有利于局部排水。暖通南社
地漏留在地砖的中心部位时,镶贴瓷砖时将瓷砖一分为四,向地漏找坡,要做到对称,地漏边缘与瓷砖之间要密实光滑,周边无渗漏。如地砖规格过大,可在地漏位置设置过渡装饰材料。


10)室内消火栓安装
箱式消火栓的安装栓口应朝外,并不应安装在门轴侧;栓口中心距地面1.1m,允许偏差±20mm,栓口出水方向宜向下或与设置消火栓的墙面相垂直;阀门中心距箱侧面140mm,距箱后内表面为100mm,允许偏差±5mm;阀门中心箱体安装的垂直允许偏差为3mm;消防水龙带应折好放在挂架上或卷实、盘紧放在箱内,消防水枪要竖放在箱体内侧,自救式水枪和软管应放在挂卡上或放在箱底部。消防水带接头采用内外两道卡箍紧固,安全可靠。消火栓箱面板根据装饰效果设计,使用效果好,观感效果强。


11)消防喷头安装
⑴喷头的两翼方向应成排统一安装,护口盘要贴紧吊顶,走廊单排的喷头两翼应横向安装;安装喷头应使用特制专用扳手(灯叉型), 填料宜采用聚四氟乙烯带,防止损坏和污染吊顶;水幕喷头安装应注意朝向被保护对象,在同一配水支管上应安装相同口径的水幕喷头。
⑵当喷头溅水盘高于附近梁底或高于宽度小于1.2m的通风管道腹面时,喷头溅水盘高于梁底、通风管道腹面的最大垂直距离应符合规范的规定。
喷淋头安装示例图:

地下室喷淋头安装示例:

12)管道井管道安装
管井内各类管道集中,施工前应先对各类管道进行综合排布。穿楼板洞封堵严密,套管高度一致,管道位于套管中心,套管内封堵采用柔性防火材料进行封堵。管道系统、流向等标识设置齐全。
1)管井管道沿墙整齐排列,以管道保温最终外形尺寸为依据,保持管道间距均匀;距墙距离以管道外缘为准,但应考虑空调冷冻水管道支架处绝热垫木的尺寸。
2)管道支架布置合理,优先采用共用支架。
3)同规格管道支架形式、标高应统一。
4)管道间距合理,管道之间的距离要有足够的维护空间,并留出保温距离。
管道井安装示例:

13)管道标识的做法
管道油漆应完整、均匀、光亮,保冷层牢固平顺严密,标识应清晰醒目。管道标识喷涂或粘贴要牢固、清晰,喷涂无流坠,粘贴无翘边。
标识应有“流向”、“介质”、“编号”等标示。
管道标识做法示例:


14)管线综合布置要点
依靠计算机辅助制图手段,在施工前模拟管线排布情况,根据所施工的图纸在计算机上进行图纸“预装配”,可应用三维BIM软件进行模拟施工,能直观的反映出设计图纸上的问题,尤其是在施工中各专业之间设备管线的位置冲突和标高重叠。通过该技术的使用,可以更合理的对管线进行布置,设定各类管线的相互关系、交叉节点的结构形式、从而找出最理想的管线布置方式,统一设置合理美观的综合支吊架。
1)成排管道安装应尽量采取共用支吊架。不同专业的管线应尽量设置综合支吊架。吊架与吊架的间距应满足最小管道的要求。吊架排列整齐,吊杆垂直固定牢固美观。
2)异形结构的管线设计:在满足使用功能的前提下,管线随建筑物形状而定,增强观感效果。
3)管道安装质量:重点检查管道坡度的设置、管件连接处安装质量、焊接质量、管道支架形式及间距、管道保温层的外形、严密性等。

地下室管线综合布置示例:

15)地下室机房安装要点
地下室是安装工程最集中的地方,机房、设备、管线错综复杂,是建筑物使用功能的心脏部位。
冷冻机房、生活水泵房、消防泵房、风机房等总体布局合理,管线安装横平竖直,支架安装牢固可靠,间距合理;设备安装布置整齐,标高一致,法兰、阀门安装正确。设备运行正常。
设备基础垫铁安装符合规范要求,设备基础、支架底座根部进行细部处理、设置排水措施同类阀门、管件、支架安装标高一致,整齐美观。
水泵基础安装示例:


水泵电机基础安装示例:

泵房正确安装示例:

消防泵周圈设置半圆形排水沟,形成有组织排水。
精品机房安装示例:

电气工程:
执行标准:
《建筑施工质量验收统一标准》(GB50300)
《建筑电气工程施工质量验收规范》(GB50303)
《建筑工程施工质量评价标准》(GB/T50375)
配电箱安装:
1、箱、盒安装高度应按设计要求,如设计无规定应按规范施工。
2、箱、盒、柜的配管必须垂直进入,选用合适的敲落孔,必须采用机械开孔。
3、直径在50mm以下钢管进箱、盒,管口内外必须采用锁紧螺母拧紧,丝扣露出3~5mm,管口应光滑平整无毛刺。KBG管进盒应采用专用接头。
4、配电箱电线、缆进、出口必须放火封堵。
5、箱盒内必须清理干净,应无垃圾、灰尘,锈蚀须进行防腐处理,最好用银粉漆做面漆。
6、箱、合必须做良好的接地。
配电箱安装示例:

配电柜底部防火封堵示例:

配电箱内接线示例:


桥架、母线安装:
1、总体布置合理,安装牢固,走向正确,水平垂直符合要求。
2、母线外壳和金属桥架及其支架必须可靠接地。
3、非镀锌桥架连接处跨接地线不应小于4mm2铜芯线,跨接线应接触良好。
4、镀锌桥架连接处可不跨接地线,固定螺栓应镀锌完好,防松垫片、平垫片齐全且应拧紧。
5、穿越伸缩缝和直线段桥架长度超过30m时,应加装伸缩节。
6、桥架的水平支架间距为1.5-2m,垂直安装的支架间距不大于2m。
7、桥架过墙或过楼板应加套管并有防火封堵措施。
桥架接地跨接应跨在2个接地螺栓孔之间,而不是跨在连接板上。

桥架接地跨接示例:


桥架过伸缩缝做法:

电气井内安装质量控制要点:
电气井内母线、电缆桥架安装规范、整洁;
穿墙穿楼板处防火封堵严密;接地跨接规范、牢固、标识清晰正确;
电缆敷设排列整齐,固定点间距均匀,绑扎牢固,标志牌齐全。
电气井内安装示例:

电缆敷设示例:



常见电气井内安装问题:

开关盒、灯头盒、安装:
过路箱、盒宜采用共用盒,明敷管不宜采用暗装的箱、盒。
箱、盒安装高度应按设计,如设计无规定应按规范施工。
箱、盒、的配管必须垂直进入,选用合适的敲落孔,必须采用机械开孔。
箱盒内必须清理干净,应无垃圾、灰尘,锈蚀须进行防腐处理,最好用银粉漆做面漆。
明敷时接线盒应为明装接线盒,不能使用普通86型、DH75等暗装接线盒:

照明灯具安装:
1、灯具安装位置应尽量和烟感、喷头统一布置,做到居中、对称、成排、成线,整齐美观,安装牢固。
2、大于3kg的灯具和镇流器不应装在吊顶的龙骨上。
3、低于2.4m的灯具外壳必须接地。
4、金属软管应接地,长度不能大于1.2m。软管进灯盒应用连接头安装固定,导线不能外露。

室内灯具安装示例:

室内吊顶元器件安装示例:

走廊吊顶安装常见问题:

风管的安装:
1、风管材质、防火、防腐板材的厚度、风管强度、风管法兰垫片应符合设计要求。
2、风管内严禁其它管线穿越;室外立管的固定拉索严禁拉在避雷针或避雷网上。
3、风管安装的位置、标高、走向、坡度应正确。明装风管水平度和垂直度偏差≯20mm。暗装风管的位置应无明显偏差。连接应平直、严密、牢固且不得缩小其有效截面;柔性短管(排烟用不燃材料)松紧适度,无明显扭曲;可伸缩金属或软风管长度≯2m,并不应有死弯或塌凹;风管与混凝土风道的连接应顺着气流方向插入,并应采取密封措施。
4、风管部件安装:风管部件安装位置、方向、连接、吊架应正确规范,阀门、操作机构便于维修操作、标识清楚。
中、低压系统的风管法兰上螺栓或铆钉的孔距不得大于150mm;高压系统的风管法兰上螺栓或铆钉的孔距不得大于100mm。

风管安装示例:

风管加固:
1)矩形风管边长大于630mm、保温风管边长大于800mm,管段长度大于1250mm或低压风管单边平面积大于1.2m2、中、高压风管大于1.0m2,均应采取加固措施。

风管加固安装示例:


风管采用角钢或加固筋加固时,排列整齐、均匀对称,其高度应小于或等于风管的法兰宽度。角钢、加固筋与风管的铆接牢固,间隔均匀,间距不应大于220mm。
不锈钢板风管安装:
1)不锈钢板材厚度≤lmm时,板材拼接应采用咬接或铆接;板材厚度>1mm时,宜采用氩弧焊焊接,不得采用气焊。焊口应进行酸洗及冲洗。
2)不锈钢风管采用法兰连接时,法兰材质应为不锈钢角钢。当为碳素钢时,其表面应进行镀铬或镀锌处理。风管铆接应采用不锈钢铆钉。
3)锈钢风管法兰的连接,宜采用同材质的不锈钢螺栓。
不锈钢风管加工示例:

无机玻璃钢风管的安装:
1)管表面平整光滑,不得出现返卤或严重泛霜及玻璃纤维布裸露现象。
2)风管安装平直不得扭曲,风管及法兰不得有掉角、磕碰、污染现象;风管法兰连接螺栓风管法兰连接螺栓处平光垫配置齐全,没有无明显锈蚀现象。
无机风管正确安装示例:

有机或无机玻璃钢风管的法兰,其螺栓孔间距不应大于120mm,矩形风管法兰四角应钻有螺栓孔。
无机玻璃钢风管安装示例:

无机玻璃钢风管安装:

水平悬吊风管防晃支架,风管制作安装规范;按标准要求间距设有防晃支架,整体布局协调。
室内送风口安装示例:

正压送风口安装,百叶方向朝下45°

防腐绝热施工质量与要求控制要点:
1.绝热材料应采用不燃或难燃材料,其材质、密度、规格与厚度应符合设计要求、如采用难燃材料时,应对其难燃性进行检查,合格后方可使用。
2.穿越防火隔墙两侧2m范围内管道的绝热层必须使用不燃绝热材料。
3.金属保护壳的施工,应符合下列规定:
应紧贴绝热层.不得有脱壳、褶皱、强行接口等现象。接口的搭接应顺水,并有凸筋加强,搭接尺寸为20~25mm.采用自攻螺丝固定时,螺钉间距应匀称,并不得刺破防潮层。
户外金属保护壳的纵、横向接缝,应顺水;其纵向接缝应位于管道的侧面。金属保护壳与外墙面或屋顶的交接处应加设泛水。
管道保温安装示例:

管道保护壳接缝严密,搭接顺水。

成排管道上返弯曲半径、标高及位置一致,最高处设置排气阀排气。金属保护壳制作工艺精细,搭接顺水。
本文来源于互联网,作者:叶青。暖通南社整理编辑。