5月28日,钦州市浦北县再次迎来了一宗关注度非常高的司法拍卖,一宗位于浦北县小江镇光明路49号的1019.57平方米的商住用地被拍卖。除了因为是商住地块外,这宗拍卖关注度之高,另外一个人原因是这宗地块的原来的产权人身份比较特别,其是钦州市浦北县有名的黑老大,黄某兴所有。说到黄某兴,浦北人可谓是众人皆知,曾经在浦北县可谓“叱咤风云”。不过最终锒铛入狱。2021年,法院以犯组织、领导黑社会性质组织罪、聚众斗殴罪、寻衅滋事罪、敲诈勒索罪、非法买卖枪支罪、故意毁坏财物罪、串通投标罪、对非国家工作人员行贿罪、行贿罪,数罪并罚,判处被告人黄某兴有期徒刑二十五年,剥夺政治权利五年,并处没收个人全部财产,同时追缴违法所得人民币3957.82万元
此前,黄某兴在浦北县和南宁市的众多房产和豪车已经被拍卖,大部分都已经成功拍卖出去。此次拍卖的财产,跟前面拍卖的都不一样,这一次拍卖的是土地使用权。土地使用权面积一共1019.57平方米,地块分成两部分,其中一部分用地面积659.38平方米,土地规划利用条件:根据记载总建筑面积不高于659.38平方;建筑容积率不高于1.0;建筑控制层数为1层,建筑密度不高于100%,建筑高度小于5米。另外一部分土地使用权面积360.19平方米;(土地规划利用条件:根据记载总建筑面积不高于2164.74平方,不低于1019.57平方米;建筑容积率不高于6.01不低于1.0;建筑限高地上不超6层,建筑密度不高于100%,建筑高度不高于24米。两部分的土地使用性质都是商住用地。


拍卖的地块位置非常不错,位于浦北县城中心地段,离浦北县体育中心非常近,附近还有浦北越州医院、浦北县人民政府等。

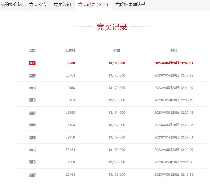
拍卖的起拍价非常低,只要139.2万元起,而评估价也算是只有198.82万元。最终有15人缴纳27.8万元的保证金参与竞拍。竞争激烈程度空前,15个人为拿下这宗优质地块的使用权,是疯狂加价了852次,原本上午十点就结束的拍卖,最终延时到了下午13点才结束。最后以1318万元的价格成交,成交价比起拍价高出了1178.万元,溢价率达到了惊人的846.84%。


最终拿下这宗优质地块的的竞得者是三个人联合以竞买号L2958竞得的。接下来应该就是三个人联合开发这块地块了。
从成交价来看,按照最大容积率计算,可以建设的建筑面积是2824.12平方米,这宗商住地块的成交楼面价是高达4667元/平方米,这个价格可谓刷新了浦北县的土地出让价的新高了,而这还不是官方挂牌出让的地块。这个价格也是要比钦州市区的商住地块的楼面价要高。这样的价格,如果用来建设住宅来卖,按照现在浦北县的房价,肯定是难卖房子的,因为拿地成本都4667元/平方米,再有建设成本,那成本肯定要破6000元一平了。那房子的销售价格得定多少才行呢?
所以,三个人联合拿下这宗地块,估计不是用来建设住宅的,就是不知道会用来开发什么项目。从地段来看,这里建一个商业类的房子,应该是非常不错的,但是不知道投资建设,要多少年才能回本,毕竟1318万元也是一笔不小的数目了。
对于这样一宗地块拍卖,大家觉得这个成交价怎么样呢?