梦笙产品涉嫌虚假宣传 代理模式效仿森米涉嫌传销
有网友戏言:七七创业未半而森米崩殂,今帝国三分,一曰千漾、一曰梦笙、一曰和浠。
在《被行政处罚、被明星起诉 千漾微商被曝沿袭森米传销模式》一文中,清扬君提到森米微商被多家权威媒体曝光涉嫌传销一事,随后创始人莫七七及森米微商淡出了人们的视线。而有网友称森米微商没落后,原森米三名联合创始人分别带着团队创立千漾、梦笙、和浠三个微商品牌。
今天,我们来聊聊梦笙微商。
据了解,梦笙微商隶属于上海梦笙生物科技有限公司(以下简称“梦笙公司”)。企查查显示:梦笙公司,成立于2019年5月23日,注册资本500万元,实缴资本为0,法定代表人、实际控制人吴小娟持股51%,股东吴安琼持股49%。
清扬君发现,或许是听到什么风声,梦笙的官网已经打不开,官方微信公众号也只留了寥寥几篇文章。但疑似梦笙代理商所注册的微信公众号和个人网站依然在乐此不疲地宣传着梦笙产品的“神奇效果”和代理制度等内容。
比如,在微信公众号“梦笙助你遇见最好的自己”里,2月21日发布的文章《为何梦笙瘦身轻松好坚持?真相竟是……》和《梦笙除了减肥还有其他的产品吗?》,介绍了梦笙品牌的产品及功效:

梦笙胶原蛋白酵素,宣传“促进代谢、减脂瘦身”、“增强免疫力、减少胃溃疡”等内容;
梦笙综合果蔬粥,宣传“改善亚健康”、“改善便秘、控制血糖”等内容;
梦笙胶原蛋白棒,宣传“减脂降重、强化体质”等内容;
梦笙辣木叶复合粉,宣传“控糖排油、阻脂燃脂”、“防止脂肪栓形成、预防高血压”等内容;
梦笙植物液态饮,宣传“减肥外挂神器、促进脂肪分解”、“降低脂肪胆固醇氧化反应、缩小脂肪球细胞”等内容;
梦笙益生菌液态饮,宣传“促进脂肪代谢及其分解、降低血糖”、“提高脾胃功能、排毒清体”等内容;
梦笙雨生红球藻粉,宣传“一月白一度、淡斑淡印”、“促进新细胞生成”等内容;
梦笙综合莓果发酵型果蔬饮,宣传“抗敏神器、修复抗敏免疫力、*制抵**黑色素生成”、“亮白美肤、抗敏抗炎”等内容;
梦笙Y-氨基丁酸饮,宣传“调经补血、温润驱寒、提高免疫”等内容;
梦笙洋蓟果味饮,宣传“解酒保肝、护肝排毒、辅助肝脏修复再生、肝胆滋补”等内容;
梦笙玻尿酸奶昔,宣传“梦笙奶昔是世界上最畅销、最安全、不反弹的减肥食品”、“美肌美颜、有效减脂”等内容;
梦笙胶原蛋白小酵素,宣传“促进代谢、减脂瘦身”、“美肌美颜、增强免疫力、减少胃溃疡”等内容。
清扬君查询后发现,以上梦笙产品均不带蓝帽标识,在药监局保健品数据库也查不到以上产品的信息,故梦笙以上产品均非保健食品,仅为普通食品。但以上产品所宣传的功效却都是普通食品所不具有的保健功效和医疗效果,涉嫌虚假夸大宣传。
看来,梦笙产品的虚假宣传比起森米来犹有过之而无不及。那么梦笙的代理制度又是如何呢?

根据梦笙代理商自建网站的信息显示:
梦笙对外公布的代理有三种,分别是钻石、官方、执行董事:
拿货满5000元,即升级为钻石代理,享受8折拿货价格;
拿货满50000元,即升级为官方代理,享受6.5折拿货价格;
拿货满50万元,即升级为执行董事,享受5折拿货价格。
梦笙代理的利润分为三个部分:
1、零售利润:代理价与零售价差价;
2、团队利润:代理与代理间的差价;
3、返利利润:推荐同级别代理,直属上级会返40%的利润,而且是终生返利。比如你是执行董事,你的客户或代理要升执行董事,你把他推荐给联创,联创会将这个代理升级利润的40%返给你。以后只要你推荐的代理补货,你都有利润。
实际上,与森米和千漾类似,梦笙微商这三级代理之上还有联合创始人级别,联合创始人为最高级别代理商。

据公开报道,梦笙品牌创始人兼董事长是梅媛媛,2020年1月13日,梅媛媛还曾带12名梦笙联合出席了第十六届胡润至尚优品颁奖盛典。

梦笙微商联合创始人的门槛我们不得而知,但有位微博名为“梦笙联合创始人-诗诗”的人,在微博简介里自称“梦笙1500万联合创始人”,该级别的门槛可想而知。
如此看来,梦笙微商的代理级别、门槛、模式和利润的设置与森米的几乎一模一样,同样符合《禁止传销条例》第七条所示的传销特征。清扬君认为,梦笙微商设置的四级代理并组成上下线的关系,通过订货变相收缴入门费,推荐代理给予高额“人头费”,以及团队计酬的方式,涉嫌非法传销。
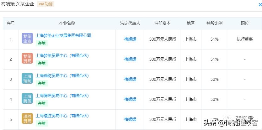
值得梦笙微商代理注意的是,梦笙品牌创始人兼董事长梅媛媛在法律关系上与梦笙公司并无任何关系。

企查查信息显示,与梅媛媛关联的公司有上海梦笙企业发展集团有限公司、上海梦笙贸易中心(有限合伙)、上海瑞昉贸易中心(有限合伙)、上海腾箔贸易中心(有限合伙)、上海璟胜贸易中心(有限合伙),梅媛媛还是这五家公司的法定代表人和实际控制人。
为什么梅媛媛从一开始就切断与梦笙公司的法律关系,反而成立带“梦笙”字号的其他公司呢?难道她从一开始就不看好运营梦笙微商的梦笙公司吗?莫非是从被传“跑路”的森米创始人莫七七身上学到了些什么?
网友们怎么看呢?