4月以来的A股市场,如下了一场连绵不绝的阴雨,昨天更是超过1000只股票价格跌停板,很多股民和基金投资者(基民)们出现了较大的投资损失。
于是很多市民又将眼光投向了银行发行的保本型理财产品,今天银姐将继续和大家介绍一下目前在售的由国有银行和股份制银行发行的保本浮动收益理财产品信息,供参考。

原创作者:有料的银姐,更多内容,公众号:财经天天有料
如果喜欢我们原创的财经文章内容,不妨点赞、留言评论和转发分享,谢谢!
一、今天分享的依然由商业银行发行的保本浮动收益型理财产品,很多对于《资管新规》略有所闻但又并不熟悉的读者,也不用再纠结于“银行还能不能发行保本的理财产品”这类的问题,银姐明确地说:在目前的监管规定之下,可以发行!

二、还是和以往一样,银姐只分享由工行、中行、建行、农行、交通银行、邮政储蓄银行这些国有银行,和招商银行、兴业银行、中信银行、光大银行、民生银行、华夏银行等等在全国网点布局较为广泛的股份制银行,从而方便各地的读者们选购。那些经营范围仅仅局限在某个城市或地区的农商行和城商行所发行的理财产品,就暂时不在这里介绍了。

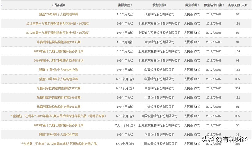
三、多数市民首先关心的就是收益率了,目前“预期最高收益率”最高的15款保本浮动收益型理财产品如下:

华夏银行发行的这款结构性理财产品,预期收益率区间是2.48%-7.48%,也就是在挂勾标的表现最为理想的状态下,投资者有可能获得7.48%的最高收益;但是,如果挂勾的标的表现不好,也有可能最终获得的是最低的2.48%收益率,这款产品的期限只有36天:

同为华夏银行发行的另一款92天期限的结构性理财产品,预期收益率区间为2.04-7.04%,与上面36天期限的短期理财产品的预期收益相比,反而出现了收益率倒挂的现象,也就是期限短的预期收益率反而更高一些,这种属于阶段性异常的利率与期限倒挂状况。

有些读者可能更关注国有银行发行的理财产品,目前六大国有银行发行的保本型理财产品当中,预期收益率最高的是由农业银行发行的这款“劳动节专享”产品,预期收益率区间为3.65%-3.75%,也是结构性投资类的理财产品:

四、之前料哥和银姐都反复介绍过,要在最理想的状态下才能实现预期最高收益率,因此,保守谨慎的投资者们可以也多关注一下最低收益率水平。这个保障了在即使最差的市场表现情况下,投资者也能获得的投资收益。

预期最低收益率最高的是由华夏银行发行的这款结构性投资类保本型理财产品,预期收益率区间是4.00-4.10%,也就是在产品到期兑付后,在最不理想的挂勾标的市场表现情况下,投资者也能获得4.00%的投资收益回报,产品期限是92天:

而农业银行发行的这款365天期限的理财产品,预期收益率区间是3.55-3.65%,在国有银行发行的理财产品当中属于较高收益的产品:

五、理财产品并没有最佳和最完美的,只有适合不适合你的。投资者在综合考虑收益率、风险性和流动性三大要素的情况下,选择最适合自己家庭的就可以了,无需追求最高收益率、最短期限等。

以上所有理财产品信息全部经过中国银行保险监督管理委会员批准,由各大商业银行发行的保本浮动收益型理财产品,投资货币为人民币。
具体的产品条款、产品协议和认购流程细节请咨询各发行银行的客服中心。
如果喜欢我们原创的财经文章内容,不妨点赞、留言评论和转发分享,谢谢!