
“破圈”之后,B站已不再是少年。
文丨BT财经
在年前出现“鹅组女孩”做空B站之后,B叔分析了为何B站不会被舆论所影响,因为投资者们都看好四季报,怎能说空就空?要知道截至今年2月25日每股收盘,股价超过2019年12月31日收盘价的7倍,市值已达435亿美元。
美国时间2月24日,哔哩哔哩发布了2020年第四季度和2020财年的财务报告。
2020财年B站总营收达120亿元人民币,同比增长77%;第四季度营收同比增长91%,达38.4亿元人民币,远超此前市场预期。
第四季度的月均活跃用户已达2.02亿,按目前的增长幅度,不出意外B站在今年年底能实现此前定下的月活用户2.2亿的目标,还真是闪耀。

闪耀的一年
2020年称得上是B站自成立以来最闪耀的一年。这一年中,B站靠跨年晚会、《后浪》、发卫星、加码知识板块、上线独播剧和自制综艺等一系列引人瞩目的内容,成功实现了“破圈”,一年月活跃用户增长7170万,月均付费用户同比翻倍。
B站的收入结构在这一年同样有极大改善。此前,B站一直被戏称为“披着视频网站外衣的游戏公司”。
在2018年及之前,手机游戏对公司总收入的贡献都在70%以上,到2019年虽然这一比例降到了43%,但依然是主要收入来源。2020年,直播和增值服务超过手机游戏,成为新的主要收入来源,广告、电商及其他对收入贡献的比例也在逐渐攀升。

B站营收结构 制图:BT财经
收入比例的变化让B站摆脱了“游戏公司”的定位,多元化的收入对B站未来发展的预期形成有力支撑,B站也成了极为稀有的不依赖单一收入的视频网站。
特别值得提及的是广告收入的提升。因承诺“正片不加广告”,B站丧失了很大一部分传统视频网站的贴片广告收入,之前也被认为是B站“盈利难”的原因之一。
去年因为疫情原因,广告投放整体下滑,B站的广告收入却依然逆势上涨,同比增长149%。按照财报发布后的电话会议中高管的说法,这样的广告增速还是管理层控制下的结果,暗示B站其实来源于广告主的收入本来可以更高,甚至高很多?
直播和增值服务的收入主要来源于用户打赏的提高和用户付费率的提升。去年四季度的付费率为8.9%,创历史新高,在我国同行业中也属于高比例。截至2020年末,通过社区考题的正式会员数量超过1亿人次,第12个月留存率超80%。
得益于“内容社区”的定位,B站用户粘性本来就显著高于其他视频网站,付费率和正式会员人数都创新高巩固了用户粘性。第四季度,B站日均视频*放播**量(12亿次)同比增长70%,月均互动量(47亿次)同比增长94%,用户日均使用时长则高达75分钟。
从财务数据和运营数据上看,B站各项关键指标都保持至少两位数的增长,毛利率也连续7个月增长,无疑是很好的投资标的——如果不考虑其持续扩大的亏损的话。
盈利依旧难
成立于2009年的B站2015年1月才拿到第一笔对外融资,之前5年一直靠用户的热情“用爱发电”。当时B站内容的小众带来的良好社区氛围,“天下B站用户是一家”,大家纷纷表示勒紧裤腰带也要投币支持自己喜欢的up主。
由于众所周知的原因,一旦有资本的介入,特别是在公开市场发行之后,公司的成长和盈利前景就变得不容忽视,用户的“爱”撑不起资本的期望。B站的故事从“中国的漫威”到“中国的YouTube”再到“中国的奈飞”,换了一次又一次,永远看起来前景光明,盈利能力却永远相当于“另一个爱奇艺”。
爱奇艺、腾讯视频等头部视频网站一直神仙亏损泥潭,是否值得投资饱受争议。B站却因为十年如一日的“少年”形象,让人们变得格外仁慈。实际上,从2018年上市以来,无论依据GAAP还是Non GAAP口径(也即无论是否扣除非经常性损益影响),B站的亏损都在持续扩大。

B站盈利情况 制图:BT财经
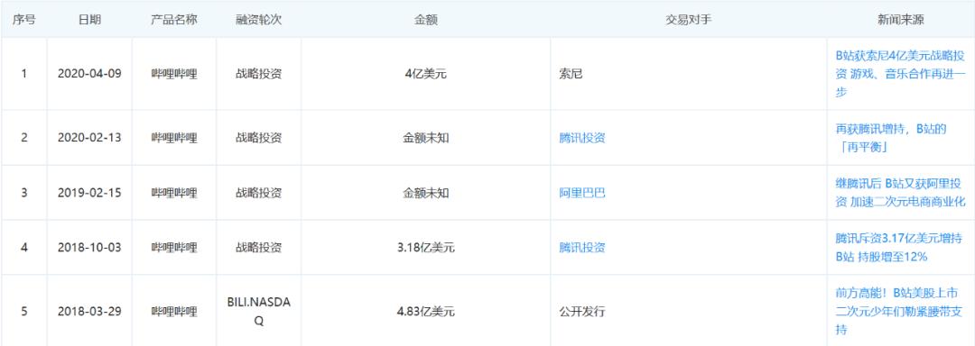
在上市之后,B站还接受了4轮战略融资,分别来自阿里、腾讯和索尼。除了官方说辞用股权换合作外,如此频繁的接受战略投资极有可能是B站真的依然缺钱。

B站比爱奇艺只晚成立2年,二者同年先后上市,爱奇艺月活用户早就超过6亿,B站2023年的目标是4亿。即使B站用户的付费意愿更高,其市值是爱奇艺的两倍多还是有点魔性。
何况,“爱优腾”等头部视频网站一直亏损就是因为高昂的版权费。B站日后需要采购更多版权或者自制更多综艺和剧集,才能保持对“圈外人”的吸引和用户的付费率。这导致B站在一定程度上将面对与其他视频网站相同的困境。
摆脱对游戏收入的依赖同样是双刃剑。2020年B站游戏收入的同比增速为30%,大幅低于总营收的同比增速,已经开始给营收增速拖后腿。其原因是自爆款游戏FGO后,B站再没推出过新爆款。游戏的吸引力有自然衰退期,如果B站近几年依然开发不出或者代理爆款游戏,游戏业务的营收贡献将进一步萎缩。
游戏业务是摇钱树,之前被腾讯牢牢抓在手里,现在字节跳动也在大力发展这部分业务,市场竞争越来越激烈。相比于再次爆发,B站游戏板块贡献越来越少可能性更高。
现在用户量、营收等基数大,B站很难继续保持现在的增速,或者需要更大的开支来保持和现在相近的增速。例如,B站获客成本已经从2020年Q1的143.7元增长至Q4的212.7元。此外,由于还需要拓展渠道、打造中台,B站的开支将保持在高位,盈利更是遥遥无期。
遵守“成年人”的游戏规则
B站是否依然值得投资?客观来看,得益于用户生产内容多,一个IP在B站可以衍生出比其他视频网站更多的周边内容,因此当B站拥有的IP和版权量与其他视频网站相似时,其活跃度远高于其他网站。而且B站的确是在高速成长的轨道。
不否认哔哩哔哩是一家优秀的公司,需要注意的是其股价是反映了对未来成长的真实预期,还是存在泡沫。我们需要再次明确,B站现在已经不是小众文化视频网站,已经不是“待长成”的、不谙世事的少年。B站现在需要遵守成熟公司的竞争规则,在这方面B站显然还没做好准备。
老生常谈的问题就是内容审核和调性。最近B站全站力推的动漫《无职转生》使B站被骂上微博热搜,之后人气up主的直播中再次出现相关不当言论,管理员却未及时提醒或关闭直播。被迫下架《无职转生》时B站的理由是“技术问题”,这样的处理方式让原来的支持者认为B站软弱无能,被舆论裹挟,不能再代表小众群体;原来的批评者则认为B站毫无认错诚意,同样不满意。B站的审核、公关和监管能力之弱再次暴露无遗。
B站内容不分级或分级不当,存在不少不符合监管或打擦边球的内容。这当然不是一年两年的问题,而是自成立以来积累的痼疾。
受众群体特定且不大时,用户价值观相似度极高,即使内容有问题也基本没有被投诉、举报的可能,监管也不会过多注意一个小的内容网站。现在身处激烈的竞争中,稍有不慎就有可能被竞争者抓住把柄,而全盘下线违规内容,则可能动摇B站发展的根基,导致用户出逃,给其他网站发展崛起的机会。
如何平稳扩张是B站未来几年依旧面对的主要问题,不过当下最紧急的则是B站认识到自己是个需要为超过两亿用户负责的网站。用户可以没有辨别能力,网站却不能没有;有些问题上可以孰是孰非各执一词,有些问题却没有讨论的空间。
B站,你已经长大了,该学会遵守游戏规则了。
欢迎关注【BT财经】,阅读更多精彩内容。
版权所有,禁止私自转载!如涉及侵权,请联系删除。