第一章 工程概况
一、概况
保温材料采35mm厚膨胀聚苯板薄抹灰外墙外保温系统;具体做法:砖墙砼墙基层处理→粘贴胶浆→EPS膨胀聚苯板→抹面砂浆→(用塑料锚栓@500锚固)压入玻纤网格布(涂料部位)。
二、材料准备
1、 界面剂、挤塑聚苯板、粘结砂浆、抹面胶浆、耐碱网格布、 锚栓、 进场后,应提交试验报告(检测报告)给现场监理工程师,在监理工程师认可后方可用于工程中。严禁在工程中使用不合格的材料。
2、 材料应堆放在指定的位置,符合施工总平面图的要求,材料应堆放整齐,
并附材料标志牌。

第二章 施工工艺
系统构造
膨胀聚苯板外墙外保温系统基本构造面砖示意图:
1.1外墙外保温体系基本构造见表1:

1.1外墙外保温体系基本构造见表1:

第三章 施工技术规程
一、施工要求及条件
1.1 在外墙外保温系统做耐候性试验后不得出现饰面层起跑或脱落,保护层空鼓或脱落,不得产生渗水或裂缝。
1.2 外保温工程施工期间以及完工后24h内温度不得低于零上5℃,避免阳光暴晒,5级以上大风和雨雪天气不得施工。
1.3 粘接EPS、板时,保温粘结剂涂抹面积不得小于EPS、板材面积的50%,EPS、板材应该逐行错缝。
1.4 建筑物高度在20m以上时,在受负风压作用较大的部位,采用条点结合粘法,加锚固件固定。
1.5 应做好系统在风洞口,肋脚处包边处理,装饰缝,门窗洞口和阴阳角等做好局部加强网施工,变形缝和伸缩缝处应做好防水和保温构造处理。
二、施工工具
电热丝切割器或壁纸刀(裁挤塑板、泡沫板及网格布用)、电锤(拧膨胀螺栓及打膨胀锚固件用)、手持式电动搅拌器、木锉或粗纱纸(打磨用)其他抹灰专用工具。
三、工艺流程
1 基层清理
1.1 清理混凝土墙面上的残留浮灰,脱模剂油污等杂物及抹灰空鼓部位等。
1.2 剔除剪力墙接槎处劈裂的混凝土块,夹杂物、空鼓等,并重新进行修补;窗台挑檐按照2%用水泥找坡,外墙各种洞口填塞密实。
1.3 要求粘贴挤塑板表面平整度偏差不超过4mm,超差时对突出墙面处进行打磨,对凹进部位进行修补;以确保整个墙面平整度在4mm内,阴阳角方正,上下顺通。
2 配制砂浆
根据保温粘结剂和抹面砂浆说明书配置砂浆。
3 粘贴挤塑板 、泡沫板
1)施工前,根据被施工建筑物外墙立面的设计尺寸编制排板图,以达到节约材料、提高施工速度的目的。挤塑板、泡沫板以长向水平铺贴,保证连续结合,上下两排板须竖向错缝1/2板长,局部最小错缝不得小于200mm。

2)弹控制线:根据建筑立面设计和外墙外保温技术要求,在墙面弹出外门窗水平、垂直控制线及伸缩逢线、装饰缝线等。挂基准线:在建筑外墙大角(阴阳角)及其他必要处挂垂直基准钢线,每个楼层适当位置挂水平线,用以控制挤塑板、泡沫板的垂直度和平整度。
3)粘贴挤塑板、泡沫板时,板缝应挤紧,相邻板应齐平,施工时控制板间缝隙不得大于2mm,板间高差不得大于1.5mm。当板间缝隙大于2mm时,须用挤塑板、泡沫板条填塞满,板条不得用砂浆或胶结剂粘结;板间平整度高差大于1.5mm的部分应在施工面层前用木锉、粗砂纸或砂轮打磨平整。
4)按照事先排好的尺寸切割挤塑板、泡沫板,从拐角处垂直错缝连接,要求拐角处沿建筑物全高顺直、完整。
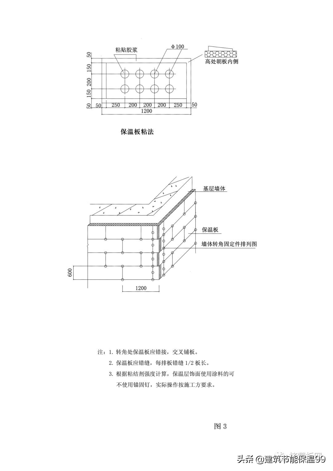
5)点粘法布胶:用抹子在每块挤塑板、泡沫板周边涂50mm宽专用聚合物粘结砂浆,要求从边缘向中间逐渐加厚;注意在挤塑板、泡沫板下侧预留50mm宽的槽口,以利于贴板时将封闭在板与墙体间空气溢出。然后再在挤塑板、泡沫板上抹6-8个厚10mm直径100mm的灰饼。
条粘法布胶:用抹子将聚合物改性粘剂沿水平方向,均匀地涂抹在保温板上,条宽10mm,厚度10 mm,间距50 mm。


6)用条点法和条粘法涂好聚合物砂浆的挤塑板、泡沫板必须立即粘结在墙面上,速度要快,以防止砂浆表面结皮失去粘结作用。
7)挤塑板、泡沫板按照上述要求上墙厚,用2m靠尺反复压平,保证其平整度及粘贴牢靠,板与板之间要挤紧,不得有缝,板缝隙间不得有粘结砂浆,否则该部位则形成冷桥。
每贴完一块,要及时清理板四周挤出的聚合物砂浆,若因挤塑板切割不直形成缝隙,要用木锉锉直后再粘贴。
8)挤塑板、泡沫板与基层粘结砂浆在铺贴压实后,砂浆的覆盖面积约占板面面积的50%,以保证挤塑板、泡沫板与墙体粘结牢靠。
9)网格布翻包:从拐角处开始粘贴大块挤塑板、泡沫板后,遇到阳台、窗洞口、挑檐等部位需进行耐碱玻纤网格布翻包;即在基层墙体上用聚合物粘结砂浆预粘贴网格布,翻包部分在基层上粘结宽度不小于80mm,且翻包网格布本身不得出现搭接。
10)在门窗洞口部位的挤塑板,不允许用碎板拼凑,需用整幅板切割,其切割边缘必须平整、顺直、尺寸方正,其他接缝距洞口四边应大于200mm。

11)为防止外窗漏水,本工程要求窗洞口四周侧壁挤塑板、泡沫板与钢副框间留通槽,在外窗主框安装完成并验收后由外窗施工单位在槽内打发泡剂、填塞聚乙烯泡沫塑料棒及打密封胶。
12)在窗洞口位置的板块之间搭接留缝要考虑放水问题,在窗台部位要求水平粘贴板压里面板,即避免迎水面出现竖缝;但在窗户上口,要求立面板压住横板
13)在遇到脚手架连墙件等突出墙且以后拆除的部位,按照整幅板预留,最后随拆除随进行收尾施工。
4 安装固定件
4.1 挤塑板、泡沫板粘结牢靠后,应在8~24h内安装固定件(视气温因素掌握时间)按照方案要求的位置用冲击钻钻孔,要求钻孔深度进入基层墙体50mm(不包括抹灰厚度)。
4.2 固定件个数按照要求放置(横向位置居中、竖向位置均分),任何面积大于0.1㎡的单块板必须加固定件,且每块板添加数量不小于4个。
4.3 按照专用锚固件说明书上的要求安装固定件。
5 打底
挤塑板、泡沫板接缝处表面不平时,需用衬有方木的粗砂纸打底。打磨动作要求为:呈圆周方向轻柔旋转,不允许沿着挤塑板、泡沫板接缝平行方向打磨,打磨后用刷子清洁挤塑板、泡沫板表面碎屑。
6 滴水槽
6.1 在所有外窗洞口侧壁的上口用墨线弹出滴水槽的位置,并依据钢副框进行校核。
6.2 按照弹好的墨线在挤塑板、泡沫板上安好定位靠尺,用开槽机将挤塑板、泡沫板切出凹槽,成品滴水槽尺寸为10mm×10mm考虑到面层砂浆厚度为5~7mm,为保证凹槽内塞入成品滴水槽后与面层砂浆高度一致,故切凹槽尺寸为8mm×13mm,差值尺寸是为粘结砂浆预留空间,成品滴水槽塑料条是在抹面层砂浆时粘贴。
7 设计伸缩缝
施工时,预先用墨斗弹出伸缩缝的位置线,并用水准仪或注满水的塑料管进行校核伸缩缝的水平度。
8 抹第一遍面层聚合物抗裂砂浆(抹面砂浆)
8.1 在确定挤塑板表面界面剂凉干后进行第一遍面层聚合物砂浆施工。面层厚度控制在1~2mm之间,不得漏抹。
8.2 第一遍聚合物抗裂砂浆在滴水槽处抹至滴水槽口边即可,槽内暂不抹聚合物砂浆。
8.3 伸缩缝内挤塑板、泡沫板端部及窗口挤塑板、泡沫板
9 通槽侧壁位置要抹聚合物砂浆,以粘贴翻包网格布。
9 埋贴网格布
9.1 所谓埋贴网格布就是用抹子由中间开始水平预先抹出一段距离,然后向上向下将网格布抹平,使其紧贴底层聚合物砂浆。(第一层上加墙网紧跟上标准网)
9.2 门窗洞口内侧周边及洞口四角均加一层网格布进行加强洞口四周网格布尺寸为300mm×200mm,大墙面粘贴的网格布搭接在门窗口周边的加强网格布至上,一同埋贴在底层聚合物砂浆内。

9.3 将大面网格布沿长度、水平方向绷直绷平。注意网格布弯曲的一面朝里放置,开始大面积的埋贴,网格布左右搭接宽度100mm,上下搭接宽度80mm;不得使网格布皱褶、空鼓、翘边。要求砂浆饱满度100%,严禁出现干搭接。
9.4 在伸缩缝处,需进行网格布翻包,网格布预粘在墙面上的尺寸为80mm,用网格布和粘结砂浆将挤塑板、泡沫板的头包住,此处允许挤塑板、泡沫板端边处抹粘结砂浆,大墙面粘贴的网格布盖在搭接的80mm网格布之上,一同埋贴在底层聚合物抗裂砂浆上。

9.5 在墙身阴、阳角处必须从两边墙身埋贴的网格布双向绕角相互搭接,各面搭接宽度为不小于200mm。


10 抹面层聚合物抗裂砂浆(抹面砂浆)
10.1 抹完底层聚合物抗裂砂浆并压入网格布后,待砂浆凝固至表面基本干燥、不粘手时,开始抹面层聚合物砂浆,抹面厚度以盖住网格布且不出现网格布痕迹为准,同时控制面层聚合物抗裂砂浆总厚度在3~5mm之间。
10.2 滴水槽做法:先将网格布压入槽内,随即在槽内抹数量足够的聚合物砂浆,然后将塑料成品滴水槽压入挤塑板槽内。塑料成品滴水槽塞入深度应综合考虑完活后面层高度,这样才能保证成品滴水槽与面层聚合物抗裂砂浆高度一致,确保观感质量。
挤塑板槽内砂浆必须填塞密实并确保安装滴水槽时槽内聚合物粘结砂浆沿槽内均匀溢出。滴水槽凹槽处,须沿凹槽将网格布埋入底层聚合物砂浆内,若网格布在此处断开,必须搭接,搭接宽度为不小于65mm。注意,滴水槽凹槽处需附加一层网格布,网格布搭接80mm。
10.3 所有阳角部位,面层聚合物抗裂砂浆均应做成尖角,不得做成圆弧。
10.4 面层砂浆施工应选择施工时及施工后24h,没有雨水的天气进行,避免雨水冲刷造成返工。
10.5 在预留孔洞位置处,网格布将断开,此处面层砂浆的留槎位置应考虑后补网格布与原大面积网格布搭接长度要求而预留一定长度。面层聚合物抗裂砂浆应留成直槎。
四、细部及特殊部位做法
1 预留孔洞位置(破损处)处理
1.1 进行大面积挤塑板、泡沫板粘贴过程中,在遇到外脚手架的连墙杆时,挤塑板、泡沫板只能进行甩槎处理;在外墙保温施工完毕后拆除过程中,对此部位实施修补处理。
1.2 用干硬性水泥砂浆将脚手眼填塞紧密,表面抹平。
1.3 按照预留孔洞尺寸裁截一块尺寸相同的挤塑板并打磨边缘部分,使其能够严密封填于孔洞处。
1.4 将上述预裁好的挤塑板、泡沫板背面涂上粘结砂浆,将其镶于孔内。
1.5 涂抹底层聚合物抗裂砂浆,切一块网格布(面积大小应能与周边已施工好的网格布搭接80mm),埋入网格布,并涂抹面层聚合物抗裂砂浆与周边平整。
2 建筑物首层保温做法
首层墙体外保温做法除与标准层规定相同外,为提高面层的抗冲压能力,要求外加一层加强网格布。
3 女儿墙做法

第四章 施工构造节点

外墙外保温构造,见(图1)

外墙阳角、阴角详图,见(图2)

保温板抹胶及固定件排列详图,见(图3)

勒角详图;见(图4)

门窗洞口排板,铺网详图,见(图5)

窗洞口详图(一),见(图6)

窗洞口详图(二),见(图7)

阳台、檐详图,见(图8)

女儿墙详图,见(图9)

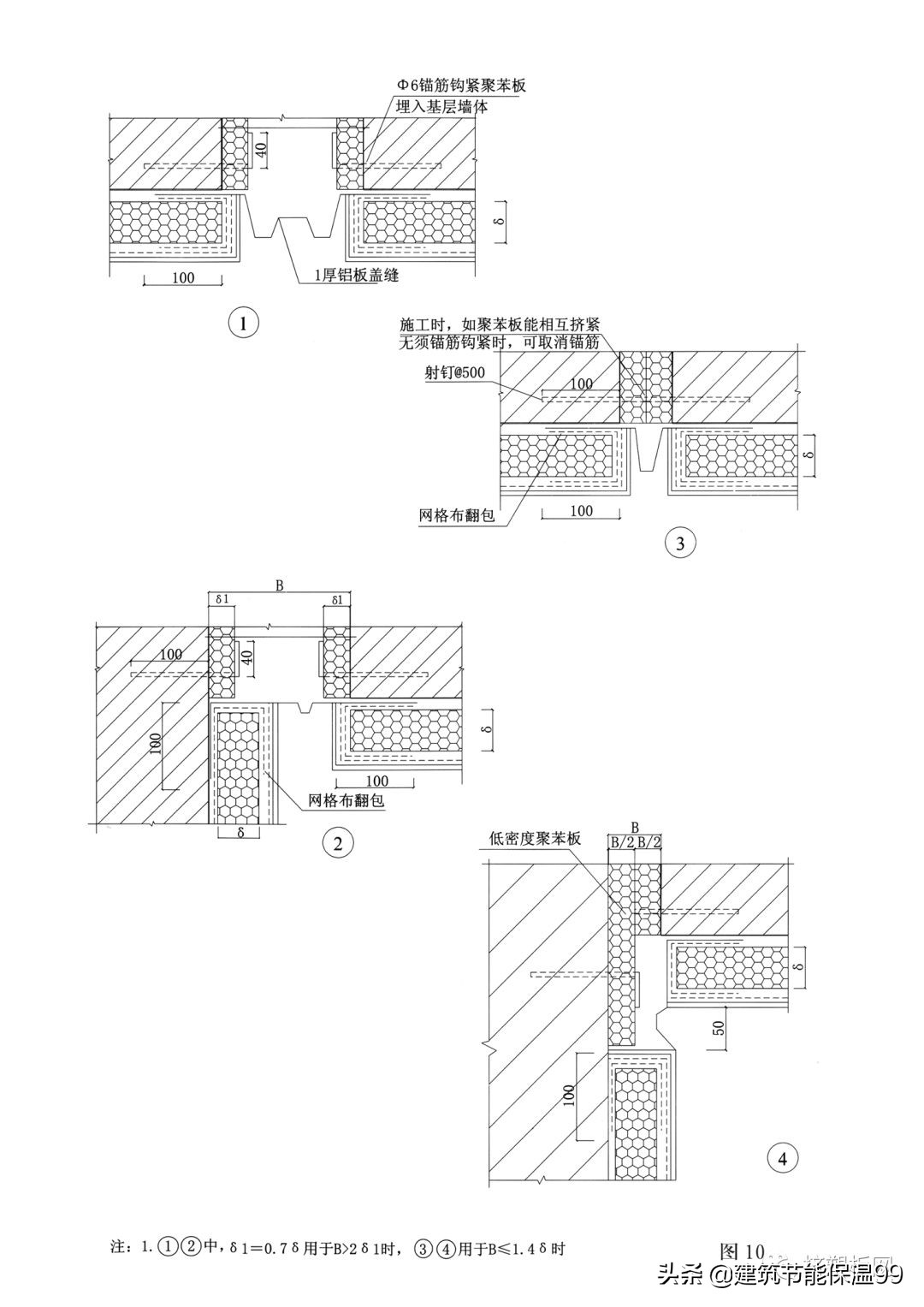
系统变形缝详图(一),见(图10)

系统变形缝详图(二),见(图11)

分格缝、装饰线、滴水详图,见(图12)

穿墙管道、标牌详图,见(图13)

伸缩缝、空调机搁板,见(图14)

空调机室外架、防盗网水落管卡子详图,见(图15)