气源三联件厂家 (气源三联件品牌)

即F.R.L,在气动技术中,将过滤器(F)、减压阀(R)和油雾器(L)三种气源处理元件组装在一起称为气动三联件,用以进入气动仪表之气源净化过滤和减压至仪表供给额定的气源压力,相当于电路中的电源变压器的功能。

过滤器:是用于对气源的清洁,可过滤压缩空气中的水分,避免水分随气体进入装置。

减压阀:对气源进行稳压,使气源处于恒定状态,可减小因气源气压突变时对阀门或执行器等硬件的损伤。

油雾器:对机体运动部件进行润滑,可以对不方便加润滑油的部件进行润滑,大大延长机体的使用寿命。

气源三联件型号意义,气源处理三联件使用说明

一、 过滤器

过滤器(Filter)是一种专门设计用于压缩空气流中的过滤器。过滤器是用来去除液体或气体流中污染物的装置。气动过滤器去除污染物,特别是固体颗粒,以压缩空气的形式从流体流中分离出来。

气源三联件型号意义,气源处理三联件使用说明

工作原理是压缩空气由输入口进入过滤器内部后,由于旋风叶片的导向,在内部产生强烈的旋转,在离心力的作用下,空气中混有的大颗粒固体杂质、液态水滴和油滴等被甩到过滤器壳体内表面上,在重力作用下沿壁面沉降到底部。

气源三联件型号意义,气源处理三联件使用说明

1、放水丝堵 2、螺母 3、保护套 4、集水杯 5、挡水板 6、滤芯 7、卡环 8、导流板 9、螺杆 10、上座

· 主要参数:过滤器的主要性能指标有流量特性、分水效率和过滤精度。

1) 流量特性:表示在额定流量下其进出口两端压力差与通过该元件中的标准流量之间的关系。它是衡量过滤器阻力大小的标准,在满足过滤精度条件下,希望阻力越小越好。

2) 分水效率:是衡量过滤器分离水分能力的指标,一般要求分水效率大于80%。

3) 过滤精度:表示能够滤除灰尘最小颗粒的尺寸值,有5μm,40μm等,主管路过滤器在3μm,油雾分离器0.3μm,微雾分离器在0.01μm,过滤精度的高低与滤芯的通气孔大小有直接关系。孔径越大,过滤精度越低,但阻力损失也低。

· 排水方式:手动排水、自动排水、差压排水。

1) 手动排水:必须进行日常的检查,以免水面升高从而污染过滤器滤芯。

2) 自动排水:无需日常检查,但需要配软管将水定点排出,以免污染环境。适用于车间机械连续工作。

差压排水:无需要日常检查,但需要配软管将水定点排出,以免污染环境。需要管道上有压力差才可以排水,适用于车间机械不连续工作。

气源三联件型号意义,气源处理三联件使用说明

· 配件:水杯、滤芯、自动排水装置。

气源三联件型号意义,气源处理三联件使用说明

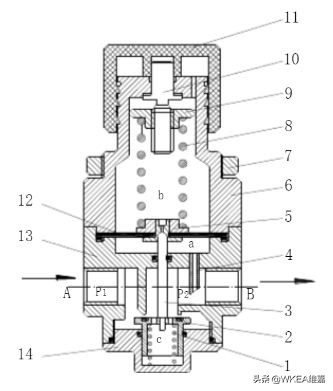
二、 减压阀

减压阀(Regular),又称为调压阀,作用是将较高的输入压力调节到规定的输出压力,并能保持输出压力稳定不变,不受流量变化和起源压力波动的影响。

气源三联件型号意义,气源处理三联件使用说明

1、阀芯弹簧 2、阀芯 3、阀芯顶杆 4、补偿管 5、溢流座 6、上盖 7、安装螺母 8、调节弹簧9、调节弹簧座

10、调节杆 11、调节手轮(塑料盖)12、膜片 13、中间体 14、下盖

气动减压阀由执行机构和调节机构组成。执行机构是调节阀的推力部件,它按控制信号压力的大小产生相应的推力,推动调节机构动作。阀体是气动减压阀的调节部件,它直接与调节介质接触,调节该流体的流量。气动活塞执行机构采用压缩空气作动力源,通过活塞的运动带动曲臂进行90度回转,达到使阀门自动启闭。

· 主要参数

调压范围:调压范围是指减压阀输出压力P2的可以调整控制的范围,在这个可调范围内要求达到规定的精度。调压范围主要与调压弹簧的刚度有关。

压力特性:压力特性是指流量g为定值时,因输入压力波动而引起输出压力波动的特性。输出压力波动越小,减压阀的特性越好。输出压力必须低于输入压力—定值才基本上不随输入压力变化而变化。

流量特性:流量特性是指输入压力—定时,输出压力随输出流量g的变化而变化的持性。当流量g发生变化时,输出压力的变化越小越好。一般输出压力越低,它随输出流量的变化波动就越小。

· 操作方法

1) 在调节压力之前,需要把调压旋钮向上拨,以便能够转动旋钮。

2) 顺时针旋转调压旋钮,使压力 P2 增大。

3) 调压弹簧的弹簧力使得主阀芯打开。

4) 这时压力 P2 逐渐升高,在与弹簧力达到平衡之后,维持在压力 P2 。

5) 当气流量发生变化时,主阀芯保持在一定的开度,使得出口压力 P2 维持在设定的压力位置。

6) 出口压力 P2 增加时,多余的压力从溢流口流出,使 P2 降低到设定的压力。

7)压力设定好之后,压下调压旋钮,即可实现锁定。

气源三联件型号意义,气源处理三联件使用说明

· 选用注意

根据使用要求选定减压阀的类型和调压精度,再根据所需最大输出流量选择其通径。决定阀的气源压力时,应使其大于最高输出压力0.1MPa。减压阀一般安装在过滤器之后,油雾器或定值器之前,并注意不要将其进、出口接反;阀不用时应把旋钮放松,以免膜片经常受压变形而影响其性能。

· 配件:安装支架、压力表、膜片、调压弹簧

气源三联件型号意义,气源处理三联件使用说明

三、 油雾器

油雾器(Lubricator)又称为给油器,是一种特殊的注油装置,其作用是使润滑油雾化后注入空气流中,随着空气流动进入需要润滑的部件,达到润滑的目的。

气源三联件型号意义,气源处理三联件使用说明

1、堵头 2、滤网 3、油杯 4、吸油管 5、保护套、6、空气单向阀 7、油单向阀 8、油量调节螺钉 9、视油器

10、导油管 11、加油孔塞 12、本体 13、阻

其工作原理是当压缩空气通过油雾器时,其在油室与视油器之间产生一个压降,该压降使油液经吸油管上升,并经喷嘴引射到压缩空气中,油滴被雾化,随压缩空气流出。

气源三联件型号意义,气源处理三联件使用说明

· 主要参数

1) 流量特性 表征在给定进口压力下,随着空气流量的变化, 油雾器进、出口压力降的变化情况。

2) 起雾油量 存油杯中油位处于正常工作油位,油雾器进口压力为规定值, 油滴量约为每分钟5滴(节流阀处于全开)时的最小空气流量。

· 配件:油杯、视油窗

气源三联件型号意义,气源处理三联件使用说明

· 专用油

油雾器是以空气为动力,使润滑油雾化后注入空气流中,因此油雾器一般加的是润滑油,标准:ISO VG32

与国内的MRO电商平台相比,WKEA维嘉深耕工业品行业25年, 将更好的产品和服务以尽可能低的价格提供给客户 ,不仅保证了质量,更让客户感受到“买得放心,用得放心”。

大家还有什么想了解的,欢迎私信告诉小嘉。