web全栈开发培训中心上海非凡教育分享虚拟主机的数据的备份和恢复功能技巧。

备份方式
虚拟主机的备份分手工备份与自动备份两种。备份存储到单独系统提供的存储空间,不占用虚拟主机的网页空间和数据库空间。
手工备份
手工备份是指用户在控制台主动发起的备份操作,备份完毕后可随时*载下**和恢复。除非备份被主动删除,手工备份不会随时间滚动掉。
自动备份
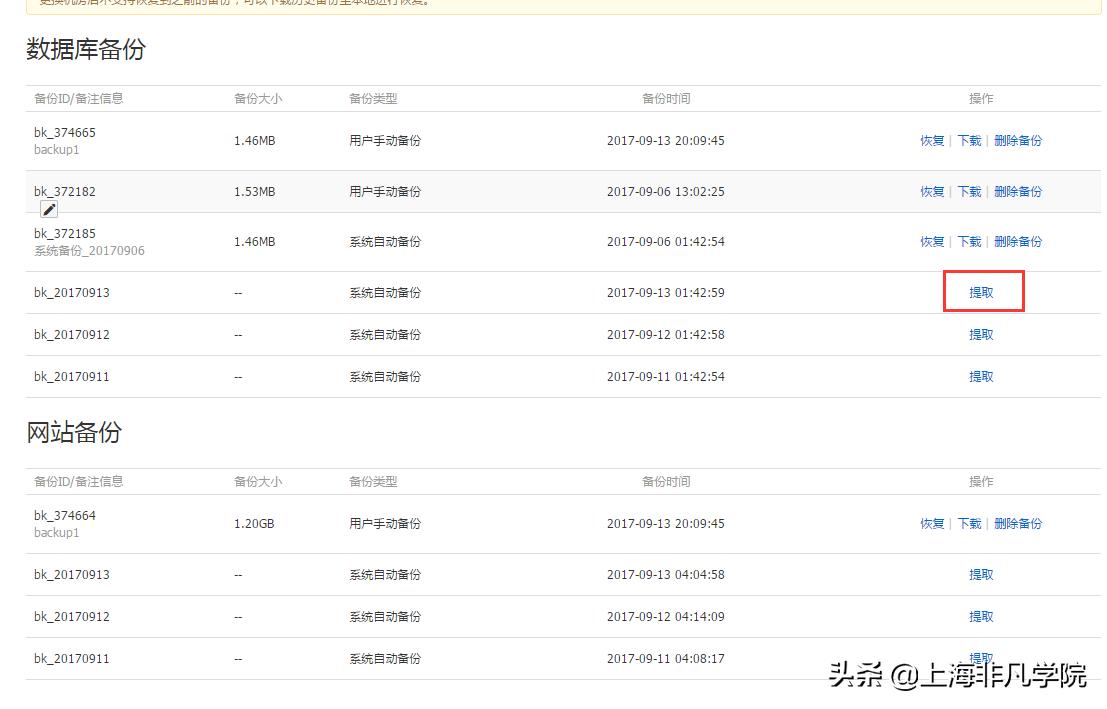
自动备份是虚拟主机产品通过自动快照方式为用户自动备份的数据,用户需要在提取备份后,对数据进行*载下**和恢复。自动备份默认保留3天以内的备份,随时间推移滚动保存。如周三的自动备份有周一、周二、周三当天的,周四的备份有周二周三、周四当天的,以此类推。备份时间在每天凌晨。提取之后的自动备份会保留下来,也不会随时间滚动掉,除非被主动删除,这一点跟手工备份一致。注意自动备份可能会因为机房维护,迁移等各种原因暂时停打,可能会出现某一天或者某几天的自动备份数据不存在的情况。
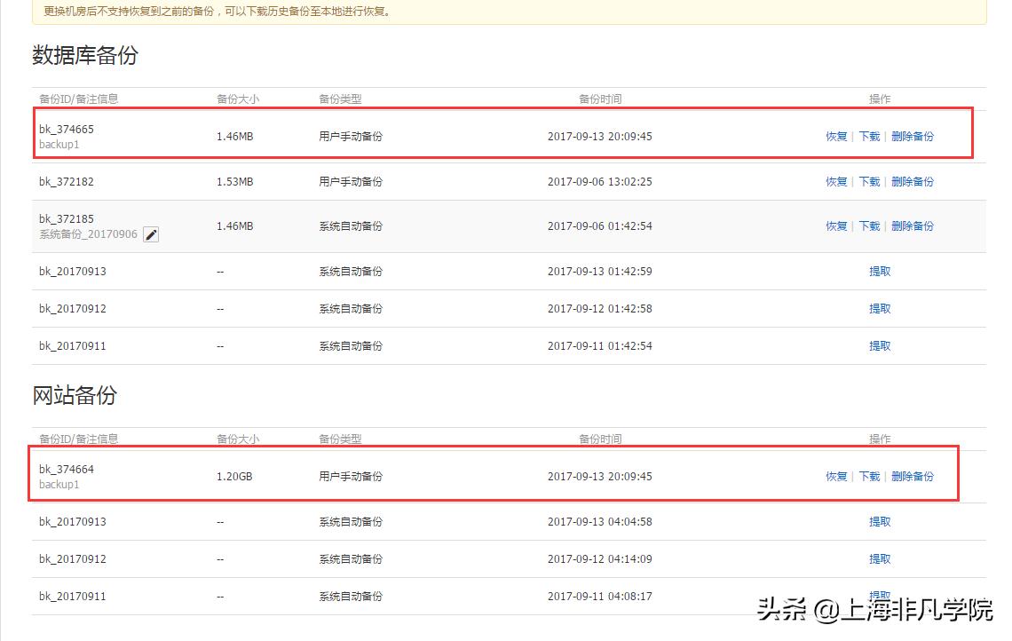
备份数据种类
虚拟主机的数据分站点数据(FTP下的数据)和数据库数据。因所属服务器不同,这两类数据的备份和恢复是分开展示与操作的。
备份的数量上限
手工备份和已经提取的自动备份的上限为3个,超过3个的时候,需要删除到3个以下才能继续备份或者提取操作。
恢复
虚拟主机的恢复可以恢复自动备份和手工备份,也可以将备份*载下**到本地进行查看。可以单独恢复或者*载下**站点数据或者数据库数据。
注意:恢复数据到站点和数据库,将会清空站点或者数据库的所有数据,请在恢复前确认原有的数据已经备份。
备份和恢复的操作流程

具体操作步骤演示
登录阿里云网站,打开虚拟主机控制台主机列表页面并点击对应主机后面的“管理”进入虚拟主机单机控制台。

点击页面上方的“工具服务”-“备份恢复”,打开备份恢复功能页面。

手动备份
点击页面右上方的“立即备份”

在弹出的提示框中,选择需要备份的数据,网页文件或数据库,或者全部备份。并输入备注,并点击确定。

页面会自动跳转到任务界面,请等待备份任务完成

状态变为“备份成功”,表示备份已完成。

此时查看备份页面,可以看到数据库和网站备份中分别多了一条新的记录,可供*载下**或者恢复。

自动备份
自动备份会自动展示到数据库和网站备份下方。

提取自动备份
点击备份列表中的自动备份后面的“提取”

根据弹出提示框,确认具体需要恢复的数据,并点击确定

确定后界面会自动跳转到任务界面,提示“提取中”

提取成功之后会收到短信/邮件通知,可以看到备份中自动多了一条可以恢复或者*载下**的记录

恢复
点击需要恢复的数据后方的“恢复”链接

根据弹框提示,选中需要恢复的数据,并点击确认。

会弹框确认是否恢复数据,及相关提示,点击确认

确定后界面会自动跳转到任务界面,提示“恢复中”

恢复成功后,状态自动更新为“恢复成功”

*载下**
点击需要恢复的数据后方的“*载下**”链接

弹出提示框,点击*载下**链接进行*载下**,备份会*载下**到本地。

本文来源:网络。(版权声明:推送文章和图片我们都会注明作者和来源,除非无法确认。部分文章和图片推送时未能与原作者取得联系,若涉及版权,烦请原作者联系小编更正,谢谢!)
通知丨2020ACA世界大赛非凡教育赛区赛事时间延长啦~
踏上新征程,荣耀再起航,贺非凡教育总部乔迁之喜!