动动手指就可以在网上办理动产抵押登记业务,足不出户即可办理动产抵押登记业务和查询相关公示信息。动产抵押登记“零接触、零见面”网上办理为经营主体排忧解难,经营主体利用生产设备、原材料、成品、半成品等动产到银行办理抵押*款贷**,盘活资产促进资金融通,您只需动动手指,破解资金融资困难问题触手可及,方便银企双方办理效率,真正实现“让数据多跑路,让群众少跑腿”。

动产抵押登记是企业、个体工商户、农业生产经营者在有资金需求的情况下,以现有的或者将有的生产设备、原材料、产品、半成品作为抵押物从而获取资金的一种渠道,有助于中小企业盘活资产和融资*款贷**,实现企业资源的合理配置。办理动产抵押登记,对债权人是一种有效的保护措施,抵押物经过登记后,债权人获得优先受偿权,可以善意对抗第三人,从而有效保障合法权益。动产抵押登记办理人可登录“全国市场监管动产抵押登记业务系统”(http://dcdy.gsxt.gov.cn)进行全流程线上办理动产抵押登记、变更、注销和查询(查询全国已登记完成数据)等业务。业务一站式办理和查询抵押登记,实现在线申请、在线审核、在线公示、在线查询一网通办,动产抵押登记办理人足不出户即可办理动产抵押登记业务,方便查询相关公示信息。

一、动产抵押登记机关及抵押人
(一)登记机关。抵押人住所地的市场监督管理局。
(二)抵押人。企业(含农专)、个体工商户和农业生产经营者三类。

二、可以抵押的动产
(一)《中华人民共和国物权法》第一百八十条“债务人或者第三人有权处分的下列财产可以抵押”第四项“生产设备、原材料、半成品、产品”。
(二)《中华人民共和国物权法》第一百八十一条“经当事人书面协议,企业、个体工商户、农业生产经营者可以将现有的以及将有的生产设备、原材料、半成品、产品抵押,债务人不履行到期债务或者发生当事人约定的实现抵押权的情形,债权人有权就实现抵押权时的动产优先受偿”。
(三)《中华人民共和国担保法》第九十二条“本法所称不动产是指土地以及房屋、林木等地上定着物”。“本法所称动产是指不动产以外的物”。

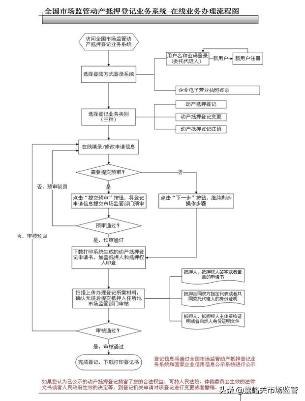
三、线上办理动产抵押登记操作流程
(一)搜索。可直接在搜索引擎中直接搜索“全国市场监管动产抵押登记业务系统”字样,直接进入登记系统。
(二)所需材料。(1)抵押人、抵押权人签字或者盖章的申请书;(2)抵押人、抵押权人主体资格证明或者自然人身份证明文件;(3)抵押人、抵押权人共同授权委托书(注明共同委托办理代理人身份证信息、联系电话、委托办理期限)及代理人身份证明。
(三)办事指南。
第一步:注册或登录
用户注册动产抵押登记业务办理人经过身份认证办理动产抵押登记、变更、注销相关业务。身份认证分为账号密码和电子营业执照两种方式。其中,通过账号密码登录需要注册新用户,通过电子营业执照登录无需注册。
第二步:登录办理业务
办理人在线登陆后即可办理动产抵押登记、变更、注销业务。用户点击系统首页的有关图标,进入业务列表页面填写相关信息。
第三步:提交预审
当您将网页上的信息填写正确完整后,就可以提交预审了。点击“提交预审”点击“确定”按钮,列表中显示的数据为提交预审的数据,状态为“待预审”。
第四步:上传电子文件材料
预审通过后,只需您将所有需提交的材料以扫描件的形式,上传附件至您预审通过的动产抵押登记信息中,然后提交审核。
第五步:*载下**动产抵押登记书
审核通过后,即可*载下**《动产抵押登记(注销、变更)书》。*载下**的登记书,加盖了登记机关的电子印章,可打印提交抵押人或抵押动产抵押登记办理人登录系统,进行身份注册后,按照提示逐步录入有关信息及材料,完成申请;市场监管部门有关工作人员按照要求进行审核,并将审核结果告知办理人。审核通过后,办理人可随时登录系统,*载下**打印加盖公章的《动产抵押登记书》等文书;审核通过后的登记信息,次日即在全国市场监管动产抵押登记业务系统和国家企业信用信息公示系统上同步进行公示。

最后温馨提示,现场登记依然保留,办理人仍可选择到所在地市场监管部门现场办理动产抵押登记业务,动产抵押登记线上、线下办理同效。联系电话:0937-6208031。