九年的高尔夫还值得买吗 (五六万左右的高尔夫)

在路上二手车

是一个主打二手车帮淘,检测,线上卖车,整备的团队;以天津为中心,服务全国,致力于搭建透明、公正的帮淘,帮检服务平台,让更多的人买到一台适合自己,物有所值的二手车。

大家好,我是老马,今天给大家分享一款车:高尔夫6。

今年4月,5月,分别给车友淘了两台高尔夫,一台是4月份给老客户淘的1.4T手波,另一台是5月底给老客户淘到的12款高6,1.6AT。

五六万块钱能买个高尔夫,五六万能买哪年的高尔夫

A需求介绍

车型:大众高尔夫6 2012款1.6AT

预算:5.8-6.5W左右

要求:无事故水泡火烧,过户次数尽量少

里程:10万公里之内

颜色:白色优先

选择理由:女生开,好开省心好用,看起来有品质,有质感。

B需求介绍

车型:大众高尔夫6 1.4T手波

预算:5-5.5W左右

要求:无事故水泡火烧,尽量一手车

里程:10万公里之内或左右

颜色:白色;

选择理由:现在开的经典福克斯也不错,底盘表现同级一流,但车子偏重一些,动力还是差一些,同级别想再换一台动力更好,更有质感的车子。

简单说一下高尔夫这款车:

百科:大众高尔夫(Golf)是一款1974年推出的经典掀背/小型家用车型。已经在全球市场推出了八代,是大众最经典的车型。作为全世界最成功的车型之一,高尔夫问世不到50年里,经历了8代革新,每一代高尔夫的独特创新,都引领着汽车界的时尚风潮,并一次次成为德系车严谨态度与追求品质完美的代表作。

高尔夫也是二手车市场里的硬通货,非常保值,如果第一次买车,预算5-6万不知道买什么,买高尔夫就对了。网上有段子说,大众只有一款车,那就是高尔夫。因为其他车都是通过高尔夫拉长加高加宽改出来的,有了高尔夫就有了大众的所有车型。

根据车友5.8-6.5的购车预算,以及喜好,我们把目标车型直接锁定为第六代高尔夫,今天我们的文章也以六代高尔夫为主;

五六万块钱能买个高尔夫,五六万能买哪年的高尔夫

高6是2009年后半年正式上市,出自大众的PQ35平台,属于大众*级A**车的第五代平台,同期大众途观,速腾,斯柯达明锐,奥迪A3,TT都是出自此平台;

从2010款一直到2012款,三个年度款,共计三个排量,1.6自吸和1.4T,2.0T(GTI),日常用那就单说1.6自吸和1.4T的车型,变速箱分为5档手动,6挡自动及7速干式双离合,自动挡这里需要注意的是,1.4T车型配备的均是7速双离合,而2010-2011款的高6,1.6自吸配备的还是7速双离合,只有12款开始,1.6自吸才搭配了稳定可靠的6AT,所以在购买时要特别注意,如果是10-11款的高尔夫1.6车型仍然是故障率较高的双离合。

但是如果你买到的是2013年生产销售的高尔夫6,如果搭载了这款双离合,且实际历程在16万公里之内,大众这里是有延保服务的,趁着还在有效期内,如果有问题,完全可以去4S店进行免费维修。

补充资料:2013年1月6日 大众汽车集团(中国)、大众汽车(中国)销售有限公司、上海大众汽车有限公司和一汽-大众汽车有限公司再次发出官方声明,称对2013年生产并销售的所有车辆所配备的DSG(DQ200/DQ250)变速箱,大众汽车在施行4年质保政策的基础上,同时再提供6年延长客户担保或累计16万公里(自购车之日起,以先到者为准)的质量担保。

五六万块钱能买个高尔夫,五六万能买哪年的高尔夫

说下高6的行情,10年-13年期间上牌的大致在4-7万之间,6万左右预算可以买到12年左右上牌的高尔夫;除了自动挡,手动的高尔夫也是非常值得入手的一台车,4-5万左右预算能买到1.4T+手动,简直是完美组合,可靠性,动力都兼顾到了。

五六万块钱能买个高尔夫,五六万能买哪年的高尔夫

这是今年4月份淘的那台12年上牌的,全车金属件仅有一块喷漆的高6,算是精品车况了,整体状态很佳,而且记得没错的话应该是全程4S店保养。

五六万块钱能买个高尔夫,五六万能买哪年的高尔夫

(这里也并不是鼓吹全程店保就一定比不在4S店保养好,只是从一方面可以说明此车的使用状态及公里数真实性)

五六万块钱能买个高尔夫,五六万能买哪年的高尔夫

车子过户后我特意找车友又试了试,作为两代福克斯原车主及马3原车主,简单分享几句这台1.4T手波高6的驾驶感受:

五六万块钱能买个高尔夫,五六万能买哪年的高尔夫

1.重心低,开起来很明显,比福克斯重心低,和马3差不多;

2.行驶灵活,作为几款车里面车长最短,轴距最短的高尔夫,过弯,并线的确灵活性更强;

3.小排量发动机低转速动力一般,中段到中后段动力强,后端加速弱;

4.空间感好,虽然说轴距并不占优势,但后排空间应该是优于其他几款车型的。

5.换挡行程短,手感爽;

6.油耗应该是这几台车里面最低的,平均6-7个油,这也是小排量涡轮增压的优势之一。

如果你不想要所谓的手波乐趣,想买台自动代步车,相比动力来说更想让可靠一些,那我建议你来选择2012款1.6自吸+6AT的车型,可靠性非常好,缺点就是动力,即使你地板油,他依然是一种不慌不慢的节奏,就算这样,油耗也是够低,百公里不超7L是常有的事。

五六万块钱能买个高尔夫,五六万能买哪年的高尔夫

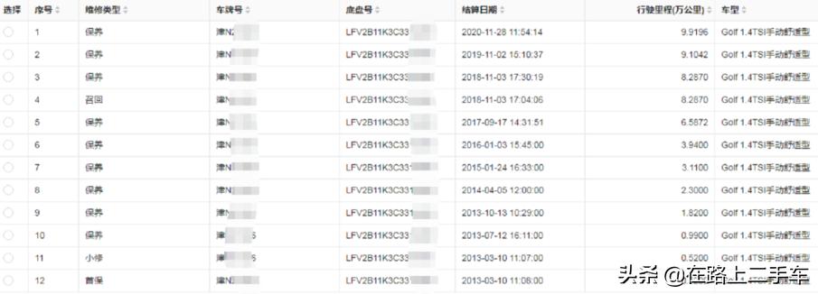
找这台12款的高6也是有一段时间了,那天比较晚了,想着在市场再找找,结果就发现了这台刚刚到店的车子,当天大致看了一遍,第二天详细做了检测。

五六万块钱能买个高尔夫,五六万能买哪年的高尔夫

五六万块钱能买个高尔夫,五六万能买哪年的高尔夫

五六万块钱能买个高尔夫,五六万能买哪年的高尔夫

五六万块钱能买个高尔夫,五六万能买哪年的高尔夫

车子整体不错,里程也少,检测后谈价,合适随即拿下;然后办理过户,提车到店,做常规整备。

五六万块钱能买个高尔夫,五六万能买哪年的高尔夫

五六万块钱能买个高尔夫,五六万能买哪年的高尔夫

五六万块钱能买个高尔夫,五六万能买哪年的高尔夫

五六万块钱能买个高尔夫,五六万能买哪年的高尔夫

五六万块钱能买个高尔夫,五六万能买哪年的高尔夫

五六万块钱能买个高尔夫,五六万能买哪年的高尔夫

五六万块钱能买个高尔夫,五六万能买哪年的高尔夫

五六万块钱能买个高尔夫,五六万能买哪年的高尔夫

五六万块钱能买个高尔夫,五六万能买哪年的高尔夫

这台12款1.6自动挡高尔夫整备项目不多,机油机滤更换,空滤空调滤更换,清洗节气门,补充胎压,玻璃水加满,添加防冻液,最后洗车拍照交付。

虽然是一台二手车,我们也希望把每一步都做细致,给大家比较好的提车,使用体验,当然过程中也有很多不足,也希望大家能够多多提建议,我们改进。

五六万块钱能买个高尔夫,五六万能买哪年的高尔夫

五六万块钱能买个高尔夫,五六万能买哪年的高尔夫

五六万块钱能买个高尔夫,五六万能买哪年的高尔夫

五六万块钱能买个高尔夫,五六万能买哪年的高尔夫

五六万块钱能买个高尔夫,五六万能买哪年的高尔夫

五六万块钱能买个高尔夫,五六万能买哪年的高尔夫

五六万块钱能买个高尔夫,五六万能买哪年的高尔夫

五六万块钱能买个高尔夫,五六万能买哪年的高尔夫

五六万块钱能买个高尔夫,五六万能买哪年的高尔夫

五六万块钱能买个高尔夫,五六万能买哪年的高尔夫

五六万块钱能买个高尔夫,五六万能买哪年的高尔夫

五六万块钱能买个高尔夫,五六万能买哪年的高尔夫

两台高尔夫都交付一段时间了,我们回过头来再来看高尔夫6这款车型:动力不是最强,配置不是最高,内饰不是最豪华,大众的新车型也非常多,从产品力来讲,高6一定不是最强的大众;

有时候我觉得“六代之后再无高尔夫”这句话对高6的确有点过誉,也可能是在当时,高尔夫6的产品力的确很强,那会大众在这款车上花入了很大心血,加上如今各大品牌推出的车型都有了长足的进步,包括我们的自主品牌;

五六万块钱能买个高尔夫,五六万能买哪年的高尔夫

高7上市时,大家纷纷表示:减配,不如六代;以至于高8上市后还有人高呼不如6代。

也可能是高6在当初的那一代人的心里有一个足够的分量吧!

毕竟,对于当时的国内消费者来说,高尔夫是最入门、同时也是最接近正宗“德味”的选择,没有之一。

话说回来,虽然高6并没有网传的那么神话,但如果你的预算正好是4-6万左右,不知道买啥,高尔夫6仍然是一个比较稳妥的选择。

以上就是这期的淘车日记,下一期你想看哪个?请在评论区留言。