一、熔模铸造
用易熔材料制成模型,然后用造型材料将其包住,经过硬化后,再将模型加热熔化、排出型 外,从而获得无分型面的铸型,浇铸后获得铸件的方法。
由于易熔材料主要成分是石蜡,因此,熔模铸造又称为失蜡铸造(lost-wax molding)。
工艺过程:

特点:
1、铸件精度和光洁度较高;
2、可浇注形状复杂的铸件;
3、能铸造各种合金;特别是高熔点合金;
4、铸件成本较高;
5、铸件的尺寸和重量受到限制;
应用
1、高熔点合金精密铸件的成批、大量生产;
2、形状复杂、难以切削加工的小零件;
二、金属型铸造
将液态金属浇入金属铸型中以获得铸 件的工艺过程。
金属铸型的特点:
1、金属铸型的特点:广泛采用垂直分型;
2、型芯常作成组合式,便于抽出;
优点:
1、铸型可以多次浇注,提高了生产率;
2、金属型冷速高,铸件结晶细密,提高机 械性能;
3、造型不用砂,改善劳动条件;
4、铸件尺寸精度提高,表面光洁;
不足:
1、制作金属型的成本高,周期长;
2、铸造工艺要求较严格。否则容易出现浇 不足、冷隔、裂纹、气孔等缺陷;
3、铸铁件容易产生白口;
用途:
大批量生产有色金属铸件

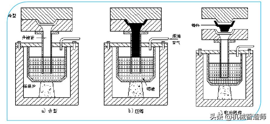
三、压力铸造
在压铸机的高压作用下,使液态金属 以高速压入金属铸型(压铸模)中,并在 压力下凝固的工艺方法。
优点:
1、铸件的精度和表面质量比其它铸造方法 都高;
2、可以铸出形状复杂的薄壁件;
3、可以铸出形状复杂的薄壁件;
4、能获得晶粒细小、组织致密的铸件;
缺点:
1、压铸设备造价高,铸型投资大,导致铸 件成本高于其它铸造方法;
2、压铸合金的品种有限,主要适用于低熔点有色金属;
3、铸件易产生气孔。

压铸机
四、低压铸造
使液态金属在压力作用下,自下而上地充填型腔,并在压力下结晶形成铸件的工艺过程。压力较低,一般为0.02~0.07MPa。
工艺过程:

特点:
1、充型平稳,排气易,气孔、夹渣少;
2、有效防止缩孔、缩松及铝合金的针孔;
3、节省补缩冒口,金属利用率提高到 90~98%;
4、能铸造各种合金;特别是高熔点合金; 能铸造各种合金;特别是高熔点合金;
5、铸件组织致密、力学性能好。
用途:
质量要求较高的铝、镁合金铸件的 大批量生产,如气缸、高速内燃机活塞 等。
五、离心铸造
将液态金属浇入高速旋转的金属铸型 (有时带有砂衬)中,使金属液在离心力 作用下而附着于铸型的内壁,经冷却凝固而成为铸件的一种铸造方法。
离心铸造分类:
立式离心铸造:适合于高度小于直径 的圆环类铸件
卧式离心铸造:适合于长度较大的套 筒类铸件

特点:
1、省去型芯和浇注系统,省工、省料;
2、铸件结晶细密,无缩孔、缩松、夹杂等 缺陷;
3、便于生产双金属铸件;
4、便于生产双金属铸件;
5、铸出的内孔不准确,内表面粗糙;
6、需要较多的设备投资,故不适宜单件小 批生产;

六、消失模铸造
将与铸件尺寸形状相似的泡沫模型粘 结组合成模型簇,刷涂耐火涂料并烘干后, 埋在干石英砂中振动造型,在负压下浇注,埋在干石英砂中振动造型,在负压下浇注, 使模型气化,液体金属占据模型位置,凝 固冷却后形成铸件的铸造方法。
工艺过程:

优点:
1、铸件精确(可达CT7至9),表面光洁 (可达Ra3.2至12.5μm );
2、取消了砂芯;
3、不合箱、不取模,简化造型工艺,消除 了因取模、合箱引起的铸造缺陷;
4、采用干砂造型,根除了由于水分、添加 物和粘结剂引起的各种铸造缺陷;
5、减少加工余量(最多为1.5~2mm),降 低机加工成本;和传统砂型铸造相比, 机械加工时间减少40%~50%。
6、固定资产投资减少30~40%,占地面积减 少30~50%,动力消耗减少10~20%;
7、简化砂处理系统,型砂可全部重复使用, 取消了型砂制备和废砂处理工部;
8、减少了粉尘,有害气体烟雾可以方便地实现集中收集并集中处理,改善了作业环境,因此消失模铸造被国内外的业界人士赞誉为绿色铸造。
欢迎大家留言补充指正文中不足之处,这样下一个阅读的人就会学到更多知识,你知道就是大家所需要的。
