所有的真空设备都离不开真空密封,所有的真空密封都怕泄漏。而所有真空设备,检漏都是最麻烦的事情。实现真空静密封比较容易,实现真空动密封比较困难,保证真空动密封不泄漏更难。如果采用无泄漏的磁力传动真空动密封就能解决许多泄漏和检漏的麻烦。
1、真空动密封的分类
在真空设备中,把运动传递到真空容器中所需要的密封连接称为真空动密封连接。
各种真空设备中的动密封连接实例很多:如各种容积式真空泵旋转轴的动力输入;真空阀门的开启和关闭;真空熔炼炉、真空热处理炉的送料、拉锭、浇铸等机构的传动;真空镀膜设备工件架的转动等。
真空动密封连接结构,与工作在常压下的密封结构有所不同。这种密封除了要求其结构本身有足够的强度、寿命和合理的外形尺寸之外,针对真空的特点,它还必须保证密封的可靠性,即动密封连接在长期工作中必须保证外界环境不向真空容器内漏气,或使漏气维持在设计要求的范围之内。

图1 真空动密封的分类
就真空容器所要求的传动性质来看,动密封所传递的运动主要有往复直线运动、旋转运动、摆动运动和包括这三种运动形式的复合运动等四种情况。为了实现这些运动,并且根据真空的特点,动密封连接在很大程度上决定于密封部分所采用的方法。其分类如图1所示。
2、接触式真空动密封
在接触式真空动密封中,根据采用的密封物质可分为固体密封和液体密封两种形式。
2.1固体接触式真空动密封的结构及特点
(1)J形橡胶圈密封结构
J形橡胶圈的工作原理是利用安装后中央凸起,并紧箍在旋转轴上呈锥形的橡胶垫圈,当内部达到真空时,外部大气压力把橡胶圈紧紧地压在转轴上而达到真空密封的目的。多适用于线速度小于2m/s、转速小于300rpm的真空转轴密封中。
(2)JO形橡胶圈密封结构
JO形橡胶圈的密封结构是带锁紧弹簧的结构,它是在J形橡胶密封圈结构的基础上改进而成的。它的效果更好,使用的转速小于2000rpm。油封式机械真空泵的轴封装置常采用这种密封结构。其轴径范围为φ6mm~φ200mm。
(3)O形橡胶圈密封结构
O形橡胶圈密封结构又称为橡胶填料盒密封,这种密封能传递圆周速度不大于2m/s的旋转运动而且还能传递真空度不高于1.3×10-4Pa,速度小于0.2m/s的直线运动,其轴径范围为φ3mm~φ200mm。
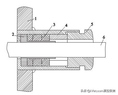
在上述几种动密封装置中都需要采用真空润滑油润滑。为了实现密封装置本身能自给润滑,可借助氟塑料进行真空动密封。这是一种利用能自给润滑的氟塑料材料制成的动密封装置,如图2所示。由于氟塑料本身弹性较差,易产生较大的残余变形,因此在结构上采用了附加橡胶垫圈,把橡胶垫圈装在密封件外面,再用螺母压紧,就可以保证氟塑料密封圈能与轴均匀而密实地压紧。这种结构对轴的表面粗糙度要求相当严格。
旋转运动自润滑动密封装置还有另一种结构:法兰内装聚四氟乙烯轴套。它既是轴的轴承,又是辅助的密封件。动密封结构的基体内装有支承环、中间环、聚四氟乙烯垫圈等,动密封结构的基体通过橡胶圈进行密封,外橡胶垫圈的作用在于补助氟塑料垫圈的弹性,以保证它对轴表面弹性压缩和对基体的内表面与中间环接合处的气密性。

图2 利用氟塑料衬套的动密封结构
1.密封座;2.氟塑料;3.橡胶圈;4.压垫;5.压紧螺母;6.转轴
固体接触式真空动密封虽然具有结构简单、成本低廉、传递转矩大、易于发现故障等一系列优点,但是为了防止轴在高速旋转下气体的泄漏,只能通过增加密封接触界面上的压紧力来保证。由此而产生的摩擦发热,不但功耗损失大,使用寿命短,橡胶密封圈需要经常更换,而且产生气体泄漏的问题更难以解决。因此在要求真空容器内漏率极小的设备上,这种密封装置的采用就受到了限制。
2.2液体式真空动密封的结构及特点
目前,液体式真空动密封有两种形式。
(1)液态金属真空动密封
液体用于真空动密封的结构原理如图3所示。

图3采用液体密封物质的真空动密封结构原理
图3(a)采用液体薄膜密封,它是利用小间隙中液体薄膜的表面张力和压差的平衡状态来实现的。在转轴处于静止状态时,其可靠的密封条件是:
δ<2γ/p1
式中γ——流体的表面张力,其值见表1;
p1—密封外侧的压力。
图3(b)是液体压差密封的装置,其中(p1-p2)应该等于液柱高ΔX的压强,为了减小所需的液柱高度,一般把密封器设置在真空室与单独抽真空的中间室之间。这种装置的缺点是它只能用于轴处在垂直的位置,而且需要设置中间抽气室。一旦中间室的压力增大,就会产生向真空室喷出密封流体的危险。

表1 几种液体的表面张力
注:1Torr=133.322Pa,下文同。
液体密封在高温下工作时,流体的蒸汽有污染真空室的可能性。几种易熔金属的蒸汽压力值见表2。由表2可见,这些金属作为液态密封物质是可以的。

表2 易熔金属的蒸汽压力
(2)磁流体真空动密封
磁流体就是由磁性纳米颗粒,经过特殊处理将其均匀地分散到具有很低饱和蒸气压的液体(载液)中,通过分散剂与液体混合后既不沉淀,又不凝固的一种固液相结合的胶状液体。它既有液体的流动性又具有磁性。磁流体真空动密封就是基于这种特性而实现的,其原理如图4所示。
圆环形永久磁铁1、极靴2和放置轴3所构成的磁性回路,在磁铁产生的磁场作用下,把放置在轴与极靴顶端缝隙间的磁流体4加以集中,使其形成一个所谓的“O”形环,将缝隙通道堵死而达到密封的目的。
这种密封方式可用于转轴是磁性体[图4(a)]和非磁性体[图4(b)]两种场合,前者磁束集中于间隙处并贯穿转轴而构成磁路,而后者磁束不通过转轴,只是通过密封间隙中的磁性流体而构成磁路。

图4 磁流体的真空动密封原理及其密封方式
1.永久磁铁;2.极靴;3.放置轴;4.磁流体
这种密封技术具有如下特点。
①磁性流体密封真空转轴可消除密封件与轴间接触所产生的摩擦损失,提高轴的转速(可达120000rpm),极大地减少泄漏。如果采用低蒸汽压的磁性流体,可将真空室内的真空度维持在1.3×10-7Pa以上。而且与固体密封相比较可以极大地减少功耗。
②磁性流体的密封结构简单、维护方便、轴与极靴间的间隙较大,因此可不必要求过高的制造精度。
③磁性流体在密封空隙中是由磁铁所产生的磁场所固定,因此转轴的启动和停止较方便。这种密封装置的缺点是磁性流体在高温下难以稳定,工作温度一般在-30℃~120℃之间,轴在过高或过低温度下工作时须采用冷却或升温措施,从而使密封结构复杂化,适用介质的种类范围窄,耐高压能力差。
本文首发于《真空》杂志2014年第1期
原文标题:无泄漏的磁力传动真空动密封
文章作者》王德喜1,谢元华2,赵克中3,徐成海2
作者单位:1.沈阳工业大学化工装备学院;2.东北大学机械工程与自动化学院;3.甘肃省科学院磁性器件研究所