文 | 老白史记
编辑 | 老白史记
引言
假设你在一座繁华的城市里散步 ,你会看到路边的树木,它们茁壮成长,给城市注入了一份生机和清新的气息。然而一旦当城市发展需要建设新的基础设施时,这些树木却面临着被 砍伐 的命运。这样的情景也许在你身边并不少见。

如果有一种技术可以将这些 树木移植到新的位置 ,让它们继续为城市绿化和生态平衡做出贡献,那么这将是多么美妙的事情!移树技术就是这样一种技术,它可以帮助保护城市里的成熟树木,让城市变得更加宜居,同时也可以帮助保护生态环境,让我们的地球更加美丽。
本文将为大家详细介绍移树技术的起源与发展、工作原理、核心技术、应用场景和发展前景等方面,帮助读者全面了解这项令人兴奋的技术。
一、定义
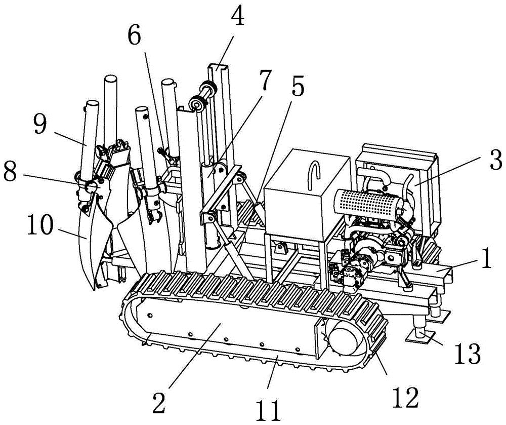
移树机是一种新型机械设备,其主要功能是在建筑工程中将大树或树木移植 到其他地方。它可以轻松地挖掘和转移大型树木 ,而不会对它们造成太大的伤害,从而使这些树木可以在新的环境中继续生长。移树机可以在各种场合中使用,例如在城市公园、大型建筑项目、公路建设等。

移树机的主要工作原理是使用其大型机械臂来挖掘树木的根部,然后将其从原始位置转移到新的位置。这种机器有多种尺寸和形状,可以适应不同类型的树木和不同大小的工程。移树机还具有其他优点,例如高效、可靠、节省时间和劳动力,以及减少对环境的影响等。
二、起源与发展
它的起源可以追溯到19世纪,当时一些人开始尝试用机器来移动树木,以避免砍伐大量树木。最初的移树机非常简单,通常由手动操作的脚踏板、滚轮和绳索组成。
20世纪初,移树机的设计和技术开始得到改进。1913年,美国农业科学家E.E. Riehl发明了一种可以将直径达30英寸(约76厘米)的树木移动的移树机。该机器由两个车轮和两个移动臂组成,可以准确地控制树木的移动。这项技术很快就在美国的农业和园艺领域得到了广泛应用。

20世纪50年代,随着液压系统的出现,移树机的设计和功能得到了进一步的 改进 。液压系统的加入使得移树机可以更加准确地控制树木的移动,提高了移树机的效率和精度。移树机的使用范围也开始扩大,不仅在农业和园艺领域得到了应用,还开始用于城市绿化、建筑工程等领域。
随着科技的不断进步,移树机的设计和技术得到了进一步的 改进 。现代移树机具有更加先进的液压系统、更强的动力和更高的移动速度,可以处理更大的树木和更复杂的地形。同时,一些移树机还配备了智能控制系统,可以实现自动化操作和远程控制,提高了移树机的精度和效率。

三、优缺点
优点
移树机在建筑工程中具有许多优点。移树机可以轻松地挖掘和转移大型树木,而 不会对它们造成太大的伤害 。移树机可以快速完成树木的移动,相比于人工来说,移树机可以提高工作效率,减少工程时间和劳动力成本。另一方面移树机还可以减少对环境的影响,避免砍伐大量树木和破坏土地表面,从而保护生态系统。
另一个优点是移树机可以提高树木的 存活率 。传统的树木移植方式往往会对树木造成较大的伤害,导致其难以生存。而移树机采用机械挖掘方式,可以更加准确地控制挖掘深度和根部损伤程度,从而减少树木受损的可能性,提高树木的存活率。

除了在建筑工程中的应用,移树机还可以促进城市绿化和生态保护。随着城市化进程的加速,城市绿化面积不断减少,移树机可以将树木从不合适的地方移动到合适的地方,为城市绿化提供更多的机会和空间。
缺点
管移树机在树木移植方面具有许多优点,但它们也存在一些缺点,下面是一些主要的缺点:
成本高:移树机的价格通常 较高 ,对于小型园艺和农业生产来说可能不经济实用。还有维护和修理移树机也需要高昂的成本。
受限于树木品种和尺寸:移树机的移植能力通常受限于树木的品种和尺寸。大型和老树的移植可能需要更大的移树机或更多的人力,以及更长的时间和更高的成本。

操作要求高:操作移树机需要专业的技术和经验,特别是在复杂的移植任务中。误操作可能会导致树木死亡、机器损坏以及人身安全事故等问题。
损伤树木:即使是在操作得当的情况下,移树机仍然可能对树木造成损伤。机器的移动和振动可能会破坏树木的根系或干枝,影响树木的生长和健康。
对生态环境的影响:移树机在树木移植时可能会破坏周围的土壤、植被和生态环境,特别是在繁忙的城市建设环境中。移树机使用的燃油和润滑剂在使用时也可能对环境造成负面影响。
限制移植时间:移树机的移植时间通常限制在春季和秋季之间,这是树木成长周期的关键时期。在其他时间进行移植可能会对树木的生长和健康产生不利影响。

四、工作原理
的工作原理可以简单地分为以下几个步骤:
移树机需要移动到需要移植的树木旁边,通常需要一个 平坦、无障碍的工作区域 来进行操作。
移树机的夹持器需要紧紧地包围住树木的根部。夹持器的设计可以根据树木的尺寸和形状进行调整,以确保紧密包围树木并避免损坏根部。
移树机开始挖掘树木的根系。移树机通常使用钢制刀片或钻头来挖掘树木的根系。挖掘根系时,移树机需要小心谨慎,以确保尽量减少对树木的伤害。
在移树机挖掘完整个根系后,它将树木和根系抬起,以便在移植位置重新安置。移树机的设计可以确保树木在运输过程中保持稳定,并避免树木在运输过程中移位或受到损害。

移树机将树木慢慢放下并移动到新的位置。在移动过程中,移树机需要注意地避免碰撞障碍物和损坏树木。在新位置上,移树机可以重新埋入树木的根系并加固。
五、核心技术
移树机作为一种专业的设备,其核心技术主要包括以下几个方面:
夹持器设计:移树机需要有一个夹持器来紧紧地包围住树木的根部。夹持器的设计需要考虑到树木的 大小、形状和根系的情况 ,以确保夹持器能够牢固地夹住根部,并避免损伤。
挖掘技术:移树机需要能够准确地挖掘树木的根系,这需要一些专业的挖掘技术和工具。比如,移树机可以使用钢制刀片或钻头来挖掘树木的根系,而这些刀片和钻头需要设计得足够锋利和耐用。

运输技术:移树机在运输树木时需要非常小心 ,以确保树木不会移位或受到损害。为此,移树机需要设计稳定的运输机构,以便在运输过程中保持树木的平衡和稳定。
重植技术:重植是移树机的最后一个关键技术。在新位置上,移树机需要重新埋入树木的根系并加固,以确保树木可以快速适应新环境并恢复生长。这需要一些专业的土方技术和工具。
控制系统:移树机需要一个高效的控制系统,以确保各个环节都能顺利进行,并避免对树木造成损害。控制系统可以包括一些传感器、液压系统和计算机控制系统,以实现自动化操作和精确控制。

六、应用
移树机在建筑工程中有许多应用。在城市公园和城市绿化工程中,移树机可以帮助将大树移植到新的位置,以便为公共空间创造更好的绿色环境。在大型建筑项目中,移树机可以挖掘和转移树木,以便在新建筑物周围为树木留出空间。在公路建设中,移树机可以将树木转移,以避免砍伐和毁坏大量树木 。
除了上述应用外,移树机还可以用于应对自然灾害。在飓风、地震、山火和洪水等灾害发生时,移树机可以用来转移受影响的树木,以便将它们移动到安全的区域,避免对人和财产造成损害。
七、发展前景
移树技术作为一种重要的生态修复和城市绿化手段,在未来具有广阔的发展前景。

绿化工程需求:随着城市化进程的加速,越来越多的城市面临着 空气污染、水资源紧张、土地退化 等问题。移树技术可以帮助城市将现有的成熟树木迁移至新的位置,使城市绿化工程更加高效、环保、经济。
生态修复需求:在生态修复工程中,移树技术可以帮助保护和转移受保护的濒危植物,同时帮助保护栖息地和重要生态系统的连通性。这对于维护生态平衡和生态系统健康非常重要。
基础设施建设:在基础设施建设方面,移树技术可以帮助挽救因建设而受到威胁的古树名木等文化遗产,同时也有助于保护水源、土壤等重要资源。
创新技术应用:随着移树技术的不断发展和创新,相关行业也将得到提升。在农业领域,移树技术可以帮助农民转移农作物,提高农作物的生长质量和产量,为农业现代化提供支持。
结论
我们从中可以发现移树技术不仅可以帮助城市绿化和生态修复,还可以 保护古树名木等重要文化遗产 。它是一种生态友好的技术,可以最大程度地减少树木被砍伐对生态环境造成的影响。随着技术的不断发展和应用,移树技术也将在更多的领域得到应用和拓展。

笔者认为
移树技术的出现,不仅是科技进步的体现,更是对我们 对生态环境的珍视和保护的表现 。在我们可以想象,移树技术将继续在城市绿化、生态修复、文化遗产保护等领域发挥重要的作用,为人类创造更美好的生活环境,同时也为我们赖以生存的地球提供更好的保护 。
参考文献
[1]袁娜. 移树机的研究进展[J]. 环境科学学报, 2005, 25(2): 189-194.
[2]吴瑞清, 谢红林, 蔡志龙, 等. 移树机的设计与试验研究[J]. 农业机械学报, 2010, 41(9): 34-38.
[3]吴明, 杨波, 段崇智, 等. 移树机械技术在城市生态建设中的应用[J]. 农业工程学报, 2011, 27(22): 197-202.
[4]王忠良, 李国祥, 胡大伟, 等. 移树机的工作原理及其在城市绿化中的应用[J]. 农村科技, 2014, 11: 133-135.
[5]蔡春燕, *平胡**, 吴平, 等. 移树机技术在文化遗产保护中的应用[J]. 中国文化遗产, 2016, 3: 72-76.
[6]洪海, 梁梅华, 童向红. 移树机技术在现代城市绿化中的应用前景[J]. 现代园艺, 2019, 47(4): 75-78.