电焊机
1. 通常变压器的次级输出不能短路,而电焊变压器则是在短路状态下工作。 2. 普通变压器在带负载运行时,其次级电压随负载变化很小,而电焊变压器则要求在焊接时具有一定的起弧电压45V~75 V。在焊接电流增大时,输出电压就迅速下降到20V~40V。 3. 普通变压器的初级和次级绕组是同心地套在一个铁芯柱上,而电焊变压器的初级和次级绕组则分装在两个铁芯柱上(或外加漏抗器)。 日常生活中,有时需短时应急焊接,制作一台简易家用电焊机便可解决问题。下面是家用220V 8KW左右电焊机的两种制作方法:
方法一:选用截面积为40cm2左右的口字形硅钢片铁芯柱,绕组
分别绕于口字铁芯的2个柱上,初级线圈用φ2mm的纱包铜线,在其中一个柱上绕330匝(接220 V交流电用),次级用2mm×6mm 扁铜线(俗称铜排)绕102匝得空载电压68V,供焊接用,分2半,一半绕在初级线圈上(与次级线圈间加隔绝缘层),另一半绕在另一个柱上。铜线的层与层之间要用绝缘片隔开一定空间以利散热,必要时,可根据风扇规格(电压、交直流等)加接风扇。如上图1所示。
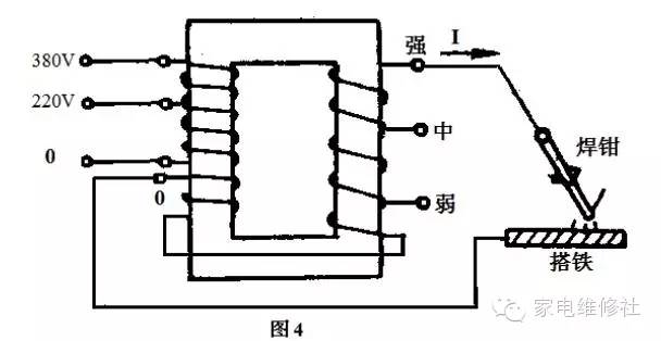
方法二:选用截面积为40cm2左右的口字形硅钢片铁芯柱,绕组分别绕于口字铁芯的2个柱上,初级线圈用φ2mm的纱包铜线,在其中一个柱上绕330匝(接220 V交流电用),次级用2mm×6mm扁铜线(俗称铜排)在初级线圈上加隔绝缘层后绕40匝,转到另一个柱上绕35匝抽头为“弱”档,空载电压为50V,再绕15匝抽头为“中”档,空载电压为60V, 再继续绕15匝抽头为“强”档,空载电压为70V。铜线的层与层之间要用绝缘片隔开一定空间以利散热,必要时,可根据风扇规格(电压、交直流等)加接风扇。如下图2所示。
另外,还可在220V的一端用φ1.5mm的纱包铜线继续串绕278 匝用于接380V(共608匝),次级匝数可不变。如图下3、图4所示。此时,图3中的空载电压将降为63.75 V,图4中的“弱”档空载电压将降为46.875 V,“中”档空载电压为56.25V,“强”档空载电压为65.625V。
上述家用电焊机初级空载电流在1A左右,空载损耗一般约为 200W。使用中注意电焊机的温升,常用手触摸一下线圈温度不宜超 过60℃,若有明显温升,应停止工作,让其自然冷却一会再使用。

电焊机的主要功能是焊接。但我在多年的设计、制造、使用中探索出该机的多项其他用途。现将部分技巧简述如下:
(1)在机电设备维修时往往遇上旧设备螺丝拧不动,在这种情况下电焊机就能帮上大忙。方法是:将电焊机的电流调成最大,电压调到最低。用电焊机地线接外壳,用电焊钳子挟住一块碳精棒接要拧的螺丝上。通电几分钟到螺丝发热发红即停机趁热滴上点机油或其它油,,待螺丝凉透后一拧即掉。
(2)在电机电器维修中遇到铜线、铜排等特殊的部件,部位不能用明火焊接(气焊)时,可用电焊机低电压,电流经调整后通过碳棒接到焊接部位上,可用银焊片或磷铜、焊锡等加助剂进行焊接,也可使铜线自身焊接。
(3)在电机维修换线圈时,可用电焊机的低电压大电流进行定转子线圈的烘干、排潮,以替代烘干箱。
做法:将电机端盖卸掉抽出转子,把电机定子线圈抽头,如abc(头)接在一起,def(尾)接在一起,接通电焊机二次电源,再调电焊机的电流大小控制电机定子线圈的温度,也可把转子插入定子线圈以调节线圈温度。此方法升温快、湿度均匀、不择场地,是节时、节能、省力的措施。
| 支持我们请点赞或转发 版权免责声明:联盟致力于好文共享,推送文章部分源于网络,版权归原作者所有,若涉及版权问题,烦请原作者联系我们,我们会在24小时内删除处理,谢谢! |