商业银行发行的100%保本型理财产品,目前在售信息一览,预期最高收益率可达4.3%
原创作者:有料的银姐、财经有料哥,更多内容,公众号:财经天天有料
如今的社会,理财陷阱那么多,我们更加要学会分辨:究竟什么是非法集资?非法集资活动有哪些特征?我们在理财时要如何避免踩坑?理财的正确思路应该是什么?#防范非法集资#
由于大多数人并没有进行系统学习和掌握专业的金融理财知识,因此,要防范非法集资,除了抽空关注我们的号学习一些理财投资专业知识外,最为便捷的操作方式就是通过正规专业的持牌金融机构,比如商业银行、证券公司、保险公司、信托公司、公募基金管理公司等等,寻求他们的专业咨询和理财投资产品服务。

很快就是周末了,平时工作繁忙的读者也可以有时间去开户银行网点柜台办理业务了,银姐今天继续和大家介绍目前在售的由银行发行的100%保本型理财产品。
一直有读者留言问某些城商银行甚至农商行的理财产品信息,但考虑到商业银行营业网点分布区域和整体资产信用评级等等综合因素,银姐目前只筛选出像工行、建行、中国银行、农业银行、交通银行和邮储银行这样的国有大行,以及招商银行、中信银行、兴业银行、平安银行、华夏银行、光大银行、浦发银行、民生银行等等大型股份制银行所发行的保本型理财产品信息,其他由城商行、农商行和民营银行所发行的理财产品,就暂时不为大家介绍和分享。

银姐今天分享的资讯全部是“保本型理财产品”,至于那些非保本型理财产品,以及各款理财产品相关的认购操作流程细节、产品说明书等详情细节,请咨询相应发行银行的客服中心。
注意事项:以下各款理财产品都已经在中国银行保险监管委员会办理了登记备案,并由各大商业银行发行。理财产品(包括目前各银行理财经理大力推荐的结构性存款产品)并非储蓄存款,不受《存款保险条例》保障,由发行银行对投资本金提供到期100%兑付的承诺。

首先,投资者最关心的是投资收益率。
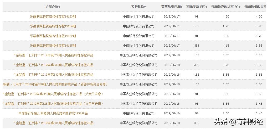
下面是预期最高收益率最高的在售保本型理财产品:

其中,由中信银行发行的这款94天期限的结构性投资类理财产品,预期收益率区间3.40-4.30%:

在国有大行里面,目前在售的预期收益率最高的保本浮动收益型理财产品是下面这款,由农业银行发行,182天期限,预期收益率区间3.75-3.85%:

其次,由于结构性存款的最终收益率能达到多少,由其挂钩标的的市场价格表现决定。因此,广大投资者也可以重点关注一下预期最低收益率最高的理财产品情况。
目前预期最低收益率最高的一批产品如下:

排在前列的依然是由中信银行和农业银行发行,建设银行发行的这款421天期限的混合类投资方向的理财产品,排在它们之后,预期收益率3.35%:

第三,在流动性方面,期限在182天也就是半年以内的短期理财产品有以下这些:

喜欢我们原创财经文章的话,不妨关注一下,点个赞、留言和转发分享。