中国每年都有几十万医学临床毕业生,除少部分优秀毕业生可以顺利保研外,绝大部分同学都需要面临考研的问题。考研与否,似乎是医学类,尤其是临床类同学必须经历的一件事。本文就从考研的必要性、择校、志愿填报等几个方面进行阐述。
一、考研的必要性:
1.从时间效益:众所周知,临床本科毕业生,在未来要晋升中、高级职称,规培这一关是绕不开的。规培需要三年时间,而读临床硕士,一般也是三年。倘若能顺利考上研究生(专业型),那么通过这三年的学习,你将会获得硕士毕业证书、学位证书、住院医师规培证书以及执业医师证书,简称“四证合一”。若毕业后单纯规培的话,同样的三年时间,你就只能获得“住院医师规培证书、执业医师证书”。虽然部分省份有政策说,规培期间表现优异,可以申请硕士学位,但其含金量和难度就不得而知了。
2.未来发展:说实话,可能就医学类的学历要求如此之高了。现如今想进入一个好的工作单位,硕士是起步(合同制,无编制),常规是博士。学校附属医院的要求更高。当然,不乏很多同学不想工作压力太大,选择县一级的工作单位。这类单位要求就相对低一点,但慢慢的硕士也非常常见了,优势并没有很大,本科以下就更不用说。
二、择校方案:知晓考研的必要性,确定考研后,那么择校也就随之而来。政策规定,考研填报志愿时,只能填写一个志愿一个专业,和高考大为不同。如何确定目标院校,确实是一件难事。我就从一下几个方面进行说明。
1.充分评估自身实力:正所谓“知己知彼,百战不殆”。评估自身实力十分重要。如何进行评估呢?我觉得评估的方法主要有包括:英语和专业水平。①英语的重要性不言而喻,各大院校划线时都有一个单科线,很多学校还有单独的英语线。我觉得可以结合四六级考试、平时期末考试英语成绩、英语真题等几个方面进行评估。若你的英语成绩能保证≥65以上,那么绝大多数院校(华西、华中科大部分医院、*京大南**学医学院太过于变态)初试时至少不会因为英语挂掉。当然好一点学校单科线多为50/55。②西医综合:西综300分,决定的是你能不能考研研究生。生理生化、病理,内外诊断,六门是主要的考察内容。从本科各科成绩、平常真题以及模拟题完成情况,评估自身情况。要考上研究生,最少180分就要吧。要想考上还不错的学校,建议至少210以上。③思想政治:这个没啥好讲的,好好复习,认真记住知识点、背题,60分以上还是有的,问题并不大。
2.了解医学类高校实力:人的本性之一就是仰慕强者,我们也想上一个实力强劲的好学校。个人认为,至少可以从下榜单中了解到该类信息。
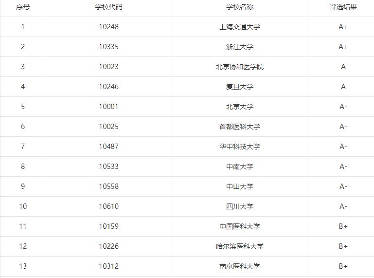
①教育部医学类学科评估:把这个排第一,相信大家都没有争议。评估结果按“分档”方式呈现,具体方法是按“学科整体水平得分”的位次百分位,将前70%的学科分9档公布:前2%(或前2名)为A+,2%~5%为A(不含2%,下同),5%~10%为A-,10%~20%为B+,20%~30%为B,30%~40%为B-,40%~50%为C+,50%~60%为C,60%~70%为C-【1】。

教育部临床医学学科评估11

教育部临床医学学科评估2
②上海软科排名:软科最好大学排名,相对于其他大学排名,个人觉得比较公平。但不足就是只有最好医科大学排名,不含综合性大学的医学院【2】。

软科医学类高校排名
③校友会排名:校友会大学及学科排名,一年更新一次,国内应用较多但争议较大【3】。

校友会医学类大学排名
3.最最最重要的:综合自身实力和院校实力,结合地域等相关因素,确定几所目标院校。然后进入更大院校的研究生院官网,查询历年分数线、进入复试名单等资料,综合评估。
三、志愿填报:
1.登入唯一官方官网:https://yz.chsi.com.cn/;时间:①预报名:每年9月下旬的几天(具体等官网通知)。(为了分流,针对应届毕业生,不修改的话报名有效;亦可在正式报名时修改。建议应届生填报,熟悉系统);②正式报名:每年10月中旬-下旬10月【4】。
2.提醒:临床类尤其重要,相关专业分为专业型硕士(1051--)和学术型硕士(1002--),代码不同,需注意区别。每年都有不小心填错的,十分可惜。
3.专业型硕士和学术型硕士的选择与区别:①专业型硕士,三年基本在医院上班,同规培几乎一样,不同的就是有毕业压力,需要准备毕业论文,有的学校还要发一定级别的专业论著。像笔者南方某医科大学,需要发表中文核心期刊的专业论著,导师又没课题,压力山大。②学术型硕士:培养模式几乎时研一上学期在校上课,其后进入导师所在单位进行课题研究。学术型硕士主要在实验室进行,临床压力较小但科研压力较大,发文章的话要求应该更高。个人建议,对于有科研兴趣,家境尚可的同学可报考学术型研究生,其报考压力相对较小且未来发展会更好。
以上部分数据来源:
【1】http://www.cdgdc.edu.cn/xwyyjsjyxx/xkpgjg/
【2】http://www.zuihaodaxue.com/zuihaodaxuepaiming-yiyao-2020.html
【3】http://www.cuaa.net/paihang/news/news.jsp?information_id=136777
【4】https://yz.chsi.com.cn/kyzx/kp/201909/20190912/1822958417.html