
滚动轴承在工作时,滚子应在内、外环滚道上作纯滚动。要使滚子作纯滚动,必须在滚道与滚子间有足够的拖动力以克服阻碍滚子 保持架组合体作正常运动的阻力。否则轴承不能按游星齿轮系的关系运动(内环相当于主动齿轮,滚子相当于游星轮,保持架相当于游星架,外环相当于太阳齿轮),滚子就会在滚道上打滑形成滑动摩擦。
由于滑动摩擦系数大于滚动摩擦系数,加上某些外来因素使得滚子与内、外环滚道上形成干摩擦,引起滑蹭,造成滚子与内、外环滚道上出现蹭痕和表面局部磨损等,即所谓的“滑蹭损伤”。轴承一旦出现滑蹭损伤,表面光洁度被破坏,摩擦系数加大,加速了磨损过程,使滚子直径变小,滚道上出现不均匀的槽痕,轴承损坏,对转子的工作带来危害,直接影响发动机的正常工作。
应当指出的是,滚动轴承打滑并不一定都会引起轴承滑蹭,只是在某些情况下由于外部条件的作用才会引起滑蹭,但是只要轴承出现滑蹭损伤,那么,该轴承一定打滑。即滚动轴承的打滑是引起轴承滑蹭的先决条件,为避免轴承出现滑蹭损伤,必须采取防止滚动轴承的打滑。

滚动轴承工作时,作用于保持架 滚子组合体的拖动力主要是轴承在外负荷作用下滚子在内、外环间的摩擦力;当保持架定位于内环上时,保持架与内环间的滑油油膜黏性力还能产生部分拖动力。而阻碍保持架滚子组合体运动的阻力则有:保持架 滚子的质量惯性力、滑油在轴承内的扰动力、保持架与外环滚道间的油膜黏性阻力(如保持架定位于外环时)等。
一般机械中使用的滚动轴承由于转速低,且始终有负荷作用其上,很少出现打滑现象。但是航空燃气涡轮发动机主轴承却很容易打滑,这是因为:
(1)转速高。在高速作用下,滚子在大的离心力作用下有脱离内环滚道接触的趋势;
(2)负荷小。航空发动机的转子均做得较轻,使作用轴承上的径向负荷小,加上飞机作机动飞行时会在某些情况下,使作用于轴承上的负荷更小,甚至出现零载,以及转子的不平衡力在某些情况下会抵消一些作用在轴承上的径向负荷,造成轴承的轻载或零载。
这两方面的因素会使得由摩擦产生的拖动力变得很小,甚至为零,这样,就必然会引起轴承打滑,出现滑蹭损伤。对于滚珠轴承,由于它还要承受轴向载荷,所以一般不易打滑。

但是如果在飞行包线内,转子的轴向负荷变向(如图1所示)的话,在变方向的前后瞬间,轴承也会出现轻载与零载,引起打滑。例如:斯贝发动机的民用型 MK512在工作中,作用于低压转子止推滚珠轴承(中介轴承)的轴向负荷的方向不发生变化,但在它*用军**改型 MK202中,由于飞行包线大大扩大,即飞行高度由民用型的10km变为20km,飞行 Ma由民用型0.8左右变为2.2,在工作中出现作用于该轴承的轴向负荷会变方向,因而出现了严重的打滑现象。
综上所述,在现有航空燃气涡轮发动机中,如不采用防滑措施,绝大多数主轴承均会打滑,且会产生滑蹭损伤,对发动机的正常、可靠的工作构成威胁。
轴承出现滑蹭损伤与使用时间无直接关系,有时在发动机工作很短时间内出现,有时却在发动机工作很长时间后才出现。除了轴承的设计、安装与工作条件对轴承是否会出现滑蹭有影响外,发动机的装配工作有时也起到主要作用。例如将涡轮转子吊装到发动机时,为避免涡轮前滚棒轴承的滚棒妨碍吊装,常用凡士林涂在外环与滚棒间,以使滚棒紧贴于外环的滚道上。这样做方便了发动机的装配,但如在低温室外首次试车时,就可能由于凡士林的黏性阻碍了滚棒 保持架的正常运动而引发该轴承出现滑蹭损伤。

图1、作用于某战斗机发动机转子滚珠轴承上的轴向负荷随飞行高度(H)与 Ma的变化情况
滚动轴承出现滑蹭后,最常见的结果是表面擦伤磨损,表面剥落等。严重时,由于滚子与内环间产生过大的摩擦热量会使内环膨胀,减小了轴承内部的游隙,将轴承卡死。因此,在航空燃气涡轮发动机主轴承上,应特别注意防止轴承滑蹭。目前,在大多数的设计中,为了减少轴承滑蹭,既可采用减小阻碍滚子 保持架运动的阻力的方法,也可采用增加拖动力的方法,或两者同时采用。
采用增加拖动力的措施防止轴承滑蹭
减小轴承游隙,使滚子在离心力作用下仍能保持与内环滚道的接触。例如 CFM56发动机支承高压涡轮的滚棒轴承(中介轴承)即用了小游隙甚至是负游隙来减少打滑;又如 WJ6发动机的压气机前滚棒轴承在长期试车中出现严重的滑蹭损伤后,将该轴承的游隙由0.070~0.095mm 减小为0.045~0.065mm,消除了滑蹭现象。
但是,采用减小游隙的措施会带来其他严重问题,因此要慎重对待,特别对于处于发动机热端的轴承,更应慎用。

在早期的航空燃气涡轮发动机中,为了解决保持架的平衡问题,多将主轴承的保持架定位于外环,但这种设计易引发轴承出现滑蹭损伤。这是因为当保持架定位于外环时,存在于外环与保持架间的油膜在黏性的作用下妨碍滚棒保持架作正常运动引发打滑而造成的。
如将保持架定位于内环,存在于内环与保持架间的油膜在黏性的作用下将给滚子保持架组合体一个拖动力使其作正常运动。这样,将原定位于外环的保持架改成定位于内环上,不仅减小了阻力,而且还增加了拖动力,显然会减少滑蹭损伤,当然这还须提高保持架的加工精度以提高其平衡度。
例如,RB211 22B发动机于1972年4月投入航线使用,但到同年的10月,发现低压转子的止推滚珠轴承(为中介轴承)出现过5次滑蹭损伤,为消除滑蹭又不对支承结构作较大的改动,罗·罗公司将轴承内原定位于外环的保持架改为定位于内环,如图2所示,同时提高了保持架的平衡度。

图2、RB211 22B低压转子止推轴承(中介轴承)为排除滑蹭损伤采取的改进设计
装配时,对轴承施加一附加的径向或轴向载荷,即对轴承施加“预载”,使轴承工作时,始终在内、外环滚道与滚子间有负荷作用,不出现轻载或零载,以增大拖动力。对轴承施加预载的办法有:采用非圆轴承、轴向弹簧对轴承旋加预载、采用空心滚棒和调整对轴承的喷油方向等。
将轴承外环的外圆做成非圆形,而机匣安装轴承的座孔仍做成圆的。常用的非圆轴承有椭圆轴承外环与三瓣式的轴承外环。例如,将椭圆轴承压入轴承座孔中时,椭圆的长轴处(外环凸出部位)即向该处的滚子作用一预加的载荷,如长轴处于水平位置如图3所示,使在水平位置的几个滚子与内、外环间始终保持接触并作用有一定负荷,因此,除了最下部的几个滚子受到重力负荷的作用外,在其左右90°处的滚棒,也各受一定量的预加负荷,从而使承受负荷的滚子数目约增加到滚子总数的60%,能产生一定的拖动力,克服轴承打滑。图3示出了滚棒轴承未加预载与在两处施加预载时轴承中负荷的分布情况。
非圆轴承中,椭圆轴承现在应用得较为广泛,例如JT3D、JT9D、JT15D与 CF6 80C2(4R)等发动机中均用了椭圆轴承,一般椭圆度为0.20~0.25mm 左右。早期的发动机中,对轴承外环椭圆的长轴装于轴承座孔时的位置有一定要求,例如早期的JT3D发动机中,高压涡轮处的滚棒轴承采用椭圆轴承(轴承外径为215mm,椭圆度为0.20mm),规定长轴按2点钟或10点钟的方向装入,但到70年代中期后取消了这一要求。目前,椭圆轴承可任意的装入轴承座孔中而无特殊的位置要求。

图3、滚棒轴承中负荷的分布
所谓三瓣式轴承外环是轴承外环的外圆上有3个均匀分布的凸出带,其工作原理同于椭圆轴承,只是它预载的方向多1个,CF680C2的高压涡轮前滚棒轴承即采用了这种结构,其每瓣的凸出量为0.431mm,由此也可以看出,该轴承如不采取措施,其打滑度是非常大的。
在有的发动机上,非圆部分不做在轴承外环外圆上,而是做在内环的滚道上,其工作原理仍同于上述,例如 T700发动机的滚棒轴承即采用了这种结构。
图4所示为J69轴流压气机转子后支点采用轴向弹簧加载的滚珠轴承支座结构,是一种典型的用轴向弹簧施加预载的办法。J69的轴流转子前支点为止推支点,因此,后支点处应该采用滚棒轴承。但是,该转子很轻,仅11.5kg。正常情况下,作用于后支点的径向负荷很小,而转子转速又高达22000r/min,很容易使该支点处的轴承打滑。
采用如图4所图4压气机转子后轴承支座结构图示的结构即用带轴向弹簧预载的滚珠轴承取代滚棒轴承既可防止打滑(这是因为在轴向弹簧的作用下,每个滚珠均始终与内、外环滚道接触并有负荷作用,因而不易打滑),又能使轴承外环能相对内环作轴向移动,起到滚棒轴承的作用,因此类似的用轴向弹簧对滚珠轴承施加预载的结构在一些小型涡轮机械中广泛采用。
如前节所述,斯贝发动机的*用军**型MK202中,低压转子的止推滚珠中介轴承,在工作中作用的轴向负荷会变向而引起打滑,为此,也采用了用轴向弹簧对该轴承施加一向后的力,使该轴承总是承受向后的轴向负荷,图5示出了*用军**斯贝低压转子止推轴承(中介轴承)防止打滑的结构。

该结构设计非常独特,将中介轴承4的前内环向前延伸,成为加预载的小滚珠轴承的内环,但它不是完整的内环而是仅有后半环,小滚珠轴承的外环与中介轴承2外环间有较大的轴向空隙。利用两个贝式弹簧7与8通过小轴承对中介推轴承2施加向后的预载,当中介止推轴承向后的轴向力变小甚至变为向前时,弹簧对它施加向后的轴向力。当中介止推轴承向后的轴向力大到一定即轴承内环向后移动到一定位置时,弹簧脱离接触,不对止推轴承施加预载。通过试验、试飞,该弹簧施加的轴向力为712dN。
在滚棒轴承中,等间隔的安装三个薄壁截面的空心滚棒,如图6所示。它们在负荷下能产生柔性变形,这种轴承称为柔性轴承。空心滚棒的直径稍大于实心滚棒的直径,其差值大于轴承内部的径向游隙。安装时,空心滚棒在内、外环的压缩下,受到一预加的径向载荷。在“零载”条件下也能保持内、外环与滚棒接触,因而能产生一定的拖动力。
另外,也有将所有的滚棒均做成空心的,其直径选择成在安装时所有的滚棒均受到内、外环的压缩而承受一定的预加载荷。采用空心滚棒时,应仔细选择其尺寸(也即预加负荷的大小)。过大的预载即使在外加负荷很小时也能过早地使滚棒损坏,而预载过小时,则防止轴承滑蹭的作用不大。
在这两种轴承中,还能减少滚子的重量,因而也减少了滚子 保持架组合体的惯性力,有利于防止轴承打滑。但是这两种在20世纪70年代研制的轴承,目前尚未应用于现代发动机中。

图6、带有三个空心滚棒的柔性轴承
调整对轴承的喷油方向,将滑油喷射方向做成与滚子 保持架组合体运动方向一致,也可增加对滚子 保持架组合体的拖动力。
采用减小阻力的措施防止轴承滑蹭
轴承内外环的设计中,应当尽量使滑油在轴承中流动通畅。外环最好做成直线,以消除在离心力的作用下滑油堵塞于轴承中的现象。当保持架在外环定位时,定位间隙中滑油油膜形成的黏性摩擦力矩大。
根据实验,内径为190mm 的轴承工作于 2×106DN 值时,由于保持架与外环间油膜的黏性剪切作用,会使功率损失高达14.9kW,如图7所示,因此阻碍了保持架的运动,易造成轴承的滑蹭损伤。
早期,在英国的“康维”、“苔茵”发动机上均因保持架定位于外环而出现此类事故。因此,在设计允许的条件下,应尽可能地使保持架定位于内环。同时,还应采取一些措施使保持架不致阻碍滑油的流通,造成过大的液体黏性阻力,

图7、保持架与外环间液体动力摩擦产生的功率损失(轴承内径190mm)
图2所示的 RB211 22B发动机低压转子的中介止推滚珠轴承的改进设计中,在保持架内径处(即与内环滚道相邻的环面上)开了许多槽道,以使滑油顺利地流过轴承内,避免产生滑油的扰动,即是一例。
例如用重量轻的中硬度钢 AISI4340;采用空心滚子(这是一项在20世纪70年代初期研究的措施,尚未在发动机中得到应用)等以降低保持架 滚子组合体的惯性力。
除上述解决轴承打滑的措施外,对于附件传动的轴承,也可以改用滑动轴承来消除滚动轴承的打滑。从理论上讲,附件传动机构中的轴承不会出现打滑现象,因为齿轮在工作时,始终对轴承作用有一径向负荷。
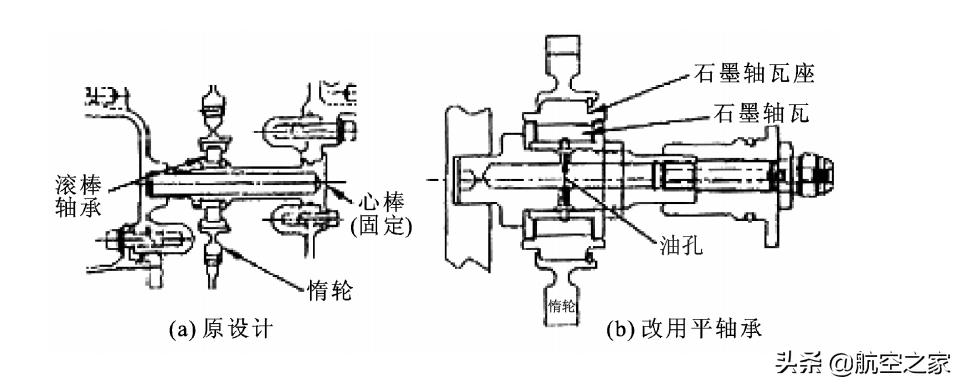
但是,如果齿轮链排列不适当时,也可能没有负荷作用于轴承上,例如PW4000发动机的附件传动机构中,传动离心通风器的中间惰轮(转速高达21000r/min)是用一滚棒轴承支承于一根心棒上的,如图8(a)所示。
由于主动齿轮、惰轮与从动齿轮三者排列在一条直线上,使惰轮的滚棒轴承基本不承受径向负荷,因而在使用中出现了滑蹭损伤,为彻底解决这一问题,普惠公司将此滚棒轴承改用了石墨轴瓦(滑动轴承),如图8(b)所示。

图8 PW4000传动离心通风器的中间惰轮
防止作用于滚珠轴承上的轴向负荷变向
如前所述,RB211风扇转子的止推轴承为一中介轴承,由于风扇转子在工作中会出现轴向力方向改变,因而在投入使用(1972年4月)后不到半年,就出现过该滚珠轴承滑蹭损伤。
于是采取前述的将保持架外环定位改为内环定位的措施,在一定程度上解决了问题,但是由于轴向负荷换向问题没有解决,因此长期以来,在各种改型的 RB211中(524B、524C、524D4和 524D4Upgrade等),还是偶尔出现该轴承的滑蹭损伤的事件。为此,在 RB211的最后改型的 RB211524G/H(1989年投入使用)中,将卸荷腔封严环处的直径由556.20mm增大为731.52mm,消除了工作中转子轴向负荷换向的问题。
基本上解决了该轴承的打滑问题。由 RB211 524G/H 衍生发展的遄达发动机,除采用了大直径的平衡腔封严环外,还在低压涡轮轴后端加装了对转子施加预载的弹簧及小轴承,如图9所示,从根本上解决轴承打滑问题。

图
图9遄达800对低压转子施加预载的结构图
轴承打滑度与测定方法
采用“打滑度”来表明滚动轴承是否打滑以及打滑的严重程度。

当保持架实际转速等于保持架理论转速时,轴承不打滑,其打滑度为零;只要保持架实际转速低于理论转速,轴承即打滑,当保持架实际转速为零时,打滑度为100%。
一般用测定保持架的实际转速来求得轴承的打滑度。罗·罗公司在发展 RB211发动机时,使用了放射性同位素来探测轴承的打滑。在保持架上固定一个很小的用钴或铱(Co 60,Ir 192)丝做的放射源,利用反平方律(即传到某点的放射性强度反比于放射源至该点距离的平方)的原理,测出工作中保持架的速度,从而发现轴承是否出现打滑,并可计算出打滑度。也可利用切割磁力线的原理来测量保持架的转速。