欢迎点赞/关注

从本期开始给大家科普信托公司,主要从股东背景,注册地,注册资金以及违约记录来简单分析信托公司的简单的情况,首先跟大家介绍的是中信信托
基本信息
中信信托有限责任公司是经原中国人民银行批准设立的非银行金融机构,成立于 1988 年 3 月1 日,注册地为北京市。其前身是中信兴业信托投资公司,2002 年经中国人民银行批复,中信集团公司将中信兴业投资公司重组、改制、更名为“中信信托投资有限责任公司”,并承接中信集团公司信托类资产、负债及业务。2007 年,公司名称变更为“中信信托有限责任公司”。
公司于2005 年、2006 年、2014 年分别增资 2.92 亿元、4 亿元、88 亿元。2019 年 9 月 26 日,中信信托发布《关于增加注册资本、调整股权结构的公告》。根据该公告,中信信托注册资本由 100 亿元增至 112.76 亿元(排名行业第 4)。增资后,股东中国中信有限公司,出资额 92.76 亿元,出资比例 82.26%;中信兴业投资集团有限公司,出资额 20 亿元,出资比例 17.74%。增加的注册资本由中信信托大股东中国中信有限公司出资,此前该公司的出资金额为 80 亿元,出资比例为 80%。
中信兴业投资集团有限公司是中国中信有限公司的全资子公司。中国中信集团有限公司为中信信托最终实际控制人。

股东情况

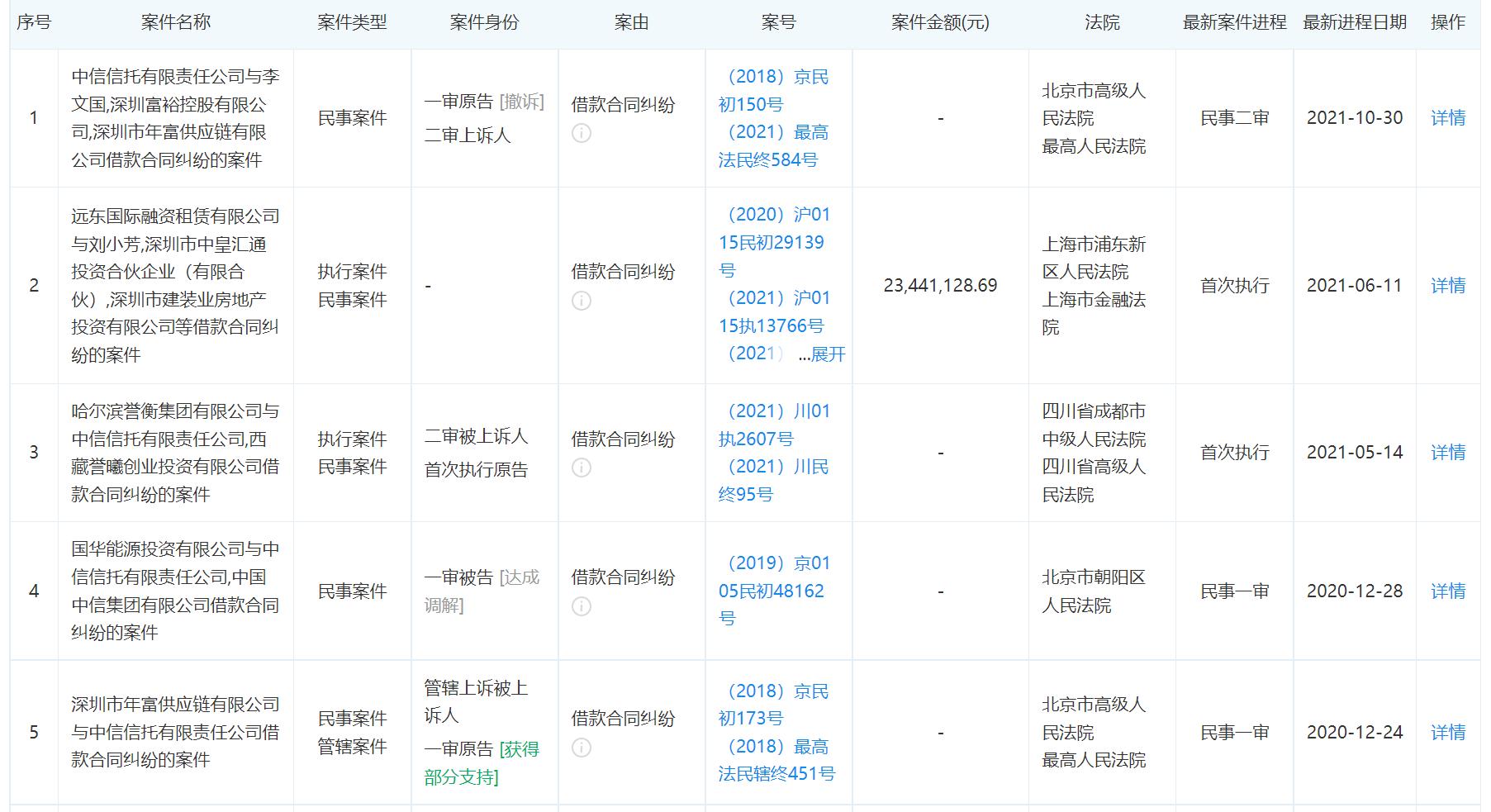
基础的一些信息
违约记录
公开信息显示,中信老大哥也招了地产的道:2021年,地产信托项目全年违约规模达917.11亿元。光是今年1月份,涉及金额就高达55.79亿元,排名第一。
2021年,中信信托有近10款信托计划出现风险情况,其中5款地产信托产品违约,分别是九通基业*款贷**集合资金信托计划、信颐1号债权投资集合资金信托计划、皇庭广场经营性物业*款贷**集合资金信托计划、以及嘉和118号恒大贵阳新世界集合资金信托计划和嘉和146号集合资金信托计划。

除去近一年的房地产之外中信信托也有一些其他的问题,通过企查查可以看出作为原告上诉的金额九个亿左右,与租赁公司,供应链公司 房产公司 也有诉讼,这些虽然没有暴雷影响兑付但是本质上也是违约的发生。


总结:中信信托毫无疑问的行业龙头。
2019年末,中信信托信托资产规模、营业总收入、手续费及佣金收入、净利润——四项核心指标均位列行业第一。
盈利能力超强,但违约案例和负面新闻也不少。
灵活的“巨无霸”,大规模压缩通道业务规模的同时,主动管理规模也提升明显。