【嘉德点评】友达发明的用于全屏幕指纹识别的触控显示器,可在触控显示区域内的任何一个位置识别指纹,不需额外设置单点固定位置的指纹传感器。
集微网消息,友达光电于19年5月14日至16日参加美国2019 SID显示周时展出全系列尖端显示技术,包括应用于智能型手机的全球首款全屏幕光学内嵌式指纹扫描LTPS显示屏,全球最小4.2 mm通孔设计以及最窄1.0 mm下边框的内嵌式触控LTPS显示屏。
友达表示,本次“发表”的6寸全屏幕光学内嵌式指纹扫描LTPS显示屏,为全球首款将光学式传感器嵌于液晶屏内的指纹扫描技术,搭载AHVA并具备全高清+(1080 x 2160)及403 PPI精细画质。此外,全屏幕的指纹扫描区域具备403 PPI的传感器分辨率及30 ms快速反应时间,展现极为精准流畅的指纹感应表现。
一般而言,智能手机的触控显示面板与指纹识别模块都是独立模块且分开制作,然后再组装在一起。因此,通常需要在特定的指纹识别区域上按压指纹才能实现指纹识别,如苹果手机的Home键。此外,此种前置的指纹识别模块通常会压缩屏幕显示区域,降低屏占比。
由于各家手机制造商不断往屏幕的高屏占比发展,因此为了在全屏范围内均可进行指纹识别,以提高显示装置的整体性及屏占比,友达在19年5月24日申请了一项名为“指纹识别模块及应用其的指纹识别触控显示器”的发明专利(申请号:201910443473.1),申请人为友达光电股份有限公司。
根据目前该专利公开的资料,让我们一起来看看这项全屏幕指纹解锁技术吧。

如上图,为该专利中发明的指纹识别触控显示器的示意图,指纹识别触控显示器100包括触控显示面板110、控制器120以及指纹识别模块130。触控显示面板具有触控显示区域112,控制器连接该触控显示面板,用以驱动指纹识别模块。指纹识别模块设置于触控显示区域内,用以感应及识别指纹。
控制器可以控制分区驱动指纹识别模块中的指纹感应电极,以使对应该区中的指纹感应电极能在指纹识别模式下感应手指指纹,指纹识别模块将指纹感应信号回传至控制器,以供识别指纹。

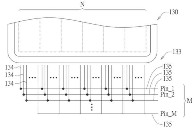
如上图为指纹识别模块的示意图,指纹识别模块包括指纹传感器131、数据输入电路133以及多工器阵列141。其中,指纹传感器包括多个指纹感应电极132,为了能够分区驱动指纹传感器,指纹感应电极分为N组,每一组具有M*Y个指纹感应电极。
例如,指纹感应电极在机身短边方向上分为6组(N=6),每组具有180x1920个(M=180,Y=1920)指纹感应电极。相对于每组M*Y个指纹感应电极,数据输入电路设有N组每组M个电极导线,独立与相对应各组中M行每行Y个指纹感应电极连接。

如图展示了将指纹感应电极分为6组每组有180个指纹感应电极的情形,数据输入电路形成有交叉排列的NxM个电极导线134及M个数据线135于布线区114中。每组中的第一条电极导线与第一数据线(Pin_1)电性连接,每组中的第二条电极导线与第二数据线(Pin_2)电性连接,每组中的第M条电极导线与第M条数据线(Pin_M)电性连接,并依序排列在触控显示区域的下方。
此外,为了达到分区驱动指纹传感器,多工器阵列包括N个开关电路,与N组电极导线相对应。因此,N个开关电路中仅有一个独立接收一接通信号(即脉冲信号SP),用以接通与此电路相对应的一组电极导线,其余N-1个开关电路处于断开状态。
以上就是友达发明的用于全屏幕指纹识别的触控显示器,这种指纹识别模块及应用其的指纹识别触控显示器,可在触控显示区域内的任何一个位置识别指纹,不需额外设置单点固定位置的指纹传感器。因此,在外观上不会受限而可提高显示装置的整体性,且能达到高屏占比的市场需求。
关于嘉德

深圳市嘉德知识产权服务有限公司由曾在华为等世界500强企业工作多年的知识产权专家、律师、专利代理人组成,熟悉中欧美知识产权法律理论和实务,在全球知识产权申请、布局、诉讼、许可谈判、交易、运营、标准专利协同创造、专利池建设、展会知识产权、跨境电商知识产权、知识产权海关保护等方面拥有丰富的经验。
(校对/holly)