5月27日晚间,科迪乳业(002770,股吧)(002770.SZ)对外公布了《发行股份及支付现金购买资产并募集配套资金暨关联交易预案》,由于对标的资产的评估增值率高达347%,而且,交易完成之后,科迪乳业实际控制人张清海、许秀云及其女儿将成为最大的受益者,因此,业界都在担心利益输送问题。
因此,上述预案在资本市场上引发广泛关注,全国主流媒体也是纷纷给予报道,从而将科迪乳业这家区域乳企推上了风口浪尖。

《财经啸侃》特约、独家撰稿人五谷君梳理发现,截止2018年第一季度末,科迪食品集团股份有限公司(下称“科迪集团”)持有科迪乳4.8544006亿股,持股比例为44.34%;但是,科迪集团却将4.845亿股质押出去了,股权质押比例接近100%。
科迪乳业曾在公告中明确表示,科迪集团之所以开展了股票质押式回购交易,主要是为了企业经营资金周转。
除此之外,作为科迪乳业第三大股东和第四大股东的诸城华中正阳股权投资合伙企业(有限合伙)和王宇骅,也几乎都将手中股票质押出去了。

“在上市乳企之中,不少股东都会选择质押手中股票,但是,像科迪乳业大股东这样高比例质押股票的情况,还是比较罕见的,”一位乳企高管向《财经啸侃》特约、独家撰稿人五谷君表示,上市公司股东质押比例过高,股价一旦连续下跌,个股质押风险就会很大。
“当前,虽然市场整体平仓风险不大,但是部分个股股权质押的确存在一定风险,尤其是那些大股东高比例的股权质押,风险更需警惕,一旦被平仓,将造成公司控制权易主。”著名经济学家宋清辉表示,投资者应对高位和高比例质押的个股保持警惕,股价随时有可能因为平仓下跌。
为了防范股票质押带来的风险问题,监管层已于今年3月12日正式实施《股票质押式回购交易及登记结算业务办法(2018年修订)》及《证券公司参与股票质押式回购交易风险管理指引》,从券商业务端提高门槛。

日前,上交所还表示,重点规范上市公司控股股东、实际控制人行为,切实防范控股股东高比例质押风险,从严监管股东套现动机明显的不当交易。
然而,令人感到遗憾的则是,尽管第一大股东、第三大股东和第四大股东的质押股权比例几乎都是100%,但是,科迪乳业方面并没有对此向投资者提示风险。
公开资料显示,科迪集团注册资本高达20亿元,法定代表人为张清海(注:科迪乳业董事长),张清海也是科迪集团大股东,并担任董事长兼总经理。
科迪集团是一家以农副产品深加工为主,集工、科、农、牧、商于一体的现代综合性食品企业集团,是全国农业产业化重点龙头企业,中国最大的速冻和方便面生产加工基地之一,也是新兴的乳业发展
科迪集团旗下产业涵盖速冻食品、乳业、面业、生物、罐头,其中科迪速冻食品排全国前三位,科迪乳业排河南省第一位,科迪面业排河南省前三位。
然而,让人大跌眼镜的则是,近年来,科迪集团却因为民间借贷纠纷、金融借款合同纠纷、买卖合同纠纷而摊上官司,还被法院列为失信人。
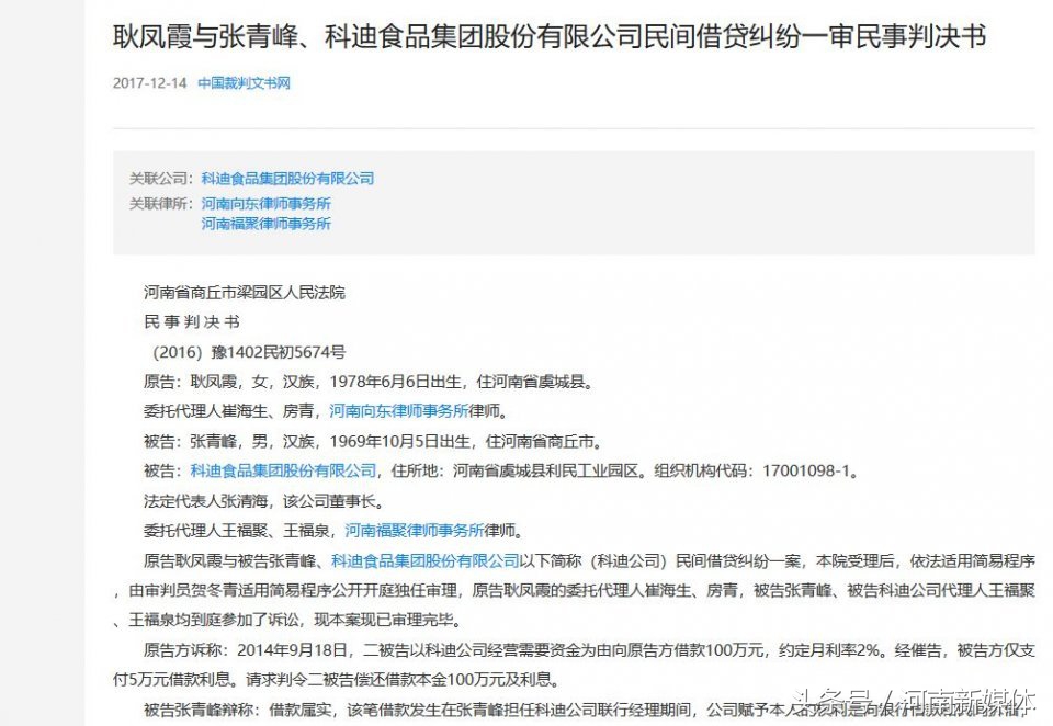
以《耿凤霞与张青峰、科迪食品集团股份有限公司民间借贷纠纷一审民事判决书》为例,2017年12月14日,中国裁判文书网提供的信息显示,原告耿凤霞与被告张青峰、科迪集团民间借贷纠纷一案,河南省商丘市梁园区人民法院受理后,依法适用简易程序,由审判员贺冬青适用简易程序公开开庭独任审理,原告耿凤霞的委托代理人崔海生、房青,被告张青峰、被告科迪公司代理人王福聚、王福泉均到庭参加了诉讼,现本案现已审理完毕。

原告方诉称,2014年9月18日,二被告以科迪集团经营需要资金为由向原告方借款100万元,约定月利率2%。经催告,被告方仅支付5万元借款利息。请求判令二被告偿还借款本金100万元及利息。
被告张青峰辩称,借款属实,该笔借款发生在张青峰担任科迪集团联行经理期间,公司赋予本人的权利是向银行借款和民间拆借,用于公司的生产经营和归还公司的债务及利息。所以借款是职务行为,张青峰个人不应承担还款责任。
被告科迪集团辩称,科迪集团与原告之间不存在真实的借贷关系;张青峰利用保管公章之际,未经授权私自在借条上加盖印章的行为,其责任应该由张青峰个人承担。张青峰辩称是职务行为缺乏事实依据。
最终,河南省商丘市梁园区人民法院认为,被告张青峰所写《借条》意思真实,与转账凭证可以相互印证,应认定原被告双方民间借贷关系成立。被告张青峰代表科迪公司签字收到了原告的款项,科迪集团应承担还款付息义务。
因为根据《中华人民共和国民法通则》规定,企业法人对它的法定代表人和其他工作人员的经营活动,承担民事责任。
且该自然人“在法人章程允许范围内的意思表示和职务行为被看做是法人的意思表示和行为”,张青峰作为科迪集团的联行经理,掌管着科迪集团印鉴,为公司经营借贷,应定性为职务行为。
因此,河南省商丘市梁园区人民法院判决,被告科迪集团归还原告耿凤霞借款100万元及利息,于判决生效后十日内付清。
《财经啸侃》特约、独家撰稿人五谷君梳理发现,除了耿凤霞,张金魁、刘艳丽、鹿梅、卢长江、陈文立、汤森等多位自然人,都与科迪集团因为民间借贷纠纷而对簿公堂,这也可见科迪集团的资金运营确实较为紧张。


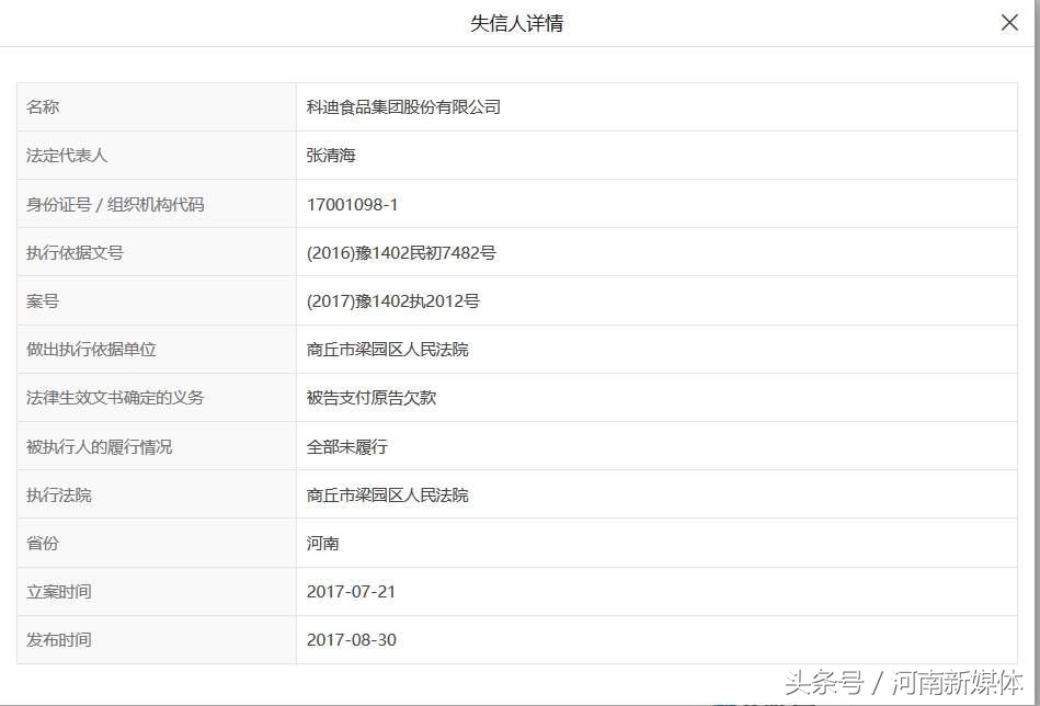
另外,天眼查提供的信息显示,立案时间为2017年7月21日,案号为(2017)豫1402执2012号,河南省商丘市梁园区人民法院,判决被告(科迪集团)支付原告欠款,但被告全部未履行,因此,科迪集团被判定为失信人。


“科迪集团一直在试图撇清责任,认为张青峰的借贷行为是个人行为,不是职务行为,并不想承担还款责任,但法院判决张青峰的对外借款行为是履行职务行为,判决是合理的,”上述乳企高管向《财经啸侃》特约、独家撰稿人五谷君表示,由于从银行借款较难,还要做各种抵押和质押,因此,不少企业都走上了民间借贷这条路,但为了避免纠纷,有些“聪明”的企业会让负责银行*款贷**及民间融资业务的个人去操作,但是,这也代表着企业意思,还是要承担最终责任。
来源:财经啸侃 一点号华视商丘