阀门*位器定**(valvepositioner)阀门*位器定**按结构分:气动阀门*位器定**、电气阀门*位器定**及智能阀门*位器定**,是调节阀的主要附件,通常与气动调节阀配套使用,它接受调节器的输出信号,然后以它的输出信号去控制气动调节阀,当调节阀动作后,阀杆的位移又通过机械装置反馈到阀门*位器定**,阀位状况通过电信号传给上位系统。
阀门*位器定**按其结构形式和工作原理可以分成气动阀门*位器定**、电-气阀门*位器定**和智能式阀门*位器定**。
阀门*位器定**能够增大调节阀的输出功率,减少调节信号的传递滞后的情况发生,加快阀杆的移动速度,能够提高阀门的线性度,克服阀杆的摩擦力并消除不平衡力的影响,从而保证调节阀的正确定位。
01阀门*位器定**的分类
1、阀门*位器定**按输入信号分为气动阀门*位器定**、电气阀门*位器定**和智能阀门*位器定**。
(1)气动阀门*位器定**的输入信号是标准气信号,例如,20~100kPa气信号,其输出信号也是标准的气信号。
(2)电气阀门*位器定**的输入信号是标准电流或电压信号,例如,4~20mA电流信号或1~5V电压信号等,在电气阀门*位器定**内部将电信号转换为电磁力,然后输出气信号到拨动控制阀。
(3)智能电气阀门*位器定**它将控制室输出的电流信号转换成驱动调节阀的气信号,根据调节阀工作时阀杆摩擦力,抵消介质压力波动而产生的不平衡力,使阀门开度对应于控制室输出的电流信号。并且可以进行智能组态设置相应的参数,达到改善控制阀性能的目的。
2、按动作的方向可分为单向阀门*位器定**和双向阀门*位器定**。单向阀门*位器定**用于活塞式执行机构时,阀门*位器定**只有一个方向起作用,双向阀门*位器定**作用在活塞式执行机构气缸的两侧,在两个方向起作用。
3、按阀门*位器定**输出和输入信号的增益符号分为正作用阀门*位器定**和反作用阀门*位器定**。正作用阀门*位器定**的输入信号增加时,输出信号也增加,因此,增益为正。反作用阀门*位器定**的输入信号增加时,输出信号减小,因此,增益为负。
4、按阀门*位器定**输入信号是模拟信号或数字信号,可分为普通阀门*位器定**和现场总线电气阀门*位器定**。普通阀门*位器定**的输入信号是模拟气压或电流、电压信号,现场总线电气阀门*位器定**的输入信号是现场总线的数字信号。
5、按阀门*位器定**是否带CPU可分为普通电气阀门*位器定**和智能电气阀门*位器定**。普通电气阀门*位器定**没有CPU,因此,不具有智能,不能处理有关的智能运算。智能电气阀门*位器定**带CPU,可处理有关智能运算,例如,可进行前向通道的非线性补偿等,现场总线电气阀门*位器定**还可带PID等功能模块,实现相应的运算。
6、按反馈信号的检测方法也可进行分类。例如,用机械连杆方式检测阀位信号的阀门*位器定**:用霍尔效应检测位移的方法检测阀杆位移的阀门*位器定**:用电磁感应方法检测阀杆位移的阀门*位器定**等。
02*位器定**的作用原理
阀门*位器定**是控制阀的主要附件.它将阀杆位移信号作为输入的反馈测量信号,以控制器输出信号作为设定信号,进行比较,当两者有偏差时,改变其到执行机构的输出信号,使执行机构动作,建立了阀杆位移量与控制器输出信号之间的一一对应关系。因此,阀门*位器定**组成以阀杆位移为测量信号,以控制器输出为设定信号的反馈控制系统。该控制系统的操纵变量是阀门*位器定**去执行机构的输出信号。
(1)用于对调节质量要求高的重要调节系统,以提高调节阀的定位精确及可靠性。
(2)用于阀门两端压差大(△p>1MPa)的场合。通过提高气源压力增大执行机构的输出力,以克服液体对阀芯产生的不平衡力,减小行程误差。
(3)当被调介质为高温、高压、低温、有毒、易燃、易爆时,为了防止对外泄漏,往往将填料压得很紧,因此阀杆与填料间的摩擦力较大,此时用*位器定**可克服时滞。
(4)被调介质为粘性流体或含有固体悬浮物时,用*位器定**可以克服介质对阀杆移动的阻力。
(5)用于大口径(Dg>100mm)的调节阀,以增大执行机构的输出推力。
(6)当调节器与执行器距离在60m以上时,用*位器定**可克服控制信号的传递滞后,改善阀门的动作反应速度。
(7)用来改善调节阀的流量特性。
(8)一个调节器控制两个执行器实行分程控制时,可用两个*位器定**,分别接受低输入信号和高输入信号,则一个执行器低程动作,另一个高程动作,即构成了分程调节。
03常见*位器定**调试方法集锦
一、ABB*位器定**

调试步骤:
1、*位器定**面板设置:

2、内部接线(4根)反馈和指令线。
3、调试前的重要参数切换方式:
(1)切换就地、远方。按住MODE键不要松开,再点击↑ ↓键可以进行切换。
(2)用(1)的方式进入1.1(远方控制)1.2(就地控制)
(3)若要实现快开,则先按住↑键再按键 ↓键;实现快关,则先按住 ↓键再按住↑键,方可完成操作。
(4)用(1)的方式进入1.3,出现单词SENS-POS,其意思是显示调节*位器定**后连杆与后旋钮弧度保持在对称的范围内。
4、调试步骤
(1)P1.0:将↑↓键同时按,然后点击”ENTER”键,出现单词“LINEAR”调节角行程和直行程。
(2)P1.1:按住MODE键,点击↑ ↓键,进入P1.1菜单。常按ENTER键3S,然后面板显示倒数计时为0后松开,就出现自整定,直到出现完成“COMPIETE”单词。
(3)P1.4:退出(EXIT)会显示“保存”和“不保存”,按住“ENTER”3S,则保存调试,若不保存,直接按↑键,退出到“放弃”单词,然后再按住“ENTER”3S,退出。
(4)P2.3出现REVERSE单词,显示的是调节阀门和*位器定**的正反作用。
(5)P3.2出现CW/CCW单词,调节的是DCS和就地*位器定**指令的正反作用。
(6)P3.3出现EXIT单词,意思为退出。
(7)P8.2出现DIGEET单词,则调节的是DCS和就地*位器定**反馈的正反作用。
以上参数为重要参数调试步骤,详情请查看说明书!
二、费希尔(FISHER)阀门*位器定**

DVC6000调试步骤:
打开275/375手操器 从主菜单(Main Menu) 选择Hart应用(HART Application)从On line找到该*位器定**。依次进入Setup&Diag ——Detailed Setup——Mode——Instument Mode (或者按手操器上快捷键直接进入)——警告!in service 模式被送到仪表当中时阀门也许会动(WARNING!Valve may move when in Service mode is sent to the instrument.) 按OK 后进入仪表模式(Instrument Mode)选择Out of service 后 按ENTER——提示“Instrument mode is already out of service!” 后回到主界面依次进入 Setup&Diag——Basic Setup——Auto setup——Setup Wizard:
1、选择你所使用的压力单位(Pressure units (psi))后ENTER ;
2、输入最大供气压力(Max Supply Press (psi))后ENTER;
3、选择执行机构的生产厂家(Actuator Manufcture)后ENTER 以上品牌没的话选OTHER ;
4、 如果执行机构单作用带弹簧选3 、双作用带弹簧选4 、双作用不带弹簧选2;
5.、选ROTARY 下一步根据阀门零信号时是开选2 关的话选1 下一步再选1 下一步选YES自动选择阀门转向及其增益大小;
6、选择是否有加速器或者快速释放阀(Is a Volume Booster or Quick Release Present ? );
7、提示 执行机构的信息正被发送到仪表当中,请稍等“Actuator information is being sent to the instrument. Please wait…” ;
8、选择使用出厂默认设置Use Factory defaults for setup?(Yes is recommended for Initial Setup) Yes 后ENTER ;
9、 提示 出厂默认设置正被发送到仪表当中,请稍等“Factory default are being sent to the instrument. Please wait… ” ;
10、继续自动设置 选择放大器调整“To continue Auto Setup.select Relay Adjust ”;
11、你是否希望现在进行放大器调整?(Do you wish to run Relay Adjustment Calibration now ?) 假如是双作用选择Yes 单作用选择No后ENTER ;
12、选择行程标定 (To continue.select Auto Calib Travel.)按OK;
13、 你希望现在进行自动行程标定吗?(Do you wish to run Auto Travel Calib now ?Select YES if initial setup)选择Yes 后按 ENTER;
14、 警告!标定将导致仪表的输出突然变化 按 OK;
15、选择交点的调整(Select Crossover Adjust)Manual/Last Value/Default 正常情况下选择 default 后 ENTER 假如默认的调整后精度比较差 才会选择Manual手动;
16、 下面进入自动行程标定的过程,完成后仪表模式恢复到In service!
三、梅索尼兰SVI-II*位器定**

调试步骤:
1、检查接线及阀门安装情况是否完整;
2、切换到人工模式(Manual);
3、检查并调整好所有的结构参数(CONFIGuration);
4、运行全开、全关点(STOPS)自动搜索。
5、运行自动调整功能(autoTUNE),得到新的动态响应参数;
6、检查是否有错误提示;
7、手动操作看看是否可以正常运行;
退出人工状态,回到自动控制状态。
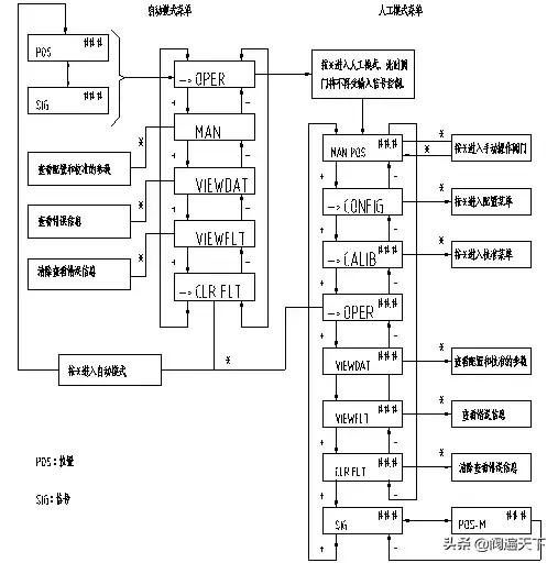
菜单流程:
接通信号源后,将输入信号调节到12mA。系统会进行自检,然后进入交替显示阀位和输入信号的值。此时系统有可能处于人工或自动的状态,取决于上次运行断电前的状态。如果屏幕显示阀位时使用(POS-M)说明处于人工状态;如果显示阀位时使用(POS)说明处于自动状态。然后按照流程图操作即可完成设定。



四、韩国永泰YTC*位器定**

调试步骤:
1、条件:①稳定的气源 压力≥0.3MPa(角行程*位器定**压力≥0.5MPa)
②4-20mA信号输入设备
2、调试:

①打开*位器定**前盖,打开电源接线盒。
②把稳定气源接入过滤减压阀并密封严紧。
③区分正负输入端接好信号输入设备。
④打开气源开关,向下调节调“0”旋钮,直至排气压力表指针不为0,然后反方向缓慢旋转调“0”旋钮,使压力表指针刚好处于0位置。
⑤输入25%(8mA)、50%(12mA)、75%(16mA)、100%(20mA)信号,观察指针下降(上升)行程:
A.、若单次行程超过刻度盘的1/4,说明*位器定**量程过大,此时应调节量程调节旋钮(先松开螺丝,然后调节下方的旋钮,向“—”方向调节。根据实际情况确定调节的程度,单次微调,边试边调)。
B、若单次行程过小或不足刻度盘的1/4,说明*位器定**量程过小,操作与A相同,方向相反。
⑥每次调节量程调节旋钮后,重新进行试验,若实际行程与理论行程差距仍然很大,则再调节量程调节旋钮;若实际行程与理论行程差距较小,则调节调“0”旋钮,使 指针移动到对应的刻度上,再输入信号观察指针移动是否正确。
注:通过量程调节旋钮和调“0”旋钮的配合来调节量程和行程,已达到调试的目的。
注意事项:
(1)当输入信号为20mA是,*位器定**排气压力必须>3公斤(球阀5公斤),一般为3.2-4公斤。若压力不足则调节阀开启/关闭不严,无法正常工作。
(2)气开阀:当输入信号为0时,排气压力必须为0,否则阀门没有完全关闭。
五、西门子*位器定**

调试步骤:
1、调试前准备工作
(1)接汽源,再接电源,将电流给到4mA以上;
(2)如*位器定**没有调试过,这时显示屏中应出现P进入组态,先按“+”再同时按“—”,反之相同,看阀门的最大点或最小点;
(3)看最小点应在5-9之间,不对调*位器定**的黑色齿轮。看最大点应不超过95,调最小点尽量接近5;
(4) 用“+”、“—”键将阀门行程调到50%,调试前准备工作完成;
注意:如果*位器定**调试过必须清零,清零步骤为:按手键进入(新出的为50,最初的为55),再按“+”5秒出现OCAY,再按手键5秒,出现C4抬手出现P,进入组态后调试步骤同以上2、3、4相同。
2、初始化的调校步骤
A、执行机构的自动初始化
注:自动初始化前一定要正确设定阀门的开关方向!否则初始化无法进行!
(1)正确移动执行机构,离开中心位置,开始初始化。
直行程选择:

角行程选择:

用“+”,“—”键切换;
(2)短按功能键,切换到第二参数:
显示:

或

,用“+”,“—”键切换;
注:这一参数必须与杠杆比率开关的设定值相匹配。
(3)用功能键切换到参数三,显示如下:

如果你希望在初始化阶段完成后,计算的整个冲程量用mm 表示,这一步必须设置。为此,你需要在显示屏上选择与刻度杆上驱动钉设定值相同的值。
(4)用功能键切换参数四,显示如下:

(5)下按“+”键超过 5 秒,初始化开始:

初始化进行时,“RUN1”至“RUN5”一个接一个出现于显示屏下行。
注:初始化过程依据执行机构,可持续 15 分钟。
有下列显示时,初始化完成。

在你短促下压功能键后,出现显示:

通过下按功能键超过 5 秒,退出组态方式。约5 秒后,软键显示将出现。松开功能键后,装置将在Manual 方式,按功能键将方式切换为AUTO,此时可以远控操作。
B、执行器手动初始化
利用这一功能,不需硬性驱动执行机构到终点位置即可进行初始化。杆的开始和终止位置可手工设定。初始化剩下的步骤(控制参数最佳化)如同自动初始化一样自动进行。
直行程执行机构手动初始化的顺序步骤。
(1)对直行程执行机构实行初始化。通过手工驱动保证覆盖全部冲程,即显示电位计设定处于P5.0 和P95.0 的允许范围中间
(2)下按功能键 5 秒以上,你将进入组态方式。
直行程选择:

角行程选择:

用“+”,“—”键切换;
(3)短按功能键,切换到第二参数:
显示:

或

用“+”,“—”键切换;
注:这一值必须与传送速率选择器的设定相对应。(33°或90°)
(4)用功能键切换到参数三,显示如下:

如果你希望初始化过程结束时,测定的全冲程用mm 表示,你需要在显示器中选择与驱动销钉在杆刻度上设定的值相同,或对介质调整来说下一个更高的值。
(5)通过下按功能,选择参数五:

①先按住“—”再同时按住“+”键,快关阀门(显示在6.5左右),否则调节黑色旋钮调节,使其在范围内;
注:如果按此操作显示的数是减小的,请先调整执行器的开关方向;
②然后先按住“+”再同时按住“—”键,快开阀门。开展后观察显示应在95以内,否则调节黑色旋钮,使其在正常范围内,然后下按功能键确认;
③先按住“—”再同时按住“+”键快关阀门,显示应在5到9之间,然后按下功能键确认;
④初始化自动开始。
⑤初始化的停止是自动出现的。RUN1 到RUN5 顺序出现在显示屏的下行。当初始化已全部完成时,出现如下显示:

下按功能键超过 5 秒,离开杆组态方式。接近5 秒后,软键显示将出现。松开功能键后,装置将在Manual 方式,按功能键将方式切换为AUTO,此时可以远控操作。
注:改变调整门的开关方向,需要调整*位器定**的7和38项,两项同时用“+”、“—”键更改,两项的设置必须要相同。
手动初始化时,出现

下按“+”键5秒以上,开始初始化显示。

六、山武*位器定**

调试步骤:
1、调整
自动设定是一种独特的程序,可用来自动进行*位器定**的各种调整。
用开度开关进行自动设定,执行自动设定和零点-量程调整时需要对*位器定**进行观察。
开度按钮用来启动自动设定和进行手动零点-量程标定,步骤:
(1)将*位器定**的输入信号设定为DC 18±1mA;
(2)打开SCP的前盖,按住开度按钮到“UP”位置(对于Flowing Rotary VFR阀门为“DOWN” );
(3)按住此按钮,直到阀门开始动作(约3秒),将启动自动设定程序,松开此按钮
(4)阀门从全关到全开往返两次。之后,阀门开启到50%的位置,并保持3分钟;
(5)通过改变输入信号确认自动设定程序已经完成。整个自动设定过程约需3分钟;
注:执行自动设定过程中,请勿将输入型号设定到4mA以下。(只要信号在4-20mA范围内,自动设定过程中改变输入信号不会影响程序的执行。)如果输入信号跌倒4mA以下,则自动设定将无效,且必须重新开始。自动设定完成后,信号维持在至少4mA的水平,并至少保持30秒钟,以确保数据和参数被保存到SVP内存中。操作结束后,通过改变输入信号检查阀门的动作,并确认阀门是否移到与信号相对应的正确位置。如满度位置发生偏移,再执行满度调整。
2、零点-量程调整
自动设定后,*位器定**已将其自身标定到阀门的全关(零点)和全开(量程)值。如果阀门不能获得其开度与*位器定**控制信号之间的正确关系,则按以下步骤手动调整零点-量程。
注:只有关闭和全开输入信号(例:4-20)与储存在*位器定**中的,或工厂中设定于*位器定**中的关闭和全开输入信号设定相同,开度开关才会工作。
(1)将阀门调整到关闭位置(零点)的步骤:
a、从控制器输入对应阀门全关位置的电流信号(例:4mA);
b、通过按开度按钮“UP”或“DOWN”,调整阀门全关位置。强制关闭功能默认值设定为0.5%。
(2)将阀门调整到全开位置(量程)的步骤:
a、从控制器输入对应阀门全关位置的电流信号(例:20mA);
b、通过按开度按钮“UP”或“DOWN”,调整阀门全关位置。直至调整阀门位置到位。
注:完成零点-量程调整后,改变输入信号以确认阀门工作是否准确。
3、维修
(1)滤网更换和节气喷嘴维修
可在维修过程中清除积累在*位器定**节气喷嘴中的仪表空气污染物。步骤:
1)、切断通向*位器定**的供气;
2)、从A/M开关铭牌部分拧下固定螺丝(注:拧下螺丝时,小心勿弄丢A/M开关盖板垫圈和防栓垫圈);
3)、从A/M开关转到MAN(手动)位置;
4)、用镊子或其它工具去除夹具,取出旧过滤网;
5)、用铁丝(直径为0.3μm)清除节气喷嘴中的污染物(清除污染物时,勿让油污或油脂弄脏节气喷嘴);
6)、将新过滤网缠在A/M开关上,用夹具将其压到原位;
7)、将A/M开关拧到底;
8)、用固定螺丝将A/M开关部分铭牌固定在A/M开关盖板上。
(2)清洁挡板
若仪表空气中的污染物积在挡板上(注:若向*位器定**施加气压,则清洁挡板和喷嘴背压会改变,引起阀门位置突然变化)
1)、拆下盖子;
2)、拧下盖板上的四颗螺丝;
3)、将盖板滑到左侧,然后拆下;
4)、准备好厚度为0.2mm的纸片,普通名片即可;
5)、用纸片清洁EPM喷嘴和挡板之间间隙内的脏物;
6)、清洁间隙后,将盖板和盖子重新装上。
4、故障排除
(1)*位器定**不能工作(无输出气压)
a、确认*位器定**反馈杆的转动角度未超过20°。若超过该角度,请在反馈杆上添加一个加长杆,以获得足够的反馈长度;
b、检查供气是否存在泄露;
c、检查电器输入信号;
d、检查自动/手动开关是否处于自动位置;
e、检查挡板和滤网的清洁状况。
(2)不能获得全行程,或影响速度慢
a、检查零点(全开)和量程(全开)的调整是否正确;
b、检查滤网和挡板的清洁状况。
(3)乱调或超程
a、检查反馈杆转动的允许角度。
七、横河*位器定**

调试步骤:
1、检查气路、电路是否满足*位器定**工作要求;
2、给定12mA信号,将反馈杆调整至水平位置,
并紧固;
3、给定8mA信号,通过零位调节螺母将零位调节至对应值;
4、给定16mA信号,通过量程调节螺母将量程调节至对应值;
5、给定4mA信号,检查阀门全关位置,必要时进行微调;
6、给定20mA信号,检查阀门全开位置;必要时进行微调;
7、给定4mA(或20mA)、8mA(或16mA)、12mA、4mA(或 20mA)、16mA(或8mA)、20mA(或4mA)进行刻度验证,必要时进行微调。
说明:1、通过量程调节螺母可以改变*位器定**的作用方式。
2、取用8mA和12mA信号,分别调整零位和量程,是因为8mA和12mA均有上下刻度值,可以明显反应零位和量程的位置,而4mA向下下没有刻度(和20mA向上也没有刻度值),不宜采用4mA和20mA来调节零位和量程。
3、*位器定**调校时,必须保证阀门能够完全关闭,有时候虽然给定4mA(或20mA)信号,阀门仍然有开度。
4、气动阀门*位器定**和电-气阀门均属机械式阀门*位器定**,因此调校方法类似,不再详细介绍。
04*位器定**常见故障
1、阀门*位器定**有输入信号但是没有输出信号。
(1)电磁铁组件发生故障,建议换电磁铁组件。
(2)供气压力不对,建议检查气源压力。
(3)气动放大器挡板零点调节过高,挡板远离喷嘴。
(4)气路堵塞。
(5)气路连接有误(包括放大器)。
(6)电/气*位器定**输入信号线正负极接反。
2、阀门*位器定**没有输入信号但是输出信号一直最大。
(1)气动放大器挡板零点调节过低,挡板过于压紧喷嘴。
(2)喷嘴堵塞。
(3)输出压力缓慢或不正常。
会导致调节阀的膜头受损、漏气,造成有输入信号但调节阀动作缓慢的故障,使调节阀达不到及时调节的效果,处理办法检查膜室,更换膜片。
3、*位器定**线性不好
(1)反馈凸轮或弹簧选择不当或者方向不对。
(2)反馈连杆机构安装不好或者在某些位置有卡住的现象。
(3)喷嘴或挡板有异物。
(4)背压有轻微泄漏现象。
找阀门要上网,就上全球阀门网