“对电商颇感兴趣,从海淘到严选。”
作者:徐晶琳
编辑:平南
出品:财经涂鸦(ID:caijingtuya)
据公司情报专家《财经涂鸦》消息,闪送的运营主体北京闪送科技有限公司近日发生经营范围变更,新增“销售日用品、文化用品、体育用品、工艺品、汽车零配件、金属材料、电子产品”。
闪送还有一个名为北京闪送科技有限公司的运营主体,在2017年7月即增加了上述经营范围。

闪送一位公关负责人对《财经涂鸦》表示,并没有听说公司要布局自营电商业务。
此前,闪送联合创始人于红建接受36氪专访时曾表明:“未来3-5年都会专注在自己的领域。”
但闪送对于电商业务显然颇有兴趣。
从商标注册信息来看,同城必应这一主体从2018年初就开始申请闪送海淘、闪送乐购、闪送生鲜和闪送同城购等商标。
但这些申请最后均以被驳回告终。

从去年即时配送行业的动态来看,电商、同城服务平台及快递公司纷纷涉足即时配送业务。
2018年4月9日,京东推出“闪电送”服务;7月10日,美团点评上线“美团闪购”业务;7月11日,菜鸟网络战略控股点我达;7月18日,顺丰上线“同城急送”业务,直接对标闪送。
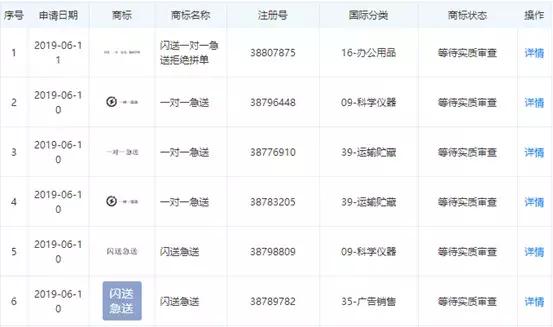
电商类商标申请遇挫,闪送于今年6月10日又申请了“一对一急送”、“闪送急送”等商标。
7月25日,闪送带着代言人周杰伦和密密麻麻的落地广告,提出了新的战略口号——“一对一急送、拒绝拼单”,力图走同城快递的高端精细化市场。

据艾媒咨询发布的《2019年中国即时配送市场研究报告》,2018年中国即时配送用户规模达到3.58亿人。
目前,中国的即时配送平台运营模式主要有三类,将配送任务分配给社会闲散劳动力的众包模式,闪送就是纯粹的众包平台;签约加盟商对配送员进行管理的加盟模式,美团点评和饿了么既有众包模式又有加盟模式;进行全环节管理的自营模式,如顺丰。
据国家邮政数据显示,同城速递是物流业增速最快的子行业,未来五年将保持30%的增速,预计2020年市场规模将超2000亿元。
光大证券研究所发布的《2019年即时配送物流行业分析报告》显示,目前,即时配送行业在过去几年经历了多重并购整合后,在2018年形成了三足鼎立的行业格局,阿里、京东、美团三家即时配送平台订单量市场份额分别占比36.6%、25.1%和23.5%,总计占即时配送行业的85.2%。

根据艾媒咨询发布的《2019年中国即时配送市场研究报告》,即时配送平台的用户使用生鲜水果、日用品和鲜花的配送服务的频率最高。而生鲜水果这个最大的即时配送业务,则大多由电商平台的配套即时配送平台以及美团、饿了么这样的同城服务类平台掌控。

本文由公众号财经涂鸦(ID:caijingtuya)原创撰写,如需转载请联系涂鸦君。