EH油系统是用来提供高压抗燃油,由它来驱动伺服执行机构,以调节汽轮机各汽阀开度。高压抗燃油是一种三芳基磷酸脂型的合成油,它具有良好的抗燃性和流体稳定性,自燃点高,燃点达665℃,因此当高压抗燃油漏到高温部件时不会引起火灾。但由于高压抗燃油价格贵,具有一定毒性和腐蚀性,不宜在润滑系统内使用,因而设置单独的供油系统。

一、系统组成
(一)油箱
EH油箱能满足1台大机和两台50%小汽轮机的正常用油,由于抗燃油具有一定的腐蚀性,油箱全部采用不锈钢材料。油箱板上有液位开关、磁性滤油器,油箱底部外侧还安装有一组加热器。
油箱除有就地指示式油位计外,还有两个浮子型液位报警装置,安装在油箱顶部,能报警高、低油位;并在极限低油位时,使遮断开关动作。EH油温由指针式温度计和温度控制继电器监控;测温开关来的信号控制继电器,再由继电器操作电磁水阀。当油温超上限值55℃时,电磁水阀打开,冷却水流过冷油器;当油温降到下限值38℃时,电磁水阀关闭。电加热采用浸入式,可自动控制,也可手操。EH系统油温低于10℃应投入油加热装置,注意油位在正常油位之上时才可投入,否则将导致加热器损坏;手动操作时在温度达到20℃应手动停止。磁性过滤器是由永久磁钢组成的,用来吸取EH油中的金属垃圾。
(二)油泵
东方机组EH油泵一般为高压柱塞泵,国产引进型机组一般采用高压叶片泵,EH油泵位于油箱下方,以保证正的吸入压头。系统设有两台EH油泵,正常运行时,一台油泵就能满足需要,另一台处于备用状态;每台泵的吸入口前,截止阀后均装有140mm的滤芯对EH油进行过滤。
(三)EH油箱控制组件
控制块安装在油箱顶部,由滤芯、单向阀、截止阀、溢流阀等部件组成。每泵的出口均装有两个并列的10μm滤芯,在滤网两侧装上差压继电器,能在油压偏离正常值时提供报警信号。两个单向阀装于每个泵的出口侧高压油路中,防止油倒流。备用泵处于备用状态时,其入口和出口截止阀均开,靠单向阀关闭出口。截止阀正常全开,手动关闭其中一路,不影响机组的运行,以便对该路的滤网、单向阀以及泵等进行在线维修或更换。溢流阀安装在单向阀和截止阀之后的高压油路中,用来监视油压,并且当油压高于设计值时,将油送回油箱,确保系统正常的工作压力。
(四)蓄能器
EH供油系统一般都设有其中5个高压蓄能器;一个容量较大的高压蓄能器装在油箱旁边,用来维持溢流阀的压力,以防止发生振动,另外四个高压蓄能器分别装置在位于汽轮机左右两侧的主汽门—调节组件旁边。在压力回油管道上还有低压蓄能器,它们作为缓冲器在负荷快速卸去时,吸收回油。国产引进型机组的高压蓄能器是活塞式的,而低压蓄能器采用球胆式;东方机组蓄能器都为皮囊式。高压蓄能器内充高压氮气,压力一般为9.1MPa;低压蓄能器内充低压氮气,压力一般为0.21MPa。
(五)回油管路
回油管道共有三条,一条压力回油,两条无压回油。有压力回油是油动机活塞正常回油,回油管上装有低压蓄能器;油动机动作排油时,油首先排入低压蓄能器,然后由低压蓄能器向外排出,使一定压力的油经过滤网和一个冷油器返回油箱。回油管路上还装有一个弹簧加载逆止阀,在过滤器或冷油器堵塞以及其他原因造成回油压力过高时,该阀自动打开,使回油直接通过该阀回到油箱。
(六)自循环滤油系统和自循环冷却系统
除建设较早的电厂外,EH油系统中一般都设有独立的自然循环滤油系统,以保证油系统的清洁度,使系统长期可靠运行。自循环冷却系统是为了确保在非正常工况下的EH油温而设立的,其冷油器的冷却水受电磁水阀控制,也可以人工起动或停止。抗燃油再生装置与自循环滤油装置共用一个油泵。
(七)电气控制组件
电气箱内装有许多压力开关和压力传感器,用于报警信号和监视;还有可以对备用油泵起动开关进行遥控试验的电磁阀。当电磁阀动作时,使高压工作油管路泄油,随着压力下降,备用油泵压力开关就使备用油泵起动。由于用节流孔隔开,试验时母管压力不会受到影响。备用油泵起动开关的试验还可以通过打开现场的手动常闭阀来进行。
二、抗燃油再生装置

抗燃油再生装置是一种用来储存吸附剂和使抗燃油得到再生的精滤器装置,它能使油保持中性、去除水份。它主要由硅藻土滤器和波纹纤维滤器组成;前者降低EH油中酸值及水和氯的含量,后者除去硅藻土和来自EH油中的其它颗粒。二者串联后安装在独立循环滤油的管路中,打开再生装置前的截止阀,即可以使再生装置投入运行。每个滤器还装有一个压力表,当滤器需要检修时,此压力表就指出不正常的高压力。在机组投运的第一个月,此装置每周应连续运行八小时,以后根据油的化验结果决定是否需要将其投入。
三、EH油系统运行
在机组的起动过程中,EH供油系统的起动是比较早的,一般盘车投入之后,即可起动EH油系统进行油循环。提前进行油循环的目的是检查油系统的完好程度,净化油系统,提高油质,并将油温调节至所需的温度。下面以某机组EH油系统在各种情况下的运行方式。
(一)预起动
在机组起动期间,EH油系统应进行升温、升压, 严禁在EH油温低于20℃时起动EH油系统,若油温低于20℃时应投入油加热装置。油温合格后,可起动油泵,起动前打开截止阀。 油箱中的油通过金属滤芯,经油泵输出,经过滤芯、单向阀汇集于高压母管,母管上有溢流阀和蓄能器维持正常工作压力,并由再生装置保证EH油油质。高压母管给阀门油动机、EH油试验块、AST母管提供EH油。正常情况下,AST电磁阀、隔膜阀堵住了AST母管 泄油 ;起动前,汽轮机未挂闸,AST母管的EH油经过中压主汽门,通过无压力回油管直接返回油箱。
(二)起动、正常负荷运行
汽轮机挂闸后,AST电磁阀关闭,AST母管压力建立,从而可实现对各阀门的控制。起动方式不同,阀门开启顺序不一样,不同的阶段,阀门的开度也不一样。这些都是由DEH控制器根据所选择的方式、操作员操作命令和机组本身的状态确定,通过电液转换机构来实现的。具体情况将在控制部分作详细介绍。
(三)非正常运行
机组手动跳闸、机械超速、电气超速、低真空、低润滑油压、低EH油压、推力轴承磨损以及用户选择的脱扣方式都属“非正常运行”方式。一旦汽轮机脱扣,EH油通过危急脱扣控制组件或隔膜阀直接排放至油箱。
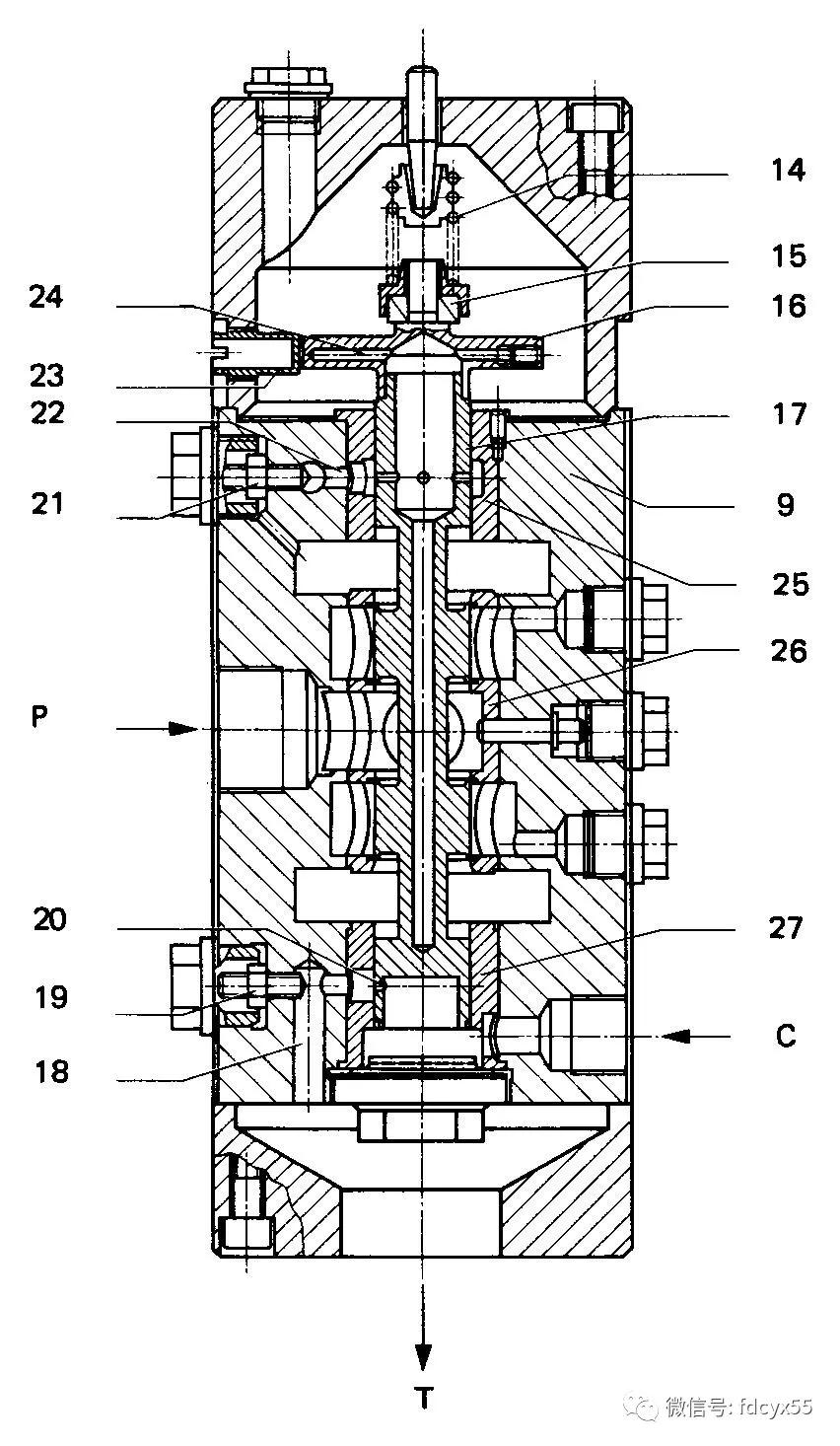
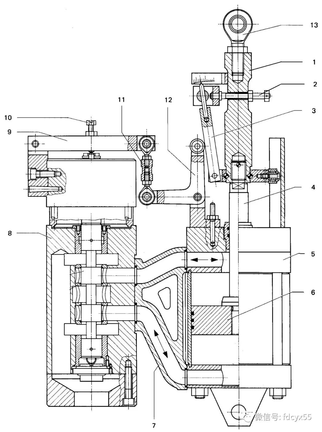
EH油系统重要部件附图














