本文大兰液压厂家给大家介绍下插装阀的典型结构及其基本组件。
1 插装阀概述
二通插装阀是插装阀基本组件(阀芯、阀套、弹簧和密封圈)插到特别设计加工的阀体内,配以盖板、先导阀组成的一种多功能的复合阀。因每个插装阀基本组件有且只有两个油口,故被称为二通插装阀,早期又称为逻辑阀。
1.1 二通插装阀的特点
二通插装阀具有下列特点:流通能力大,压力损失小,适用于大流量液压系统;主阀芯行程短,动作灵敏,响应快,冲击小;抗油污能力强,对油液过滤精度无严格要求;结构简单,维修方便,故障少,寿命长;插件具有一阀多能的特性,便于组成各种液压回路,工作稳定可靠;插件具有通用化、标准化、系列化程度很高的零件,可以组成集成化系统。
1.2 二通插装阀的组成
二通插装阀由插装元件、控制盖板、先导控制元件和插装块体四部分组成。图1是二通插装阀的典型结构。

二通插装阀典型结构
图1 二通插装阀的典型结构
控制盖板用以固定插装件,安装先导控制阀,内装棱阀、溢流阀等。控制盖板内有控制油通道,配有一个或多个阻尼螺塞。通常盖板有五个控制油孔:X、Y、Z1、Z2和中心孔a(见图2)。由于盖板是按通用性来设计的,具体运用到某个控制油路上有的孔可能被堵住不用。为防止将盖板装错,盖板上的定位孔,起标定盖板方位的作用。另外,拆卸盖板之前就必须看清、记牢盖板的安装方法。

盖板控制油孔
图2 盖板控制油孔
先导控制元件称作先导阀,是小通径的电磁换向阀。块体是嵌入插装元件,安装控制盖板和其它控制阀、沟通主油路与控制油路的基础阀体。
插装元件由阀芯、阀套、弹簧以及密封件组成(图3)。每只插件有两个连接主油路的通口,阀芯的正面称为A口;阀芯环侧面的称作B口。阀芯开启,A口和B口沟通;阀芯闭合,A口和B口之间中断。因而插装阀的功能等同于2位2通阀。故称二通插装阀,简称插装阀。

插装元件
图3 插装元件
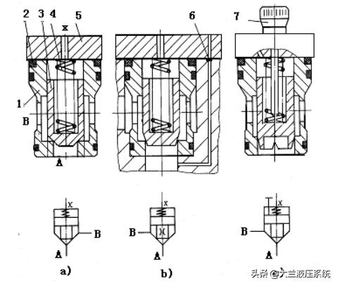
根据用途不同分为方向阀组件、压力阀组件和流量阀组件。同一通径的三种组件安装尺寸相同,但阀芯的结构形式和阀套座直径不同。三种组件均有两个主油口A 和B、一个控制口x,如图4所示。

插装阀基本组件
图4 插装阀基本组件
a)方向阀组件 b)压力阀组件 c)流量阀组件
1-阀套 2-密封件 3-阀芯 4-弹簧 5-盖板 6-阻尼孔 7-阀芯行程调节杆
感谢每一位阅读本文的朋友,你们的理解与支持是我们前进的最大动力。如果觉得本文还不错,欢迎大家点赞,分享,谢谢!想要了解更多液压行业有关资讯,请关注我们微信公众号“大兰液压系统”。
-----责任编辑:大兰企划部(大兰液压)