粉丝福利:关注老顽童头条号,点击进入钠镁股票APP,可获得1次免费诊股机会!
基本面上的风平浪静,止不住超华科技股价像脱缰野马一样的狂奔。
截至12月4日收盘,超华科技连续6个交易日涨停。

从超华科技的基本面上来看,并没有太多能够引爆公司股价大规模上涨的原因。近期控股股东被动减持、去年业绩预喜等消息,看起来都不足以导致公司股价大规模的上涨。
10月27日,超华科技公告,由于公司控股股东、实际控制人之一的梁俊丰,质押给安信证券的股票被卖出232.4万股,合计卖出金额为645.84万元。此次被动减持后,梁俊丰仍持有1.16亿超华科技的股票,占公司总股本的12.45%。
10月26日,超华科技预计全年归属上市公司股东净利润为4685.44万元至6091.07万元,同比增幅在30%以内。公司业绩增的原因是2018 年国内铜箔、覆铜板等电子基材市场行情持续向好。同时,公司不断深化营销体系改革和市场开拓,客户结构得到优化,成为优质上市公司和行业百强龙头企业稳定供应商。
A股3000多家上市公司的年度业绩预告和股权质押被动减持的情况来看,超华科技这种类型的公司,并没有什么特别的地方。
在11月29日和12月3日的两则股票异动的公告声明当中,超华科技也表示没有重要的信息需要披露。
股价的狂飙,完全是资金驱动,各路游资催生了超华科技的疯狂表现。
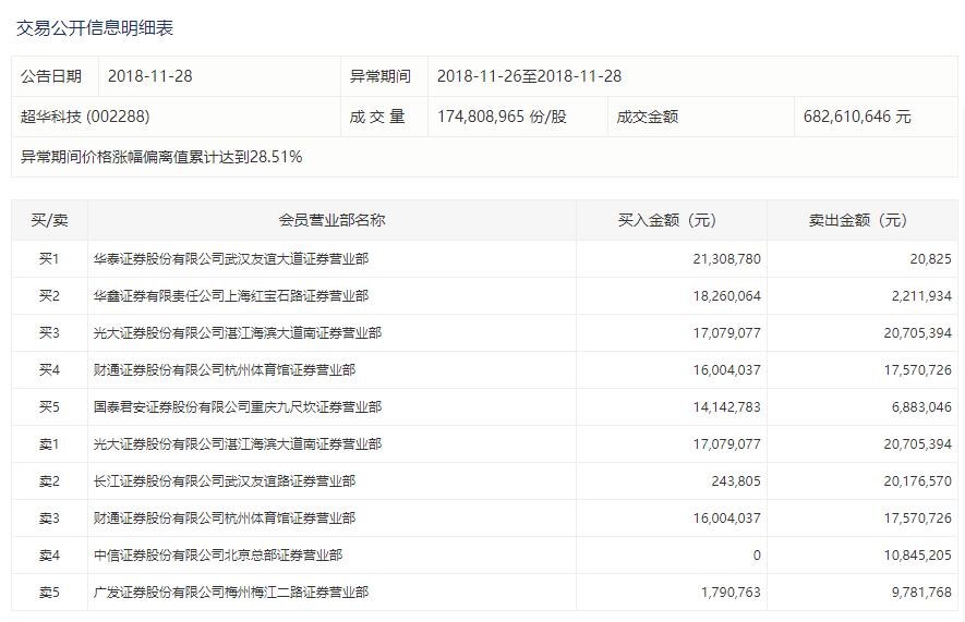
11月28日、29日和30日,超华科技都出现在深交所的异动信息榜单当中,各路游资所在的营业部也就浮出水面。



从上述交易信息曝光的营业部名单可以发现,光大证券股份有限公司奉化(浙江省)南山路证券营业部、华泰证券股份有限公司武汉(湖北省)友谊大道证券营业部两家证券营业部净买入金额超过千万元。
11月28日,华泰证券友谊大道证券营业部买入超华科技2130.32万元,卖出10008元;
11月30日,光大证券奉化南山路证券营业部买入1322.96万元,卖出11.88万元。
龙虎榜数据显示,11月份以来,除超华科技外,华泰证券武汉友谊大道证券营业部还活跃在群兴玩具、新华传媒、摩恩电气、威尔泰、摩恩电气、太空智造、西陇科学、国际实业、大连电瓷、海泰发展和宏达矿业等股票当中,颇有“涨停板敢死队”的味道。
光大证券奉化南山路证券营业部最近以来更是活跃。11月份以来,多只热门股都有该营业部的身影。
公开数据显示,除超华科技外,合金投资、闽东电力、大通燃气、恒立实业、特力A、中迪投资、华塑控股、亚振家居、腾达建设、科创信息、中原股份、开尔新材、弘高创意、正元智慧、亚士创能、华平股份、恒大高新以及东方通信等都有光大证券奉化南山路证券营业部的身影。
最近一次光大证券奉化南山路证券营业部现身的股票是东方通信,今日盘中又几乎触及涨停板,收盘上涨5.47%。

福利彩蛋:24小时内打开钠镁股票APP最新版,有机会领取独家龙头战法!