将涂布完成的产品,经过一定间隙下、一定压力下的两个钢辊,将极片压实到指定厚度的过程。

图1 辊压示意图
辊压设备的功能、原理、辊压质量影响因素
1.1 辊压设备的功能
辊压是指将涂布并烘干到一定程度的锂电池极片进行压实的工艺过程。极片辊压后能够增加锂电池的能量密度,并且能够使黏结剂把电极材料牢固地粘贴在极片的集流体上,从而防止因为电极材料在循环过程中从极片集流体上脱落而造成锂电池能量的损失。锂电池极片在辊压前,必须将涂布后的极片烘干到一定的程度,否则在辊压时会使极片的涂层从集流体上脱落。在辊压时还要控制极片的压实量,压实量过大的极片会对集流体附近的电极材料造成影响,使其不能正常的脱嵌锂离子,并且还会使活性物质互相紧密的粘接在一起,造成其从集流体上很容易脱落的现象。严重时,还会使极片的塑性过大,从而造成辊压后的极片不能进行卷绕,发生断裂现象。
辊压是锂电池极片制造过程中最关键的工艺之一,其辊压的精度在很大程度上影响着锂电池的性能 。
辊压的目的 有以下几点:辊压工艺能够使极片的表面保持光滑和平整,从而可以防止因极片表面的毛刺刺穿隔膜而引起的电池短路隐患,提高电池的能量密度。辊压工艺可对涂覆在极片集流体的电极材料进行压实,从而使极片的体积减小,提高电池的能量密度,提高锂电池的循环寿命和安全性能。
1.2 电池极片辊压的原理
辊压的目的在于使活性物质与箔片结合更加质密、厚度均匀。辊压工序在涂布完成且必须在极片烘干后进行,否则辊压过程中容易出现掉粉、膜层脱落等现象。电池极片为正反两面涂有电性浆料颗粒的铜箔(或铝箔)。电池极片带经过涂布和烘干两道工序后进行辊压。辊压之前,铜箔(或铝箔)上的电性浆料涂层是一种半流动、半固态的粒状介质,由不连接的或弱连接的一些单独颗粒或团粒所组成,具有一定的分散性和流动性。电性浆料颗粒之间存在空隙,这也就保证了在辊压过程中,电性浆料颗粒才能发生小位移运动填补其中的间隙使其在压实下进行相互定位。电池极片辊压可以把它堪称是一种在不封闭状态下的半固态电性浆料颗粒的连续辊压过程,电性浆料颗粒附着在铜箔(或铝箔)上,靠摩擦力不断被咬入辊缝之中,并被辊压压实成具有一定致密度的电池极片,辊压原理如图2所示。

图2 辊压原理示意图
电池极片的辊压与钢材的辊压有较大区别。轧钢时轧件受到外力作用后,先产生弹性变形。当外力增加到某一极限时,轧件开始产生塑性变形。外力增大,塑性变形增加。轧钢纵轧的目的是为了得到延伸。轧钢的过程中分子沿纵向延伸和横向宽展,轧件厚度变小,但密度不发生变化。电池极片是将化合物浆料涂在铝箔或铜箔等基材上,极片的辊压是将极片上的电性浆料颗粒压实,其目的是增加电池极片的压实密度,合适的压实密度可增加电池的放电容量,减小内阻,延长电池的循环寿命。电性浆料颗粒受压后产生位移和变形,极片密度随压力的变化有一定的规律,如图3所示。

图3 极片相对密度随接触压力变化示意图
在 区域Ⅰ 内,随着接触压力不断增大,电性浆料颗粒开始产生了小规模的位移,并且位移在逐渐增大,此时电性浆料颗粒之间的间隙逐渐被填充,此时具体表现为极片带的相对密度随接触压力的增大缓慢增加。
在 区域Ⅱ 内,电性浆料颗粒经过区域Ⅰ内的密度小规模提高后,随着接触压力的增大,电性浆料颗粒开始继续填充颗粒之间的间隙,经过区域Ⅱ内的辊压后,颗粒间的间隙已被挤压密实,此时具体表现为极片带的相对密度随接触压力的增大迅速增加,相对密度提高速度远远高于区域Ⅰ阶段,同时在区域Ⅱ内伴随着电性浆料颗粒的部分变形。
在 区域Ⅲ 内,经过区域Ⅱ内电性浆料颗粒之间空隙被填充满后,颗粒不会再产生位移,但是随着接触压力的增大,电性浆料颗粒开始产生大变形,此时,极片带的相对密度随接触压力的增大不会再迅速增加,极片带出现硬化现象,因此极片带相对密度变化变为平缓曲线。
辊压过程中电池极片上电性浆料颗粒的变化十分复杂。电性浆料颗粒相对密度的提高主要表现在颗粒的位移上,通过位移填充颗粒之间的孔隙,同时小部分颗粒发生变形,之后由于辊压力的提高,电性浆料颗粒在空隙被填充满之后主要发生大变形,此阶段也会发生小部分位移。
1.3 辊压质量影响因素
电池极片辊压设备造成的极片质量问题主要体现在辊压后极片厚度的不均匀性,厚度的不一致导致电池极片压实密度的不一致,压实密度是影响电池一致性能的关键因素 。极片厚度均匀性包括横向厚度均匀性和纵向厚度均匀性,如图4所示,形成横向厚度不均匀性和纵向厚度不均匀性的原因不同。极片 横向厚度不均匀性的主要影响因素 为轧辊弯曲变形、机座的刚度、主要受力件的弹性变形、辊压力、极片宽度等,轧机工作时,由于辊压力的作用,使得轧辊和机座等受力件变形,最终表现为轧辊的挠度变形,使极片在横向出现中间厚两边薄的现象;极片 纵向厚度不均匀性的主要影响因素 为轧辊、轴承、轴承座等的加工精度以及安装精度,关键工件的加工误差会使轧辊转动时作用在极片上的辊压力出现周期性浮动,使极片纵向出现压实厚度不均匀现象。

图4 电池极片示意图
影响极片辊压质量的因素还有张力控制装置、纠偏装置、切片装置、除尘装置等 。在辊压过程中,极片需要有一定的张紧力,张紧力过小,极片容易出现褶皱,张紧力过大,极片容易被拉断。除尘装置可以保证在辊压时,极片表面不会出现因杂质引起的表面缺陷。纠偏装置和切边装置主要是影响极片的切割尺寸精度。
辊压机结构组成及分类
2.1 辊压机基本结构
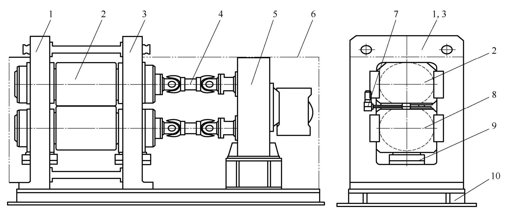
标准配置高精度辊压机为立式安装口字形机架、两辊上下水平布置、下置液压缸向上施压、伺服电机减速器调整辊缝、整体底座、双输出轴减速机分速器通过万向联轴器传动的高精度电池极片辊压机,标准机型辊压机结构示意图如图5所示。

图5 标准机型辊压机结构示意图
1—左机架;2—上辊系;3—右机架;4—万向联轴器;5—双输出轴减速机分速器;6—护罩;7—辊缝调整机构;8—下辊系;9—液压缸;10—底座
如图5所示,该辊压机主要由机架、轧辊、主传动等部分组成。机架为整个系统的基础,需要有足够的刚度和强度,以减小变形。液压装置通过轴承座将辊压力施加到轧辊上,电机和减速机使两轧辊实现同步转动,为轧辊提供扭矩,保证连续辊压过程的实现。辊缝调整机构由两个调隙斜铁组成,调整两轧辊之间的缝隙,满足不同极片的厚度要求。
2.2 辊压机组成
电池极片轧机主要包括 机械主体、液压系统、电气控制系统 等。下面对各个组成系统做一简单介绍。
机械主体 是指轧机的主要机械部分,主要包括支架、轧辊、机座以及其他辅助元件。机械主体的弹性变形、相互运动部件之间的摩擦力等对控制精度有一定的影响。
液压系统 主要是由冷却循环系统、阀控缸动力元件、伺服缸有杆腔油压控制阀组、平衡缸压力控制阀组、油箱及其他辅助元件组成。系统油源采用恒压变量泵,比采用定量泵加溢流阀的方式节能。伺服液压缸的无杆腔连接伺服阀,辊压过程中有杆腔通过减压阀、溢流阀和蓄能器的组合保持一个恒定低压。上下轴承座之间有四个柱塞缸,通过减压阀和溢流阀的组合保持恒压以平衡上辊系的重量。
电气控制系统 主要由低压供电系统、信号测量反馈系统、信号处理显示控制系统和控制信号的转换放大系统组成。低压供电系统主要是一些直流电源,分别给位移传感器、液压伺服放大器、滤波器、液压阀电磁铁等供电。信号反馈系统主要是位移传感器和压力传感器,用于检测液压伺服缸的位置和系统中各个部分的油压。
信号处理显示控制系统 主要是由PLC控制器和触摸屏组成。可以在触摸屏上组态一些控制按钮和显示功能,以控制轧机动作,实时显示轧机运行参数。PLC主要完成模数-数模转换、位移反馈信号的高速计数、压力闭环和位置闭环控制、泵站控制等。控制信号的转换和放大系统主要是指液压伺服放大器,用于将PLC输出的电压控制信号转换为直接控制伺服阀的电流信号。
2.3 辊压设备主机结构形式
①按 轧辊形式 划分。根据客户不同工艺要求,辊压机主机轧辊分为 有弯辊 和 无弯辊 两种形式,如图6所示。无弯辊(标准机型)结构轴承座内部设有消除主轴承径向游隙及轴向定位机构。有弯辊结构通过弯辊缸消除主轴承径向游隙及减小或消除辊面挠度变形。在辊压极片宽度尺寸相对较窄、辊压机辊面宽度与辊面直径比接近1:1、辊压极片时的挠度变形量可忽略不计的情况下,推荐使用不配弯辊的标准机型。在辊压极片宽度尺寸相对较宽、辊压机辊面宽度与辊面直径比大于1.2:1、辊压极片时的挠度变形量大于0.5μm的情况下,推荐使用配有弯辊的机型。

图6 按轧辊形式划分辊压机结构
②按 驱动方式 划分。按驱动方式划分可以分为 单电机驱动结构 和 双电机驱动结构 ,如图7所示。单电机驱动结构采用驱动电机-减速机-分速箱-万向联轴器-轧辊传动形式,通过分速箱实现轧辊机械同步。双电机驱动结构采用驱动电机-减速机-万向联轴器-轧辊传动形式,采用同步电机通过电控实现轧辊机械同步。辊压机驱动转矩与辊压速度、辊面宽度、辊间压力成正比,在辊面宽度、使用压力变化不大的情况下使用速度越快,需要的驱动转矩越大,电机功率越大。辊压机在高速、需要电机功率较大时可采用2台同步电机驱动。

图7 按驱动方式划分辊压机结构
③按 施压方式 划分。按施压方式划分可以分为 机械螺杆压紧结构 和 液压油缸压紧结构 ,如图8所示。机械螺杆压紧结构设备主要通过设定辊缝值使轧辊在极片上加载压力,没有额外的加压装置。因此一般实际压力比较小,辊压极片压实密度受到限制。液压油缸压紧结构液压缸安装于下辊系两端的轴承座下部,置于口字形机架内部下面,采用柱塞缸向上顶起施压,在柱塞缸的作用下,实现下辊系向上移动并施加辊压力。通过顶紧液压缸施压,压力稳定,可以施加较大的压力,是目前主流使用的施压方式。

图8 按施压方式划分辊压机结构
2.4 热辊压机
在国内,大多锂电池极片辊压机在常温下对极片进行辊压,在辊压的过程中,极片的反弹率大,可在对极片辊压前,先把极片加热至一定的温度,再进行辊压,这样做的 目的 在于: 对极片进行干燥处理,减少里面的水分;降低极片在辊压后的反弹率;可消除极片经辊压后留存的一部分内应力;经过加热后,极片上的黏结剂受热软化或处于熔融状态,经过辊压后,可增强活性物质与集流体之间的黏合力,有利于提高活性物质吸液量 。
为加热极片,锂电池轧机辊压前设一个加热箱对极片进行加热,先将加热箱内的空气加热,再通过热空气加热极片,加热效率低。由于加热箱距离轧辊还有一段距离,热量损失快,加热效果不明显。目前辊压机的辊压速度为15~60m/s,当提高生产速度时,为保证加热温度,需提高加温箱温度或者增加加温箱长度,从能耗和空间上考虑,利用加温箱加热不太合适。国内现在应用较广泛的是热辊压机,即先对热辊压机的轧辊进行加热,利用加热后的轧辊对锂电池极片进行辊压。
目前国内外加热轧辊主要采取的方式分为 从轧辊外部加热和从轧辊内部加热 两种,利用电磁感应、热辐射或者热传导加热轧辊辊面,并使其保持在一个恒定的温度范围,主要的几种加热方法如下所述。
① 利用电磁感应从外部加热轧辊 。在轧辊外部设有感应圈,当感应圈接通电源后,电磁感应会在轧辊内部产生涡流,由此加热轧辊。这种加热轧辊方式具有能耗低、热转换率高、在辊压过程中可以精确控制轧辊表面温度等特点。此加热方式存在若干不足,如造价高、在轧辊圆周不易布置电线路等。
② 外设加热箱加热轧辊 。加热箱布置在轧辊的上方或者下方,通过外部高温对轧辊进行烘烤,以空气作为传热介质,将热量传递到轧辊工作面上,达到加热轧辊的目的。但是这种加热方式存在比较严重的问题:轧辊工作面的温度不易控制;轧辊工作面的温度分布不均匀;局部高温对轧辊有伤害;耗能大,能量损失大。
③ 利用电阻丝等电子元件从内部加热轧辊 。一般是采用管状电热元件或者电阻丝,插入工作辊或者支撑辊内部,通过轧辊的一端接通电源,加热轧辊。此种加热方式具有不损害轧辊外部结构、简单易行、设备简单等特点。其加热方式是先加热轧辊芯部,热量从芯部通过热传导传递至轧辊工作面,中间先热的方式,增加了加热过程中轧辊的热应力,对于直径较大的轧辊,热量传递时间长,轧辊工作面温度调整不灵敏,调整周期长,而且在轴承处形成局部高温,造成润滑困难。
④ 利用导热油加热轧辊 。利用导热油加热轧辊是目前国内外采用比较多的一种加热方式。在轧辊内部开有导热油油道,通过旋转接头,将加热后的导热油通入轧辊内部,通过热传导加热轧辊。导热油可在200℃下稳定工作,此种方法安全、环保、噪声小,且导热油循环系统中工艺温度精度高,易于控制导热油的进口温度,再通过控制进口处导热油的流量,使得导热油与轧辊发生强制对流换热,增大导热油与轧辊之间的对流换热系数,增加两者之间的换热量,使轧辊表面保持在一个恒定的温度范围内,且具有较好的均匀性,可以满足大多数轧辊温度要求。
利用导热油热辊压原理是用导热油将轧辊加热以后,利用温度稳定的轧辊对锂电池极片进行热轧。轧辊加热过程示意图如图9所示。

图9 轧辊加热过程示意图
1—加热油箱;2—闸阀;3—泵;4—压力表;5—流量控制装置;6—热电偶Ⅰ;7—热轧辊;8—热电偶Ⅱ;9—配油管道
在轧辊的加热过程中,轧辊的表面温度与加热条件和导热油属性相关。加热过程所使用导热油的属性确定之后,轧辊辊面温度与轧辊流道内的导热油流速及温度紧密相关。
极片的种类不同,对轧辊的要求也不尽相同,极片的性质决定了轧辊辊面的最适宜温度。极片的热轧工艺并无统一加热标准,一般通过实际经验得出,各厂家根据自己的产品要求,对辊压系统进行设置。热轧辊辊面温度的设置,还需要考虑到轧辊材料物性与极片辊压工艺,温度既要满足极片质量的要求,也要考虑轧辊能够承受的应力及形变。
导热油加热轧辊系统具备扰动少和热惯性较大等特点,属于严重滞后系统,当改变导热油的油温和流量时,需要等待较长时间,轧辊辊面温度才会达到相对稳定。在生产过程中,不能直接准确地测量辊面的温度,只能测得导入和导出导热油的温度和流量,此系统为非线性系统,无法线性化,难以实现自动控制。因此,在实际应用中,由于设备使用的环境稳定,往往设定好输入后,便不再轻易更改,保证极片的质量和生产进度。
利用导热油加热的轧辊主要有两种油道结构: 中通型和周边打孔型 。中通型轧辊剖视图如图10所示。中通型结构是在轧辊的芯部加工一个通孔,将导热油从轧辊的一端导入,另一端导出,温度从轧辊的芯部传递至辊面。此结构具备结构简单、加工容易、成本低等特点,但能耗较大,需将整个轧辊加热,不易控制辊面温度。

图10 中通型轧辊剖视图
周边打孔型结构在轧辊的芯部加工有中心孔,在轧辊的四周加工有横向通孔,导热油从轧辊的从动端进入,也从轧辊的从动端流出。此结构能使导热油在轧辊内部保留时间较长,辊面温度分布均匀性较好,加工较为容易,由于横向油道距辊面距离较短,能快速调整辊面温度。图11为热辊压机周边打孔型轧辊剖视图。

图11 热辊压机周边打孔型轧辊剖视图
辊压机连轧生产线
3.1 辊压机连轧生产线的组成及各部分功能
电池极片辊压过程是锂电池生产的关键环节,电池极片的辊压过程就是将电池极片通过轧辊与电池极片之间产生的摩擦力拉进旋转的轧辊之间,极片受压变形的过程。
电池极片轧机系统包括放卷系统、辊压系统和收卷系统,电池极片轧机各系统组成部分:放卷张力系统,辊压速度系统,收卷张力系统,放卷纠偏系统,间隙调整系统,收卷纠偏系统,放卷气胀轴,辊压压力系统,收卷气胀轴,切刀平台,牌坊开合系统,收卷辅助穿带系统,放卷辅助穿带系统。
电池极片轧机系统作为一个复杂的系统,极片轧机设备的各部分系统实现不同的功能,以满足极片轧机的生产。
各部分系统的具体功能 如下:
放卷张力系统 的功能是在极片放卷过程中,利用磁粉制动器对极片的张力进行实时调节;
放卷纠偏系统 的主要功能是通过U型传感器进行偏移量测量,调整极片的左右距离,防止出现跑偏的现象;
放卷气胀轴 的作用是通过充气/放气实现极片卷料的缠绕及换料;
切刀平台 的功能是在放卷处极片卷料即将用完时,切断卷料,实现换卷;
放卷辅助穿带系统 的作用是在穿带过程中,对极片进行夹紧,以防止极片运动;
辊压速度系统 的功能主要是通过变频器控制三相异步电机,实现对极片辊压速度的控制;
间隙调整系统 实现的功能是通过伺服电机调整上、下轧辊间的缝隙,为极片辊压提供要求的厚度;
辊压压力系统 的功能是通过控制气液增压泵调节压力,提供合适的辊压力将电池极片辊压成厚度均匀且密度高的极片;
牌坊开合系统 仅应用于极片轧机设备装配过程,用于轧辊的拆卸和安装;
收卷张力系统 主要应用于极片收卷过程中,利用变频器和收卷电机对极片张力进行实时调节;
收卷纠偏系统 的功能类似于放卷纠偏系统,通过U型传感器进行偏移量测量,调整极片的左右距离,防止出现料卷错层、塔形现象;
收卷气胀轴 的作用是通过充气/放气实现极片卷料的缠绕及换料;
收卷辅助穿带系统 的功能与放卷辅助穿带系统相似,在生产初始化时对极片进行穿带,对极片进行夹紧,防止极片运动。
3.2 辊压机连轧生产线的工作过程
电池极片辊压过程的 基本工作原理 是:放卷气胀轴通过极片轧机的轧辊转动和收卷气胀轴的牵引将电池极片放出,同时放卷系统通过对张力进行实时调节,保证电池极片进入轧辊之前的张力稳定并维持在设定张力值范围内。由于现场环境因素、机械振动、张力波动等原因,造成电池极片出现跑偏的现象,因此在放卷系统中设置放卷纠偏系统,防止极片在辊压过程中出现损坏。电池正确进入极片辊压装置,通过极片轧机的上、下轧辊进行辊压,使极片厚度经辊压后符合标准参数要求。电池极片经过上、下轧辊之后,完成辊压后的极片通过收卷气胀轴进行收卷,同时收卷系统也要保证合理的张力,在收卷处对电池极片进行左右位置的调整,防止极片出现塔形卷现象。
3.3 辊压机连轧生产线生产过程控制
完整的电池极片轧机系统包括轧机轧辊的装卸过程和极片生产过程,在轧机轧辊装卸过程中更多的是需要工人的配合进行操作,涉及电气方面的控制较少。在极片生产辊压过程中,整个生产过程可以概括为 正常生产过程初始化、手动穿带、预生产、连续生产、成品验收 五个阶段。
正常生产过程初始化阶段 ,是指操作工人需要进行的操作,需要将收放卷气胀轴复位、夹紧装置气缸复位,通过对纠偏电机的控制对收放卷纠偏归中。
手动穿带阶段 ,确保收卷电机、轧辊电机、气液增压泵等执行元件处于断电状态,通过控制气胀轴及夹紧装置完成穿带,并进行极片的调整,预调张力,并根据要求对辊缝、辊压力进行初始化设置。
预生产阶段 ,设备以低速进行生产,若生产出的极片符合标准,则进入连续生产阶段,否则停止生产,重新调整进行初始化。
连续生产阶段 ,放卷系统、辊压系统、收卷系统三部分协调配合完成生产。放卷机构,通过张力传感器检测放卷处张力,控制器调节磁粉制动器的转矩,保证恒张力放卷。收卷机构,通过张力传感器检测收卷处张力,控制器调节变频器控制收卷电机的转速,保证张力在合理的范围内。辊压机构,极片轧机的辊压速度决定生产线的生产速度,正常运行状态下,辊压速度不需要实时改变,如果需要改变其生产速度,通过调节变频器改变主电机速度。辊缝调节系统,当辊缝不符合要求时,通过对伺服电机进行调节实现对辊缝的调节。辊压力是保证在辊压过程中,保证系统具有恒定的辊压力,通过压力传感器检测当前的辊压力,并由控制器控制气阀、油阀进行压力调节实时修正。
3.4 辊压机连轧生产线的性能指标
1)放卷机主要技术参数
①放卷轴:带控制阀气胀轴(3英寸,1英寸=2.54cm);
②最大承载能力:600kg;
③最大放卷直径:ϕ600mm;
④张力:10~200N(可调);
⑤纠偏设备:光电纠偏。
2)除尘装置主要技术参数
除尘风斗气缸缸径ϕ25mm,行程80mm。
3)轧机主要技术参数
①设备整体尺寸:约3.6m×1.7m×2.6m(高度不含换辊支架尺寸0.4m);
②机架:“口”字形刚性铸造结构;
③轧辊副工作尺寸:ϕ800mm×800mm(直径×长度);
④轴承座:整体铸造45#钢刚性结构;
⑤主轴承:四列圆柱滚子轴承;
⑥减速机:螺旋锥齿轮减速机;
⑦主电机功率:55kW(380V,50Hz);
⑧辊压线速度:5~60m/min(变频调速);
⑨油缸:缸径ϕ250mm,行程25mm,2支。
4)机械式测厚装置主要技术参数
①测厚仪表:数显千分表(三丰);
②测量精度:±0.001mm;
③厚度范围:0~5mm;
④测量宽度范围:最大值750mm。
5)收卷机主要技术参数
①收卷轴:带控制阀气胀轴3英寸;
②最大收卷直径:ϕ600mm;
③收卷电机功率:1.5kW;
④张力:10~200N(可调);
⑤纠偏边缘控制:≤±0.1mm。
3.5 辊压机连轧生产线的应用案例
下面以某公司生产的ZY800-A800-F电池极片连轧生产线为例,详细介绍电池连轧生产线设备组成及主要功能,设备布置示意图如图12所示。

图12 ZY800-A800-F电池极片连轧生产线设备布置示意图
1)放卷机
本装置位于整条生产线的最前端工序,用来支承待辊压的卷料结构,并将其输送到轧机进行辊压。本装置采用伺服动力,主动送料。采用光电纠偏装置控制料带纠偏,张力控制采用SMC比例阀控制气缸输出设定的张力,加上三菱的张力检测器,形成张力闭环,张力大小可无级调整。放卷轴采用气胀轴。本装置由机架体、直线轴承、光电纠偏装置、气胀轴、伺服电机、气动比例阀、气缸及控制器、导辊等部分组成。
2)前接带装置
用于极片碾压过程中断裂或更换料卷时接片,减少极片的浪费。由接片平板、压杆、气缸、导辊等部分构成。手动操作,压杆气缸控制。
3)除尘装置
本装置由机架体、上毛刷、导向辊等部分组成。主要具有以下功能:通过毛刷清理料带上的粉尘;吸尘器吸走清理出的粉尘。
4)展平(拉伸除皱)装置
①功能:用于消除连续或连续分条涂布正极极片辊压过程中产生的波浪边。
②构成:包括张力隔断牵引部分、摆辊拉伸部分、张力检测部分、牵引穿带装置。
③牵引辊规格:直径ϕ200mm,表面镀硬铬。
④夹送辊规格:直径ϕ120mm,表面包三元乙丙橡胶。
⑤张力控制:PLC+低摩擦气缸+伺服电机闭环调节张力,数显表显示张力值。
⑥张力调节范围:10~1000N。
⑦张力波动:≤±3N。
5)辊压机
辊压机是连轧机生产线中的主要设备。其主要功能是使坯料在轧辊的碾压下,达到合适的厚度。本设备采用恒力结构,丝杠调整辊缝间隙,液压自动压紧,线速度通过无级变频调速来实现。辊压机主要由刚性机架、轧辊副、动力传动系统、液压控制系统、电气控制系统、间隙调整系统、送料板及辊面清洁机构等部分组成。
①轧机牌坊:采用优质碳素结构钢,“口”字形轧机牌坊,主要优点是整体刚性优秀,稳定性好。
②轧辊的技术参数:轧辊的材质为9Cr3Mo系列高合金冷轧辊钢,淬火硬度HRC≥66~68,辊面淬火层深度≥22mm,轧辊径向跳动≤±0.0015mm(在磨床上检测)。主要优点是:表面硬度高、淬硬层深、耐磨性好、加工精度高、光洁度高、防挠度变形。
③轧辊的质量:轧辊的质量是轧机整体性能好坏的关键。因此此次轧辊材料选用专业轧辊厂家生产的Cr3系列优质合金冷轧辊钢,其加工工序严格按照内控标准工艺执行。
④下辊上顶:碾压力控制油缸放置于下轴承座下方。
⑤数显恒隙系统:径向控制轴承游隙;空载时所有部件均受预拉力或预压力,轧机整体刚性优异;伺服电机带动丝杠拖动中间锲铁调整两辊间隙,辊缝调整精度0.001mm。
⑥动力传动系统:55kW电机驱动。
⑦液压系统:采用变频器加异步电动机带动液压泵,比例溢流阀控制输出压力,与压力传感器形成压力闭环保证输出压力精确与稳定。
⑧电气控制系统:PLC控制,触摸屏操作,操作准确、方便、直观。
⑨拆装辊装置:设备备有拆装辊装置,用于设备维修时拆装更换轧辊。
6)辊面清洁
①刮刀清洁:刮刀刮除辊面黏附物,刮刀通过气缸自动控制,并带有2个可调整收集料盒,配负压除尘,保证辊压加速不影响料盒对碎屑的收集。
②布卷清洁(仅负极配置):由放卷轴、收卷轴、减速电机、压紧气缸、气缸固定板、压紧橡胶辊、擦辊布卷、喷液储存罐、喷液分流装置及蠕动泵等组成,喷液储存罐放置于设备外罩内部,方便更换;擦辊布卷直径最大200mm。
工作原理 :减速电机通过收卷轴带动擦辊布从放卷轴低速擦过压紧橡胶辊与轧辊辊面贴合部位,压紧气缸带动橡胶辊将擦辊布压紧在辊面上,喷淋流量通过蠕动泵控制,可连续或者间歇地将液体喷淋到擦辊布上,随着轧辊的转动和擦辊布的低速反向移动,实现对整个辊面的清洁。
7)机械式测厚装置
用于手动对辊压后极片的厚度测量。通过手轮驱动滚珠丝杠拖动测量臂、数显千分表横向往复运动打点测量,测量数值可通过数据线输入电脑。
8)收卷机
收卷装置的作用是将经过辊压后的电极材料呈卷状地缠绕在一定尺寸的芯轴上。为保证料卷边缘齐整,本装置采用自动纠偏收卷方法,通过伺服电机减速机带动收卷轴、光电纠偏装置控制边缘齐整,保证收卷质量。
【每日分享一点知识,有益点赞收藏关注】