生产企业经营过程中环保手续众多,从污染对象来划分,涉及水、气、声、固危废等等。从手续种类来说,比如环评、排污许可申领及换证、应急预案等等之类,下面我们具体来看,如下:
1、企业生命周期环境保护合规管理流程

2、环境影响评价流程

3、排污许可申领流程

4、突发环境事件应急预案工作流程

5、竣工环境保护验收工作流程

6、清洁生产审核流程

7、拆除活动污染防治流程

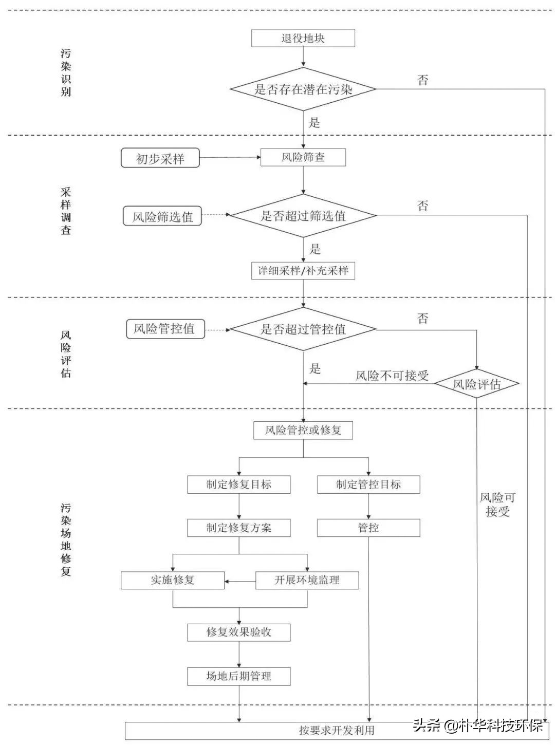
8、场地调查与修复流程

生产企业经营过程中环保手续众多,从污染对象来划分,涉及水、气、声、固危废等等。从手续种类来说,比如环评、排污许可申领及换证、应急预案等等之类,下面我们具体来看,如下:
1、企业生命周期环境保护合规管理流程

2、环境影响评价流程

3、排污许可申领流程

4、突发环境事件应急预案工作流程

5、竣工环境保护验收工作流程

6、清洁生产审核流程

7、拆除活动污染防治流程

8、场地调查与修复流程
