个体户连锁大药房会计怎么做账?29笔业务真账处理案例,赶快收藏
已经退休的大娘之前是市医院的医生,最近和别人一起加盟了一家连锁药店。上周问我有没有合适的人,给她找位会计。好巧不巧的是,我同事家的孩子刚考了初级证书,现在也在学习会计实操做账方法。我就给大娘推荐了。但是这个小姑娘毕竟没有做账的经验,我翻了之前存在电脑上的行业账务处理教程,就给她发了过去。
个体户连锁大药房的29笔业务真账处理案例解析 ,模拟一家大药房来详细介绍大药房的会计核算全流程。
今天也在此分享一下,有从事这方面工作的会计人员的话,可以参考借鉴。
个体户连锁大药房的29笔业务真账处理案例解析
以“北京康星药业大药房连锁燕莎店”的真实经营业务为案例,进行全面讲解会计做账的全流程
该个体户的税务信息

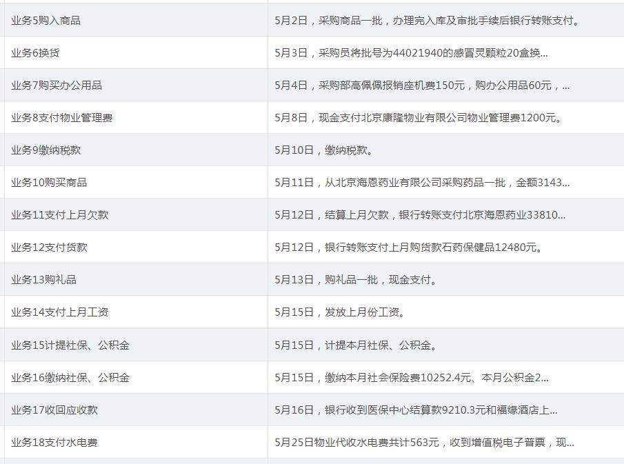
业务1销售收入的账务处理
5月1日,汇总当日销售收入,现金2236元,医保刷卡852.3元,福缘酒店月结收入225元。(注明:收银员每日下班前汇总当日收入并核对无误后将相关单据交会计入账,以后将此重复业务省略于月末一次汇总入账。)
销售收入的记账凭证

入账的原始单据

业务2计提员工福利的账务处理
5月1日,决定发放节庆补贴每人现金100元。本药店共有职工6人。(此处采用简化处理,全部计入“管理费用”,不在其他部门进行核算)
计提员工福利的记账凭证

业务3发放员工福利的账务处理
5月1日,经批准,实际发放节庆补贴每人100元,现金付讫。
发放员工福利的记账凭证

会计入账的原始凭证

业务4出售废纸的账务处理
5月1日,售废纸一批,收现金100元,出纳开收据入账。
出售废纸的记账凭证

入账的原始单据

换货的账务处理
5月3日,采购员将批号为44021940的感冒灵颗粒20盒换回新批号37021392的感冒灵颗粒20盒。
换货的记账凭证

会计的入账凭证

缴纳税款的账务处理
5月10日,缴纳税款。
缴纳税款的记账凭证


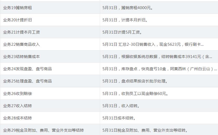
……

29笔大药房会计真账处理案例解析,就先介绍到这里。有从事药店会计工作的人员,可以收藏起来参考备用。
