厦门兴厦控电气有限公司的研究人员李艺强,在 2015 年第 11 期《电气技术》杂志上撰文,介绍 VCF 电保持型的联锁问题。分析原因,提出解决方案,并通过试验验证,确认改进措施,完善该产品的“五防”联锁设计。
VCF真空接触器-熔断器组合电器(见图1)是厦门兴厦控电气有限公司在广泛、深入的市场调查的基础上,结合国外先进的产品技术及经验,自行开发设计的新一代中压开关。
该产品利用能够开断大范围短路故障电流的高压熔断器与可频繁操作的真空接触器组合,产品应用于火力发电厂、冶金、石化、矿厂等工矿企业,作为控制和保护高压电动机、变压器、感应炉等负载开关设备。
产品采用标准的中置式手车结构,配适当前主流的KYN28柜型,满足该柜型的标准“五防”联锁结构方案。方便设计院选型、盘厂配柜、施工单位调试、用户使用,深受市场欢迎。
图1 VCF 真空接触器-熔断器组合电器

1 “五防”联锁
满足GB 3906-2006联锁要求的开关设备“五防”联锁具体如下:
1 )防止误分误合接触器
接触器手车只有在试验位置或工作位置时才能合闸、分闸操作;在手车退出或推进的过程中,接触器无法合闸。
2 )防止带负荷分合隔离触头
接触器处于合闸状态时底盘车联锁使接触器无法退出或推进;只有接触器处于分闸状态时,接触器才可以退出或推进。
3 )防止带电时合接地开关
接触器手车在工作位置时,接地开关操作轴档板锁住,接地开关不能合闸;只有当接触器手车退出到试验位置,接地开关操作轴档板才能解锁,接地开关才能合闸。
4 )防止接地开关关合时送电
当接地开关关合时,联锁装置挡住接触器手车底盘,接触器手车不能从试验位置进入到工作位置。
5 )防止误入带电间隔
接地开关未合闸开关柜下门锁住无法打开;只有接地开关合闸,柜下门才能开启
其中,3、4、5的联锁主要是通过开关柜来实现的,1、2的联锁是通过组合电器与底盘车的联锁来实现的。
下面主要介绍一下VCF组合电器内部的联锁,即接触器合分闸状态与手车位置状态的互锁。
2 VCF 真空接触 - 熔断器组合电器如何实现“五防”联锁
VCF分机械保持型与电保持型,具体是这样区分的:
1 )机械保持型:接触器合闸后,通过机械的保持机构把接触器保持在合闸状态,分闸时依靠分闸线圈的脱扣,接触器在分闸弹簧的作用力下分闸。优点:依靠机械机构保持,无保持电流,更节能,且避免保持线圈发热老化。
2 )电气保持型:接触器在合闸后,通过保持线圈长期通电,依靠保持线圈的吸力把接触器保持在合闸位置。分闸时,保持线圈失电,接触器在分闸弹簧的作用力下分闸。优点:结构简单,减少了机械零件的磨损,操作寿命更长。
由于本次技术改进仅针对电保持型,所以我们以电保持型(直流操作)为例做详细描述。
1 )防止误分误合接触器。
要求:接触器手车只有在试验位置或工作位置时才能合闸、分闸操作;在手车退出或推进的过程中,接触器无法合闸。
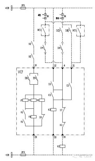
方案:接触器是电磁操作机构,只能电气合闸,所以要让接触器只能在试验位置和工作位置合闸,只要通过电气联锁,合闸指令串接底盘车的试验位置点或工作位置点即可(详见图2)。在合闸线圈的回路(10,20)内串入手车位置试验位置点S8和工作位置点S9。
以就地操作为例,合闸时,转换开关SK转到就地位置,合闸按钮SC起动,合闸继电器K2吸合,起动合闸回路(10,20),当接触器手车在试验位置时,S8闭合,起动继电器K1短接保持线圈YB,合闸到位后S3打开,K1失电,保持线圈YB串入合闸回路,保持线圈长期得电把接触器吸合保持在合闸位置。
或当接触器手车在工作位置时,S9闭合,起动过程同试验位置。当采用遥控合闸时,DCS触点代替合闸按钮SC,工作位置点S9代替实验位置点S8,整个合闸过程的原理同就地操作。
图2 VCF电保持型原理图

2 )防止带负荷分合隔离触头
要求:接触器处于合闸状态时底盘车联锁使接触器无法退出或推进;只有接触器处于分闸状态时,接触器才可以退出或推进。
方案:接触器在合闸状态,联锁杆A(见图3)向下移动,顶到底盘车的滑块B(见图4),滑块B向前移动,顶住底盘车的锁板C(见图4),锁板C保持在水平位置。
通过锁板限制带有销钉D(见图4)的丝杆E(见图4)的转动,从而限制底盘车的摇进摇出。接触器在分闸状态,联锁杆A往上收回,底盘车的滑块B在弹簧的作用下向后回收,给底盘车的锁板C弹起预留的空间,此时摇动底盘车的丝杆E,锁板C在扭簧的作用下弹起,锁板C与销钉D不再干涉,丝杆E可以自由转动,从而实现底盘车自由摇进摇出。
3 碰到问题
以上设计理论上是没有问题的,但实际在使用的时候碰到在这样的问题,即底盘车的位置接点S8,S9的动作时刻与销钉D顶在锁板C上的时刻有时间差。
譬如,在工作位置的时候,底盘车工作位置点S9在丝杆E转动1/4圈的时候S9即从常闭点变成常开点,但销钉D需要等丝杆E转动1/2圈的时候才能顶住锁板C。而当我们的产品是电气保持时,工作位置点S9断开后,接触器立刻分闸,联锁杆A回收,滑块B向后复位,锁板C在扭簧的作用下弹开翘起,没有办法卡住销钉D,造成手车先分闸再可摇出。
虽然这个时候摇接触器手车已先跳接触器,已不是带负荷分隔离触头,同样满足“五防”联锁的要求。但此联锁属被动联锁,无法避免误操作限制带载时摇手车。
图3 联锁杆位置图

4 解决问题
经反复推敲,借鉴机械保持型的原理,机械保持型在工作位置时,摇底盘车丝杆E,工作位置点S9打开,但接触器由机械保持机构保持在合闸位置,联锁杆A顶住滑块B,限制了底盘车锁板C的弹起,销钉D在丝杆E转动1/2圈的时候被锁板C卡死。丝杆E无法再转动。底盘车无法摇出。
图4 底盘车结构图

在试验位置的原理同上。即实现了接触器处于合闸状态时底盘车联锁使接触器无法退出或推进;只有接触器处于分闸状态时,接触器才可以退出或推进。所以,针对电保持型要实现同样的联锁,关键先避免手车位置点S8,工作位置点S9打开时,接触器立刻分闸。
要做到这点,同样要满足接触器只能在试验位置或工作位置时合闸,需要设定S8,S9的自保持回路。即合闸前,需要S8或S9接通,合闸后S8或S9打开后不会影响接触器合闸保持。同时为满足就地及遥控两种合闸方式,增设工作位置及试验位置闭锁分开,方便试验位置的就地控制及工作位置的遥控控制(当试验位置需要遥控时,仅调整VCF外部接线也可以实现,内部接线不变,故不举例说明)。修改二次线路(见图5)。
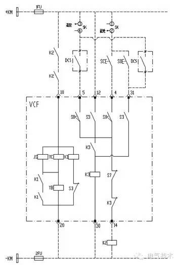
图5 VCF电保持原理图

修改后的图纸,以就地控制为例,转换开关SK转到就地位置,当接触器手车在试验位置时,S8接通,合闸时,合闸按钮SC起动,K2线圈吸合,K2触点带动合闸线圈YC吸合进而YB得电,接触器合闸并保持。
接触器辅助触点S3动作,通过12脚形成自保持回路,当手车丝杆E摇1/2圈时,S8断开,但K2在S3自保持的作用下保持吸合,从而使接触器也保持在合闸状态,这样联锁杆A继续顶住滑块B,使锁板C保持在水平位置,卡住销钉D,从而底盘车无法继续摇动。
这样当接触器合闸后,接触器手车无法摇进摇出。实现了真正的联锁。当采用遥控合闸时,DCS触点代替合闸按钮SC,工作位置点S9代替实验位置点S8,整个合闸过程的原理同就地操作。
5 结论
整个改进过程仅调整了二次线路,机械方面没有新增零件,机械方面的联锁还是同原机械保持型的零件,改动量小,经试验验证可行。做到了方便性、通用性、可靠性。产品通过持续的不断的改善,品质不断的提升,为企业赢得声誉,赢得市场。
电气技术(微信号:dianqijishu)
关注电气工程技术、聚焦学科前沿发展