
各位志同道合的朋友们大家好,我是一个一直在一线互联网踩坑十余年的编码爱好者,现在将我们的经验以及架构实战方案分享出来,和大家一起将技术学深学透,如果喜欢,欢迎关注我,我一般都会在每篇文章后面预告下一专题
高可用(HA)是系统架构设计中必须要考虑的,是指系统所能提供无故障服务的一种能力。
简单的说就是避免因服务器宕机而造成的服务不可用的情况,像Elasticsearch并不会因为一节点的宕机而造成整个搜索服务不可用(后面会分享ES的架构原理)。
如何衡量高可用
假设你的系统全年都是正常提供服务,那么就是说你系统的可用性是100%,当然这个值是理想状态下,一般都是以几个9来表示系统的可用性,99.99的可用性较多,9越多就代表可用性越强,下面来看看这个几个9是如何计算出来的
可用性=平均故障间隔/(平均故障间隔 + 故障恢复平均时间)
如何设计系统的高可用
想要高可用就要避免使用单点,你想想看你的单台服务器再强应用优化的再极致,只要它宕机,就啥都凉凉了,所以需要多台机器也就是需要集群,方*论法**中叫冗余。只是有了集群是不能完全满足复杂业务的高可用的,我们要让系统在当前节点宕机的情况下,自己进行切换到好的节点去,这即所谓的故障转移。所以我们现在设计高可用系统的目标明确了,
那就是:冗余 + 故障转移
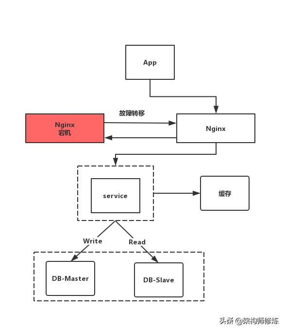
我们来先看看当前大部分互联网公司的系统架构:

看上图你会想到什么地方会出现不可用的情况?
1,从客户端到反向代理Nginx这块,这个1台nginx是会可能发生故障的,所以这里可以再冗余一台Nginx,可以利用linux的 keeplived进行探测可用性,当一台Nginx挂了之后,责会自动转移到另一台Nginx机器上来,从而保证高可用。

2,从反向代理到后端服务service这块,反向代理这块,目前最受欢迎的是nginx,性能方面表现也很好,nginx能够自动探测后端服务的可用性,只需在nginx,config配置多台后端服务就行了。

3,从后端服务到缓存这块,缓存这块推荐使用redis主从同步方案来达到高可用,redis主从同步加上sentine哨兵机制来自动探活redis实例。

4,从后端服务到写数据库这块,这里可以采用双主机制,一台给线上使用,另一台冗余,当线上那台挂了才会阶梯过来使用写功能,同样是通过linux的keepalived进行自动探活。

5,从后端服务到读数据库这块,这里同样是将读库部署多台,例如部署2台,通过代码段增加连接池组件进行路由读库和探活。

设计系统高可用延伸思路
上面介绍了我们在宏观方面怎么设计系统高可用,其实我们在编码的时候除了故障转移方案,同样需要考虑很多东西来保证系统的可用性,主要想体现在,超时机制、降级、限流等
超时机制
在我们系统中其实大部分会调用三方接口,而这个三方接口一般是合作公司的或者是公司其他部门提供的,我们并不清楚对方接口的性能情况,有些接口在并发稍大一点的情况下会出现返回很慢,一直占用当前资源,使得我们大量的请求阻塞等。所以这块我们需要对此进行设置合理的超时时间,来快速结束这些慢请求,来保证我们系统的可用性。
我们线上就有一个业务发生过类似的事情,对方接口在我们一定并发的时候经常很慢很慢才会出现结果,最后造成我们OOM,最终发现是这个业务程序员没有合理设置超时时间造成的。
那么这个超时时间应该设置多少呢,这个并不是绝对的,需要我们根据自己的业务以及接口情况加上多次分析线上时间,来合理设置,可以不停的对其设置直到业务愉快的进行。
降级
降级也是互联网中老生常谈的话题,那么我们使用降级方案如何来保证系统的可用性呢,分析自己的业务,在面对流量剧增的时候,例如,秒杀,大促等这些剧增的大流量,可以将不影响本次业务的流程也砍掉,不去调用了,直接走核心业务。其实各大电商都是采取这种方案来保证系统的可用性的。
限流
限流是,本来我系统只能抗住10万并发,然后现在我们运营搞了什么牛逼的大促,搞的来了10倍的流量,那么系统就把瞬间不能处理的流量给截断,直接返回给用户,用户可以待会儿再试。所以限流就是为了保证系统的高可用而限制住大流量的情况发生。
总结
今天分享了什么是高可用架构,以及高可用架构的设计思路关键点即故障转移、超时机制、降级、限流等,欢迎大家交流,一起把技术学深学透,大家喜欢就帮忙点点赞,转发,拜谢!
下一集预告:互联网架构另一个设计点:可扩展系统的设计有福利相送,敬请期待!