柚子网小编今天除了要教大家使用美国官网查询美国近似商标以外,还要告诉大家一个查询全球商标更便捷高效的平台,柚子网实时对接官网数据,不需要翻墙也不需要翻译,就能快速精准检索出商标结果!
美国官网商标检索教程
1、进入美国商标局官网(https://www.uspto.gov/)
2、从首页选择“Trademarks”,点击“Searching trademarks”

3、点击“Search our trademark database (TESS)”

4、点击“Basic Word Mark Search”检索文字商标

此处在检索框里输入需要检索的字符,下拉菜单选择“Combined Word Mark”,点击“Submit Query”进行检索;点击“Serial or Registration Number”输入申请或者注册号查询已申请的在先商标;点击“Owner Name and Address”输入申请人名称/地址查询。

文字/设计化商标结构化检索:点击“Word and/or Design Mark Search (Structured) ”

在“Search Term搜索词”栏输入检索的字符,查询栏选择Basic Index,再在“搜索词”栏输入国际分类号,比如009(必须输入3位数字),查询栏选择International Class,两个条件之间用“AND”进行关联。如果想要在同一类别上,查询含有空格的两个关键词,可以用“and”把两个关键词关联起来,例如:“HUA”and“WEI”,点击“Submit Query”进行检索。
设计化/图形商标检索在“Search Term搜索词”栏输入设计编码,在查询栏选择“Design Code”再在“搜索词”栏输入国际分类号,比如009(必须输入3位数字),查询栏选择International Class,两个条件之间用“AND”进行关联,点击“Submit Query”进行检索。

高级检索:点击“Word and/or Design Mark Search (Free Form) ”

在“Search Term搜索栏”输入需要检索的内容,如(telephone)[GS] and "HUWEI"[BI] and "live"[LD] and "009"[IC] ,其中GS代表商标指定的商品或服务,BI代表第一种方法讲过的Basic Index,LD代表商标状态有效或无效,IC代表商标国际分类号。其他参数的简称编码可根据页面下方的“US Trademark Field Codes”表格中选择,点击“Submit Query”进行检索。

5、检索结果依次显示,点击申请号、商标名称或者状态进去查看任意商标的详情信息。


柚子网美国商标检索教程
1、进入柚子网uz83.com
2、从首页点击“国家”,从下拉菜单里选择“美国”,在搜索框里输入需要检索的字符,进行普通检索;或者可点击高级检索选择检索条件进行图形检索或查询商标。
柚子网美国商标普通检索:

柚子网美国商标高级检索-文字检索:

柚子网美国商标高级检索-图形检索:输入关键词,再在搜索字段选择对应的检索条件,两个条件之间用“AND”关联,点击检索。

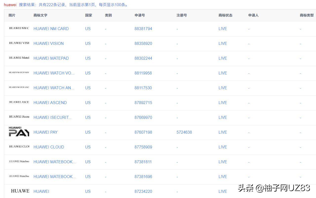
3、点击搜索后,下方依次显示近似的在先商标检索结果。

4、点击任意商标,查看该商标的详情信息。

(由于页面大小限制原因,更多商标详情信息往下拉)
官网的检索结果与柚子网检索结果对比(此处以商标“HUAWEI”为例)


(由于页面大小限制原因,更多检索结果往下拉至翻页)
商标详情页对比:



由此对比可见,柚子网的商标检索结果与美国商标局官网检索结果数据一致,且柚子网商标检索快速、精准、步骤方便简单。